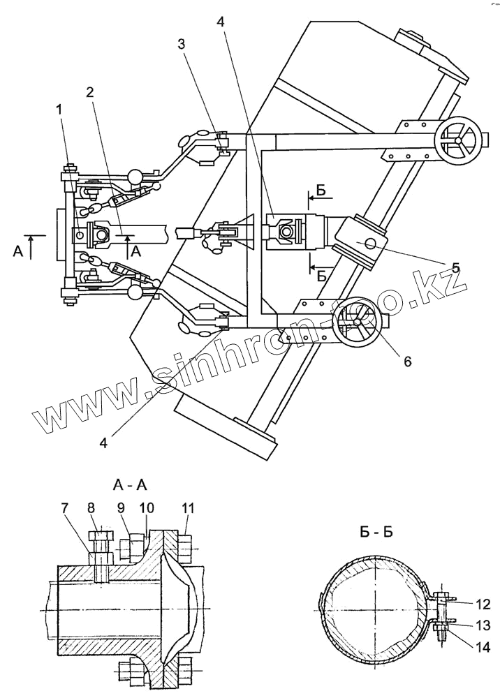
Каталог запасных частей к технике: МТЗ-320 МК. Оборудование щеточное
Щ15-4714005-Б
1
2
3
4
4
5
6
7
8
9
10
11
12
13
14
| Позиция на иллюстрации | Заводской номер детали | Название детали | |
|---|---|---|---|
| Щ15-4714005-Б | Щ15-4714005-Б | Оборудование щеточное | |
| 1 | Щ15-4714015-01 | Фланец | |
| 2 | 352-2102010-Б3 | Вал карданный | |
| 3 | 82.6-4714007 | Палец | |
| 4 | 82.6-4714090 | Ограждение | |
| 5 | Щ15-4714010-Б | Щетка с приводом | |
| 6 | Щ15-4714120-Б | Каток опорный | |
| 7 | М10-6Н.6.019 | Гайка | |
| 8 | M10-6gx25.88.35.019 | Болт | |
| 9 | М12-6Н.6.019 | Гайка | |
| 10 | 4598166048 | Шайба 12 ОТ | |
| 11 | M12-6gx35.88.35.019 | Болт | |
| 12 | M8-6gx50.88.35.019 | Болт | |
| 13 | 4598166046 | Шайба 8Т | |
| 14 | М8-6Н.6.019 | Гайка |
Содержащиеся в справочниках-каталогах запасные части и детали не предлагаются к продаже, а носят исключительно информационный характер