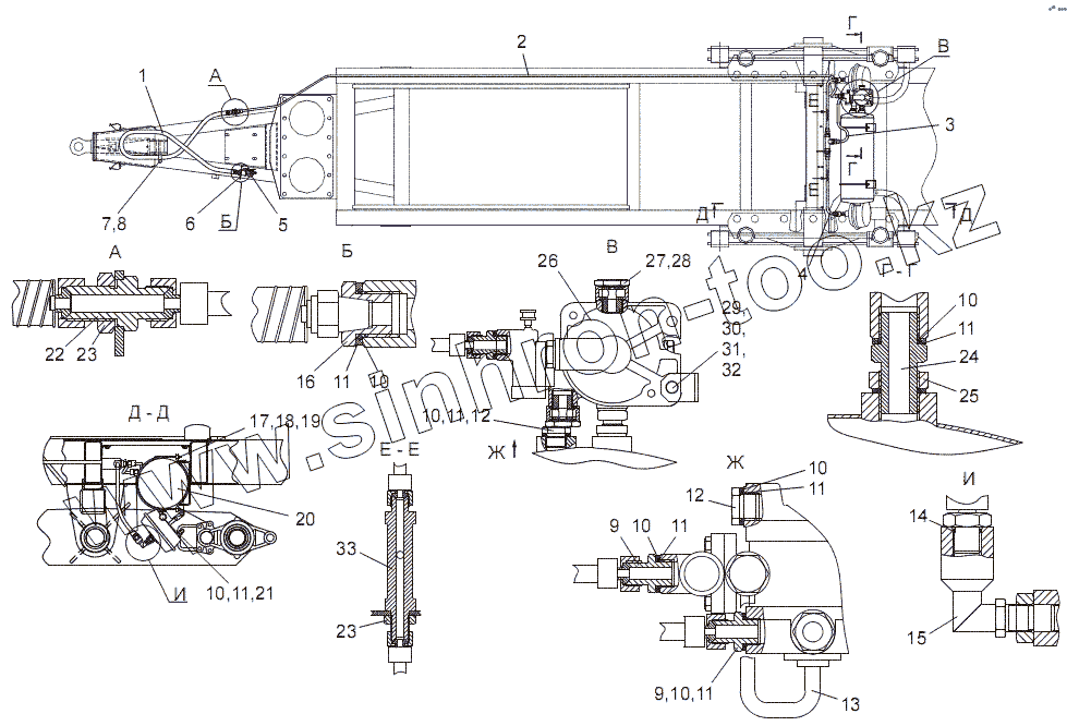
Каталог запасных частей к технике: МТЗ МПТ-461.1. ПЛ9-4500000 Пневмосистема
ПЛ9-4500000
1
2
3
4
5
6
7
8
9
9
10
10
10
10
10
10
10
11
11
11
11
11
11
11
12
12
13
14
15
16
17
18
19
20
21
22
23
23
24
25
26
27
28
29
30
31
32
33
| Позиция на иллюстрации | Заводской номер детали | Название детали | |
|---|---|---|---|
| ПЛ9-4500000 | ПЛ9-4500000 | Пневмосистема | |
| 1 | 105.069.46.000-02 | Шланг тормозной | |
| 2 | 177.000-06 | Шланг тормозной 177.000-06 | |
| 3 | 177.000 | Шланг тормозной 177.000 | |
| 4 | 105.069.46.000-23 | Шланг тормозной 105.069.46.000-23 | |
| 5 | БУ У1 105.069.51.000 | Головка соединительная | |
| 6 | 4598711356 | Шплинт 1.2x750 | |
| 7 | 52.98.710-12 | Хомутик | |
| 8 | M6-6gx35.88.35.019 | Болт | |
| 9 | ПЛ9-4500004 | Штуцер | |
| 10 | Кольцо 020-025-30-2-2 | Кольцо 020-025-30-2-2 | |
| 11 | ПЛ9-4500012 | Шайба | |
| 12 | ПЛ9-4500013 | Пробка | |
| 13 | ПЛ9-4500060 | Трубопровод | |
| 14 | Кольцо 013-017-25-2-2 | Кольцо 013-017-25-2-2 | |
| 15 | ПЛ9-4500050 | Угольник | |
| 16 | ПЛ9-4500008 | Переходник | |
| 17 | ПЛ9-4500007 | Стремянка | |
| 18 | М6-6Н.6.019 | Гайка | |
| 19 | 4598166045 | Шайба 6Т | |
| 20 | 105.069.17.000-01 | Ресивер | |
| 21 | 105.069.03.000 | Клапан слива конденсата | |
| 22 | ПЛ9-4500002 | Штуцер | |
| 23 | М20х1.5-6Н.04.019 | Гайка | |
| 24 | ПЛ9-4500001 | Штуцер | |
| 25 | ГМ42-4500011 | Гайка | |
| 26 | 105.069.02.000-02 | Воздухораспределитель | |
| 27 | ПЛ9-4500003 | Болт | |
| 28 | Кольцо 025-029-25-2-2 | Кольцо 025-029-25-2-2 | |
| 29 | М10-6gх35.88.35.019 | Болт | |
| 30 | М10-6Н.6.019 | Гайка | |
| 31 | С10.01.019 | Шайба | |
| 32 | 4598166027 | Шайба 10Т | |
| 33 | ПЛ9-4500040 | Тройник |
Содержащиеся в справочниках-каталогах запасные части и детали не предлагаются к продаже, а носят исключительно информационный характер