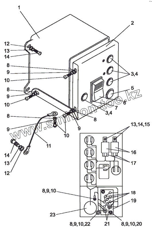
Каталог запасных частей к технике: МТЗ МЛПТ-354М. Щиток приборов
МЛ131-3831095
1
2
3
3
4
4
5
6
6
7
8
8
8
8
8
8
8
9
9
9
9
9
9
9
10
10
10
10
10
10
11
12
12
13
13
13
14
14
14
15
16
17
18
19
20
21
22
23
| Позиция на иллюстрации | Заводской номер детали | Название детали | |
|---|---|---|---|
| МЛ131-3831095 | МЛ131-3831095 | Щиток приборов | |
| 1 | МЛ131-3831200 | Каркас | |
| 2 | МЛ131-3831310 | Панель | |
| 3 | А12-1 | Лампа | |
| 4 | ПД70-3803-Е1 | Фонарь контрольной лампы | |
| 5 | ВК12-1 | Выключатель | |
| 6 | П147-01.17 | Переключатель | |
| 6 | ВК343-01.17 | Выключатель | |
| 7 | 80-3801021 | Гнездо выключателя | |
| 8 | С4.01.019 | Шайба | |
| 9 | 4598166023 | Шайба 4 | |
| 10 | B.M4-6gx10.58.019 | Винт | |
| 11 | МЛ131-3831350 | Провод | |
| 12 | С6.01.019 | Шайба | |
| 13 | 4598166045 | Шайба 6Т | |
| 14 | B.M6-6gx10.58.019 | Винт | |
| 15 | М6-6Н.6.019 | Гайка | |
| 16 | 90.3747 | Реле | |
| 17 | 607605 | Колодка гнездовая | |
| 18 | Д237Б | Диод | |
| 19 | МЛ131-3831365 | Плата | |
| 20 | 363-0001001-31 | Бонка | |
| 21 | 2Д202Д | Диод | |
| 22 | М4-6Н.6.019 | Гайка | |
| 23 | СШ36У15Г-2 | Розетка |
Содержащиеся в справочниках-каталогах запасные части и детали не предлагаются к продаже, а носят исключительно информационный характер