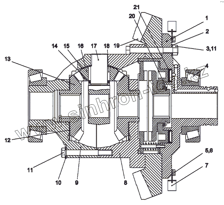
Каталог запасных частей к технике: МТЗ МЛ-131. Редуктор. Дифференциал
МЛ131-2403010
1
2
3
4
5
6
7
8
9
10
11
11
12
13
14
15
16
17
18
19
20
21
| Позиция на иллюстрации | Заводской номер детали | Название детали | |
|---|---|---|---|
| МЛ131-2403010 | МЛ131-2403010 | Дифференциал | |
| 1 | МЛ131-2403050 | Корпус блокировки | |
| 2 | 2522-2403023 | Пластина стопорная | |
| 3 | М12-6Н.6.019 | Гайка | |
| 4 | 7517А | Подшипник | |
| 5 | M10-6gx20.88.35.019 | Болт | |
| 6 | 4598186067 | Шайба 10 ОТ | |
| 7 | МЛ131-2403080 | Крыльчатка | |
| 8 | МЛ131-2403061 | Корпус дифференциала | |
| 9 | МЛ131-2403062 | Крышка дифференциала | |
| 10 | 2522-2403024 | Пластина стопорная | |
| 11 | 2522-2403034 | Болт | |
| 12 | 2522-2403049 | Шайба | |
| 13 | 2522-2403048 | Шестерня полуосевая | |
| 14 | 2522-2403063 | Втулка | |
| 15 | 2522-2403025-Б | Шайба сателлита | |
| 16 | 2522-2403055 | Сателлит | |
| 17 | 2522-2403062 | Крестовина | |
| 18 | 5х29.8А2 | Ролик | |
| 19 | МЛ131-2402011 | Шестерня ведомая | |
| 20 | 2С70 | Кольцо | |
| 21 | МЛ131-2403057 | Манжета |
Содержащиеся в справочниках-каталогах запасные части и детали не предлагаются к продаже, а носят исключительно информационный характер