Каталог запасных частей к технике: МТЗ БЕЛАРУС МПТ-461.1. Устройство опорно-поворотное
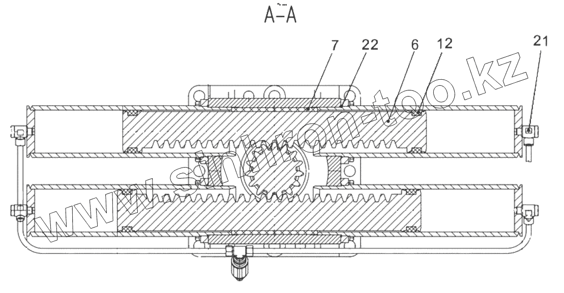
6
7
12
21
22
| Позиция на иллюстрации | Заводской номер детали | Название детали | |
|---|---|---|---|
| ГМ42М-01000 | ГМ42М-01000 | Устройство опорно-поворотное | |
| 1 | ГМ42М-01010 | Гильза | |
| 2 | ГМ42М-01020 | Колонна | |
| 3 | ГМ42М-01070 | Трубопровод | |
| 4 | ГМ42М-01070-01 | Трубопровод | |
| 5 | ГМ42М-01001 | Корпус | |
| 6 | ГМ42М-01002 | Шток-рейка | |
| 7 | ГМ42М-01003 | Подшипник скольжения | |
| 8 | ГМ42-0700006 | Гайка | |
| 9 | ГМ42М-01004 | Крышка | |
| 10 | ГМ42М-01005 | Стакан | |
| 11 | ГМ42-0700107 | Пыльник | |
| 12 | KDSB 1000 0750 225 CX | Уплотнение поршневое | |
| 13 | ГМ42М-01006 | Заглушка-щуп | |
| 14 | ГМ42М-01007 | Пробка | |
| 15 | Болт М8-6gx20.45.0115 | Болт | |
| 16 | Болт М16х1,5-6gx40.109.40Х.0115 | Болт | |
| 17 | Шайба Н95.01.08кп05 | Шайба | |
| 18 | Шайба 8.65Г.0115 | Шайба | |
| 19 | Шайба 16.65Г.0115 | Шайба | |
| 20 | Кольцо 019-023-25-2-2 | Кольцо 019-023-25-2-2 | |
| 21 | 101407.1 | Соединение | |
| 22 | Кольцо 115-025-58-2-2 | Кольцо | |
| 23 | Кольцо 180-185-36-2-2 | Кольцо 180-185-36-2-2 | |
| 24 | Кольцо 205-210-36-2-2 | Кольцо 205-210-36-2-2 | |
| 25 | 7520 | Подшипник 7520 | |
| 26 | 2007128 | Подшипник 2007128 | |
| 27 | Масленка 1.2.Ц6 | Масленка 1.2.Ц6 | |
| 28 | VRF02S | Дроссель односторонний с обратным клапаном | |
| 29 | CAST 100507.1 | Штуцер | |
| 30 | CAST 1007007.1 | Тройник |
Содержащиеся в справочниках-каталогах запасные части и детали не предлагаются к продаже, а носят исключительно информационный характер