Каталог запасных частей к технике: МТЗ БЕЛАРУС МПТ-461.1. Пневмосистема
1
1
2
2
3
3
4
4
5
6
7
8
9
9
10
10
10
10
10
10
10
11
11
11
11
11
11
11
12
12
13
14
15
16
17
18
19
20
21
22
23
23
24
25
26
27
28
29
30
31
32
32
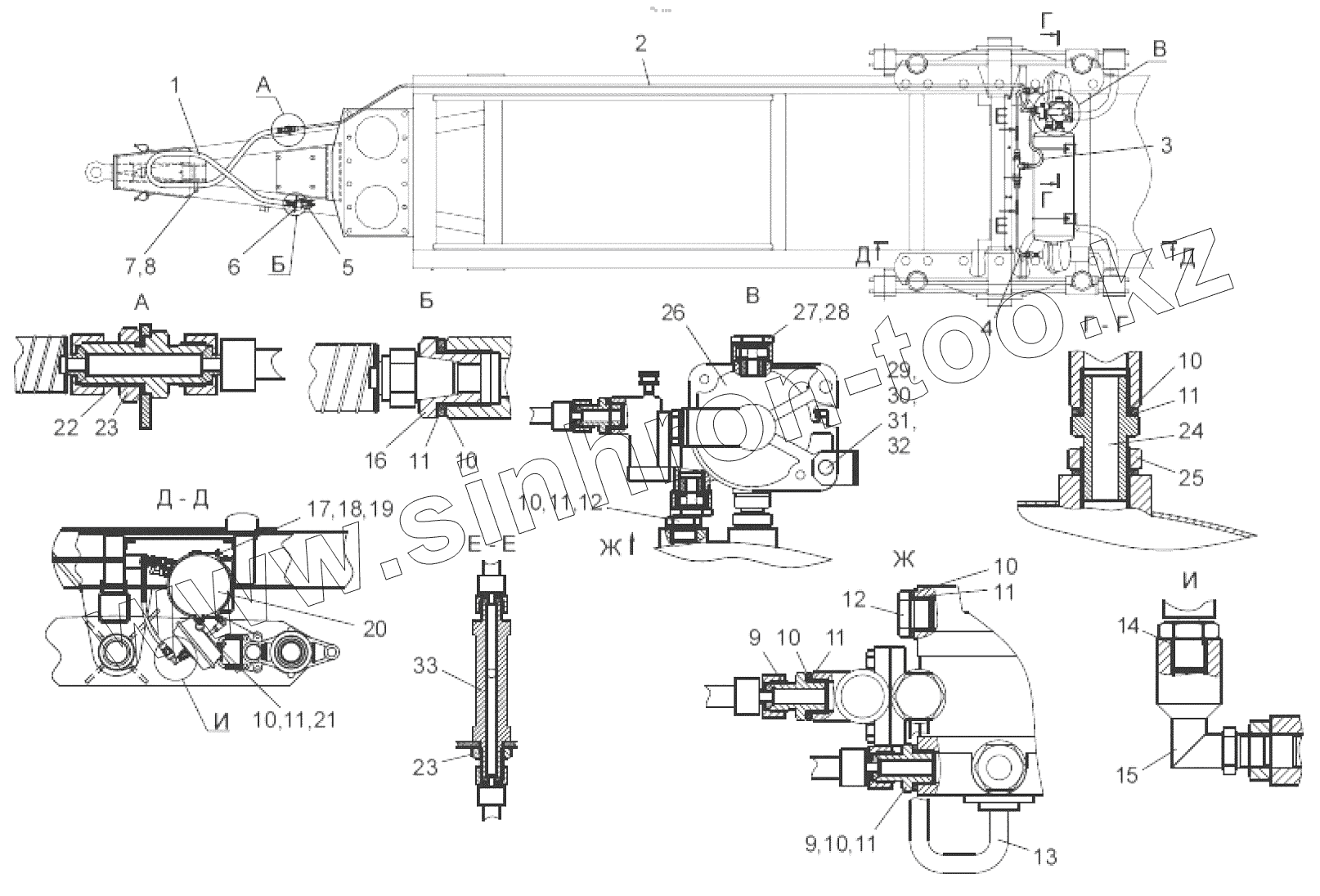
| Позиция на иллюстрации | Заводской номер детали | Название детали | |
|---|---|---|---|
| ПЛ9-4500000 | ПЛ9-4500000 | Пневмосистема | |
| 1 | 030-3506093 | Шланг гибкий | |
| 1 | 105.069.46.000-02 | Шланг тормозной | |
| 2 | 030-3506077 | Шланг гибкий | |
| 2 | ШКЯМ177.00-06 | Шланг | |
| 3 | 010-3506061 | Шланг | |
| 3 | ШКЯМ177.00 | Шланг | |
| 4 | 030-3506093 | Шланг гибкий | |
| 4 | 105.069.46.000-23 | Шланг тормозной 105.069.46.000-23 | |
| 5 | 105.069.51.000 | Головка соединительная | |
| 6 | Проволока 1,0-0-С | Проволока | |
| 7 | Хомутик 52.98.710-12 | Хомутик | |
| 8 | Болт М6-6gx35.88.35.019 | Болт | |
| 9 | ПЛ9-4500004 | Штуцер | |
| 10 | Кольцо 019-023-25-2-2 | Кольцо 019-023-25-2-2 | |
| 11 | ПЛ9-4500012 | Шайба | |
| 12 | ПЛ9-4500013 | Пробка | |
| 13 | ПЛ9-4500060 | Трубопровод | |
| 14 | Кольцо 013-017-25-2-2 | Кольцо 013-017-25-2-2 | |
| 15 | ПЛ9-4500050 | Угольник | |
| 16 | ПЛ9-4500008 | Переходник | |
| 17 | ПЛ9-4500007 | Стремянка | |
| 18 | Гайка М6-6Н.6.019 | Гайка М6-6Н.6.019 | |
| 19 | Шайба 6Т | Шайба 6Т | |
| 20 | 105.069.17.000-01 | Ресивер | |
| 21 | 105.069.03.000 | Клапан слива конденсата | |
| 22 | ПЛ9-4500002 | Штуцер | |
| 23 | Гайка М20х1,5-6Н.04.019 | Гайка | |
| 24 | ПЛ9-4500001 | Штуцер | |
| 25 | ГМ42-4500011 | Гайка | |
| 26 | 105.069.02.000-02 | Воздухораспределитель | |
| 27 | ПЛ9-4500003 | Болт | |
| 28 | Кольцо 013-017-25-2-2 | Кольцо 013-017-25-2-2 | |
| 29 | Болт М10-6gx35.88.35.019 | Болт | |
| 30 | Гайка М10-6Н.6.019 | Гайка М10-6Н.6.019 | |
| 31 | Шайба С 10.01.019 | Шайба | |
| 32 | Шайба 10 | Шайба 10 |
Содержащиеся в справочниках-каталогах запасные части и детали не предлагаются к продаже, а носят исключительно информационный характер