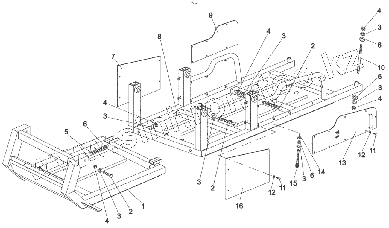
Каталог запасных частей к технике: МТЗ БЕЛАРУС МПТ-461.1. Ограждение нижнее
Л82-8408010
Л82-8408010
1
2
2
2
3
3
3
3
3
3
3
4
4
4
4
4
5
6
6
6
6
7
8
9
10
11
11
12
12
13
14
15
16
| Позиция на иллюстрации | Заводской номер детали | Название детали | |
|---|---|---|---|
| Л82-8408010 | Л82-8408010 | Ограждение нижнее | |
| 1 | Л82-8408030 | Ограждение переднее | |
| 2 | Болт М16-6gx120.88.35.019 | Болт | |
| 3 | Шайба 16 ОТ | Шайба | |
| 4 | Гайка М16-6Н.6.019 | Гайка | |
| 5 | Болт М16-6gx100.88.35.019 | Болт | |
| 6 | Шайба С16.01.08кп.019 | Шайба | |
| 7 | Л82-8408095 | Панель | |
| 8 | Л82-8408080 | Ограждение | |
| 9 | Л82-8408100 | Панель | |
| 10 | Л82-0000017 | Шпилька | |
| 11 | Болт М8-6gx14.88.35.019 | Болт М8-6gx14.88.35.019 | |
| 12 | Шайба 8Т | Шайба 8Т | |
| 13 | Л82-8408105 | Панель | |
| 14 | Шайба С16.01.08кп.019 | Шайба | |
| 15 | Болт М16-6gx120.88.35.019 | Болт | |
| 16 | Л82-8408096-01 | Панель |
Содержащиеся в справочниках-каталогах запасные части и детали не предлагаются к продаже, а носят исключительно информационный характер