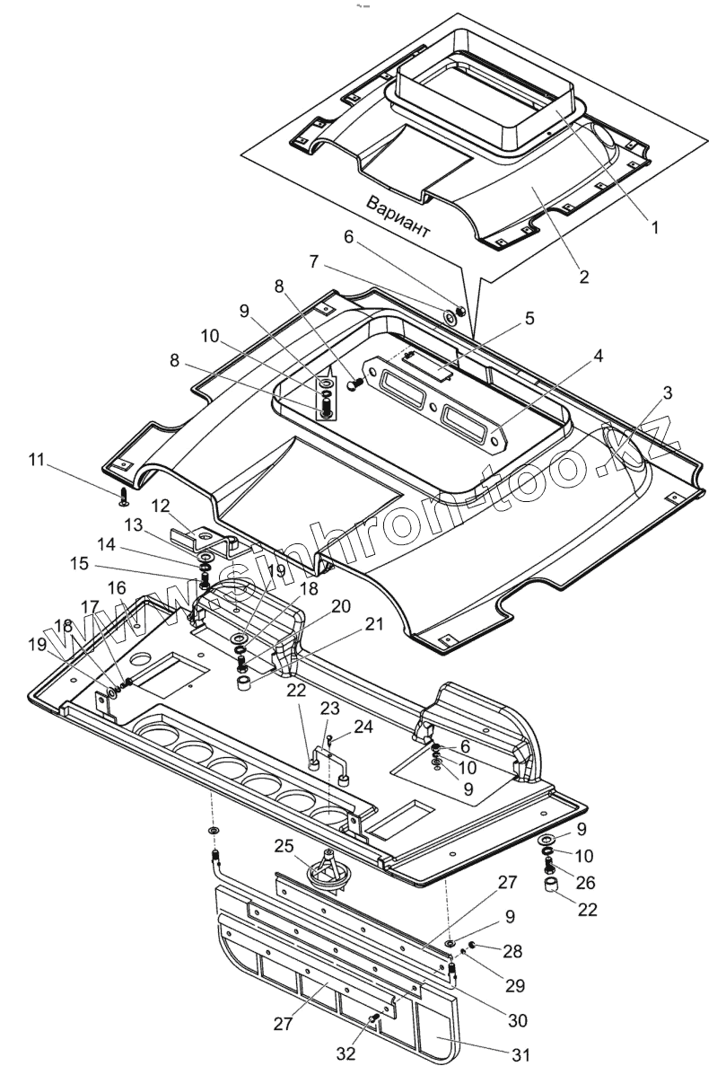
Каталог запасных частей к технике: МТЗ БЕЛАРУС 1502. Установка верхнего пояса. Панель. Козырек
3022-6707005
2522-6707005
822-8204030
1522-8101090-Б
1522-8101090-Б-02
1
2
3
4
5
6
6
7
8
8
9
9
9
9
10
10
10
11
12
13
14
15
16
16
17
18
18
19
19
20
21
22
22
23
24
25
26
27
27
28
29
30
31
32
| Позиция на иллюстрации | Заводской номер детали | Название детали | |
|---|---|---|---|
| 3022-6707005 | 3022-6707005 | Установка верхнего пояса | |
| 2522-6707005 | 2522-6707005 | Установка верхнего пояса | |
| 822-8204030 | 822-8204030 | Козырек | |
| 1522-8101090-Б | 1522-8101090-Б | Панель | |
| 1522-8101090-Б-02 | 1522-8101090-Б-02 | Панель | |
| 1 | 2522П-6707027 | Рамка | |
| 2 | 2522П-6707200 | Панель | |
| 3 | ОТ2522-6707201 | Панель 2 | |
| 4 | 80-8100011-Б | Крышка | |
| 5 | 80-8100012 | Заслонка | |
| 6 | ГайкаМ6-6Н.6.019 | Гайка | |
| 7 | 2522-6105021 | Шайба | |
| 8 | ВинтВ.М6-6gх40.58.019 | Винт В.М6-6gх40.58.019 | |
| 9 | ШайбаС6.01.019 | Шайба | |
| 10 | 4598166045 | Шайба 6Т | |
| 11 | 80-6700167 | Кнопка | |
| 12 | 3022-8101100 | Кронштейн | |
| 13 | ШайбаС16.01.019 | Шайба С 16.01.019 | |
| 14 | 4598166070 | Шайба 16ОТ | |
| 15 | БолтМ16-6gх25.88.35.019 | Болт М16-6gх25.88.35.019 | |
| 16 | 1522П-8101110 | Панель | |
| 16 | 1522П-8101110 | Панель | |
| 17 | БолтМ8-6gх25.88.35.019 | Болт | |
| 18 | 4598166046 | Шайба 8Т | |
| 19 | ШайбаС8.01.019 | Шайба | |
| 20 | БолтМ8-6gх75.88.35.019 | Болт | |
| 21 | А30.04.017-01 | Колпачок | |
| 22 | А30.04.017 | Колпачок | |
| 23 | 1522-8104105 | Скоба | |
| 24 | Шуруп2-4х16.019 | Шуруп | |
| 25 | 1522-8104100 | Дефлектор | |
| 26 | БолтМ6-6gх30.88.35.019 | Болт М6-6gх30.88.35.019 | |
| 27 | 70-8204014 | Держатель | |
| 28 | ГайкаМ4-6Н.6.019 | Гайка | |
| 29 | 4598166023 | Шайба 4 | |
| 30 | 80П-8204011 | Ось | |
| 31 | 70-8204011-А | Козырек | |
| 32 | ВинтВ.М4-6gх10.58.019 | Винт В.М4-6gх10.58.019 |
Содержащиеся в справочниках-каталогах запасные части и детали не предлагаются к продаже, а носят исключительно информационный характер