Каталог запасных частей к технике: МТЗ БЕЛАРУС 1502. Бак
2103-4608200
1
2
3
3
4
5
5
6
6
6
7
7
8
9
9
10
10
11
12
12
13
14
14
15
16
17
18
19
20
20
21
22
22
23
24
25
26
27
28
29
30
31
31
31
31
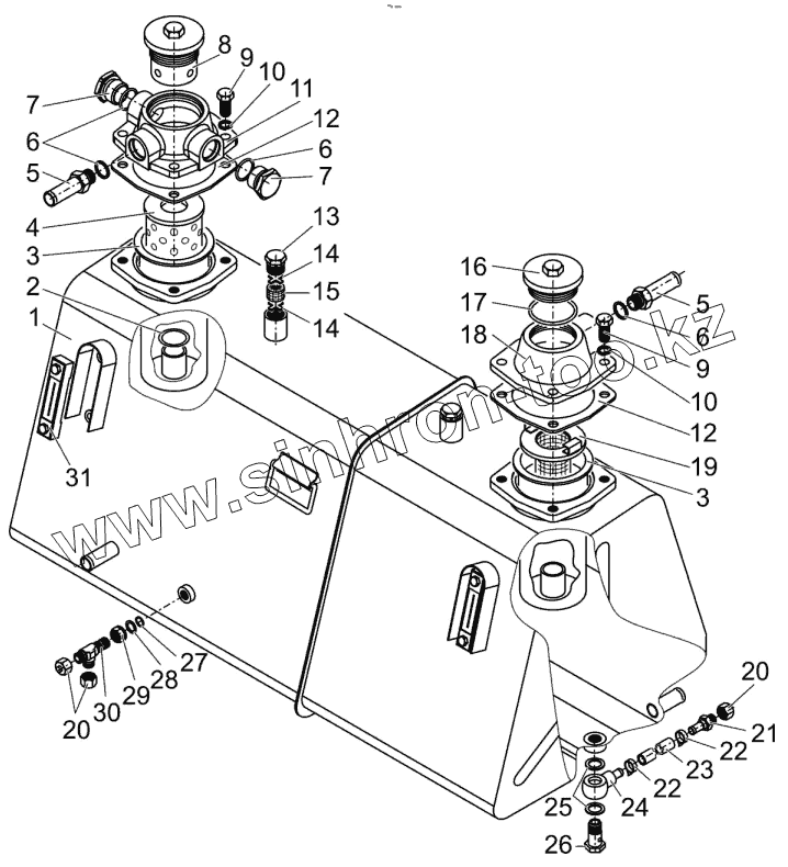
| Позиция на иллюстрации | Заводской номер детали | Название детали | |
|---|---|---|---|
| 2103-4608200 | 2103-4608200 | Бак | |
| 1 | 2103-4608210 | Бак | |
| 2 | Кольцо042-050-46-2-4 | Кольцо 042-050-46-2-4 | |
| 3 | 822-4608020-А | Корпус фильтра | |
| 4 | ЭФОМ635-1-19УХЛ2 | Элемент фильтрующий | |
| 5 | 85-4607034 | Штуцер | |
| 6 | Кольцо027-032-30-1-4 | Кольцо | |
| 7 | 80-4608021 | Заглушка | |
| 8 | 822-4608030 | Пробка (12-21) | |
| 9 | БолтМ8-6gx25.88.35.019 | Болт М8-6gx25.88.35.019 | |
| 10 | 4598166046 | Шайба 8Т | |
| 11 | 2522-4608211 | Крышка | |
| 12 | 822-4608112 | Прокладка | |
| 13 | 2522-4608059 | Пробка сапуна | |
| 14 | 2522-4608062 | Шайба сапуна | |
| 15 | 2522-4608063 | Фильтр | |
| 16 | 2103-4608202 | Пробка | |
| 17 | Кольцо066-071-30-1-4 | Кольцо 066-071-30-1-4 | |
| 18 | 1522-4608211 | Крышка | |
| 19 | 2103-4608240 | Фильтр | |
| 20 | Н.036.12.010 | Заглушка | |
| 21 | 2102-4608320 | Труба | |
| 22 | NORMATORRO16-27/971 | Хомут с червячной резьбой 16-27 | |
| 23 | 354-3500303-Б-06 | Шланг | |
| 24 | С80-4607380 | Труба | |
| 25 | 40-4607038-А-01 | Шайба | |
| 26 | 40-4607032 | Болт | |
| 27 | Кольцо017-021-25-2-2 | Кольцо | |
| 28 | 354-3400036 | Шайба защитная | |
| 29 | 354-3400015 | Гайка | |
| 30 | 354М1-3400012 | Тройник | |
| 31 | FL.213 | Указатель уровня масла | |
| 31 | CLA12M12NT | Указатель уровня масла | |
| 31 | LS1271-T-M12 | Указатель уровня масла | |
| 31 | LVA20SAM12P01 | Указатель уровня масла |
Содержащиеся в справочниках-каталогах запасные части и детали не предлагаются к продаже, а носят исключительно информационный характер