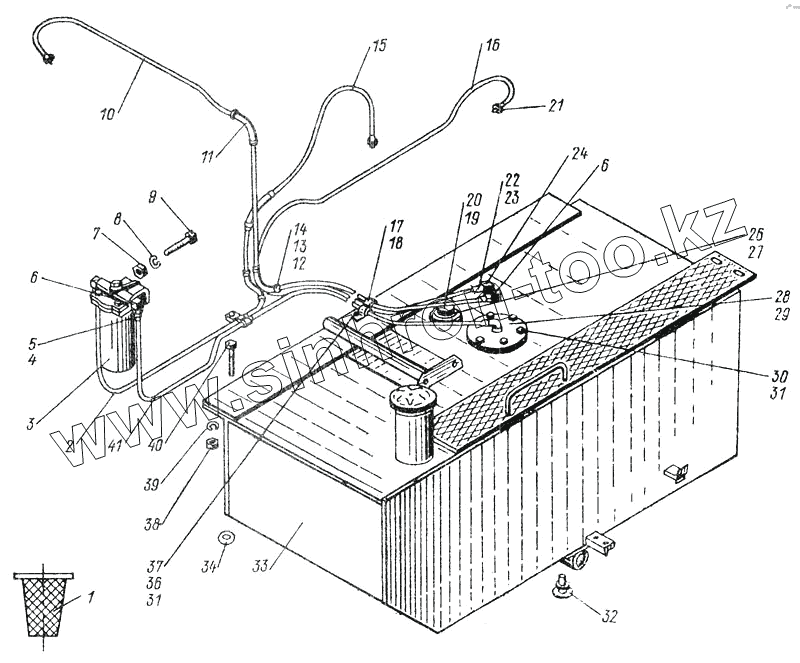
Каталог запасных частей к технике: МоАЗ 6014. Топливный бак 6442-1101010
1
2
3
4
5
6
6
7
8
9
10
11
12
13
14
15
16
17
19
20
21
22
23
24
26
27
28
29
30
31
31
32
33
34
36
37
38
39
40
41
| Позиция на иллюстрации | Заводской номер детали | Название детали | |
|---|---|---|---|
| 6442-1101010 | 6442-1101010 | Топливный бак | |
| 1 | 546П-1101052 | Фильтр | |
| 2 | 546П-1104042 | Трубка | |
| 3 | 204А-1105510-Б | Фильтр | |
| 4 | 314802 | Муфта | |
| 5 | 405641 | Гайка накидная | |
| 6 | 379053 | Угольник | |
| 7 | 250510 | Гайка | |
| 8 | 252135 | Шайба | |
| 9 | 201457 | Болт | |
| 10 | 546П-1104045 | Трубка | |
| 11 | 546-3509283 | Рукав | |
| 12 | 297582 | Лента | |
| 13 | 297580 | Пряжка | |
| 14 | 297575 | Шплинт | |
| 15 | 546П-1104090 | Трубка | |
| 16 | 546П-1104048 | Трубка | |
| 17 | 448923 | Кляммер | |
| 19 | 200-3806026 | Прокладка | |
| 20 | БМ-146А | Датчик топлива | |
| 21 | 445871 | Гайка | |
| 22 | 314710 | Гайка | |
| 23 | 314803 | Муфта | |
| 24 | 379055 | Угольник | |
| 26 | 220078 | Винт | |
| 27 | 252133 | Шайба | |
| 28 | 546П-1104470 | Труба всасывающая | |
| 29 | 546П-1104474-Б | Прокладка | |
| 30 | 201417 | Болт | |
| 31 | 252134 | Шайба | |
| 32 | 546П-1101060 | Пробка | |
| 33 | 6442-1101010 | Топливный бак | |
| 34 | 252016 | Шайба | |
| 36 | 250508 | Гайка | |
| 37 | 201420 | Болт | |
| 38 | 250558 | Гайка | |
| 39 | 252138 | Шайба | |
| 40 | 201587 | Болт | |
| 41 | 546В-1104028 | Трубка |
Содержащиеся в справочниках-каталогах запасные части и детали не предлагаются к продаже, а носят исключительно информационный характер