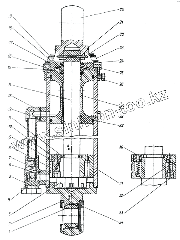
Каталог запасных частей к технике: МоАЗ 6014. Амортизатор 546П-2915306-01
1
2
3
4
5
6
7
8
9
10
11
12
13
14
15
16
17
18
19
20
21
22
23
24
25
26
27
28
29
30
31
32
33
34
| Позиция на иллюстрации | Заводской номер детали | Название детали | |
|---|---|---|---|
| 546П-29153061-01 | 546П-29153061-01 | Амортизатор в сборе | |
| 1 | Подшипник | Подшипник | |
| 2 | 546-2915380 | Уплотнитель | |
| 3 | 251043 | Гайка | |
| 4 | 546П-2915339 | Прокладка | |
| 5 | 546П-2915338 | Ограничитель клапана | |
| 6 | 546-2915336 | Пружина | |
| 7 | 546П-2915334 | Клапан компенсационный | |
| 8 | Шарик | Шарик | |
| 9 | 546П-2915342 | Поршень амортизатора | |
| 10 | 546-2915354-А | Ограничитель клапана | |
| 11 | 546-2915366 | Полукольцо | |
| 12 | Кольцо | Кольцо | |
| 13 | 546П-2915400 | Трубопровод | |
| 14 | 546П-2915332 | Шток | |
| 15 | 546П-2915324 | Корпус грязесъемника | |
| 16 | Кольцо | Кольцо | |
| 17 | 546П-2915322-А | Манжета штока | |
| 18 | 546П-2915319-10 | Пружина | |
| 19 | 546П-2915318-10 | Кольцо нажимное | |
| 20 | 546П-2915374 | Головка верхняя | |
| 21 | 258254 | Шплинт | |
| 22 | 258073 | Шплинт | |
| 23 | 546-2915386-10 | Кожух защитный | |
| 24 | 546П-2915328 | Грязесъемник | |
| 25 | 546П-2915330-10 | Гайка накидная | |
| 26 | 546П-2915408 | Винт стопорный | |
| 27 | 546П-2915312-10 | Направляющая | |
| 28 | 262541 | Пробка | |
| 29 | Кольцо | Кольцо | |
| 30 | 546-2915350 | Седло клапана | |
| 31 | 546П-2915308-10 | Цилиндр с головкой | |
| 32 | 546-2915348 | Пружина | |
| 33 | 546-2915346-А | Седло клапана | |
| 34 | 449754 | Кольцо | |
| 35 | 546П-2915316-10 | Втулка |
Содержащиеся в справочниках-каталогах запасные части и детали не предлагаются к продаже, а носят исключительно информационный характер