Вернуться на главную
Поиск
Каталоги запчастей к технике
Спецтехника
МоАЗ
40484-21
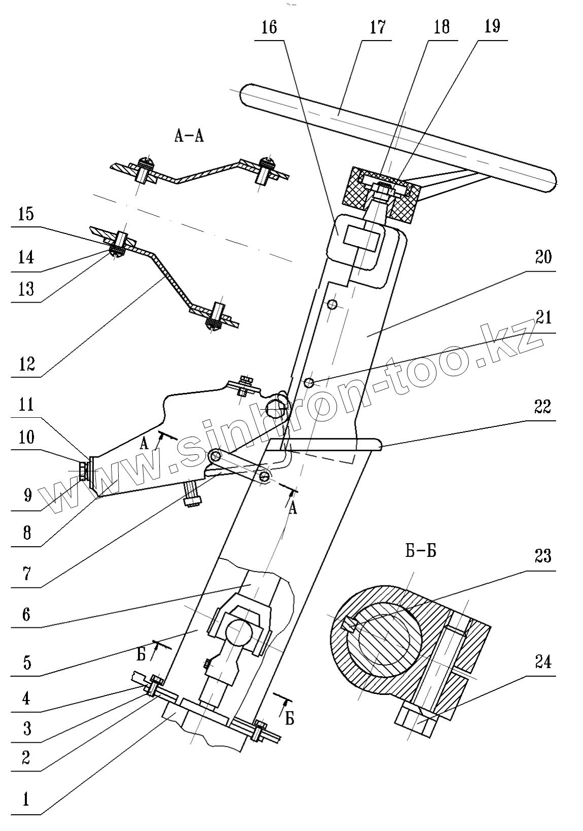
Установка рулевой колонки
Каталог запасных частей к технике: МоАЗ 40484-21. Установка рулевой колонки
zoom-in
zoom-out
enlarge
shrink
circle-right
circle-left
file-text2
info
cart
Тип техники
Не выбрано
Легковые автомобили
Грузовые автомобили и прицепы
Автобусы
Сельхозтехника
Спецтехника
Двигатели
Мототехника
Марка
Не выбрано
Ammann
BOMAG
CARMIX
CASE IH
Changlin
ChengGong
Dimex
Doosan
DYNAPAC
Foton
HAMM
Hidromek
Hitachi
Hyundai
JCB
JLG
John Deere
Komatsu
LIEBHERR
LiuGong
Lonking (LongGong)
Luneng
MANITOU
Mitsuber
New Holland
PENGPU
RM-Terex
SANY
SDLG
SEM
Shantui
Shehwa HBXG
Soosan
TIGARBO
VOGELE
Volvo
WAY
WIRTGEN
XCMG
XGMA
Xiamen
YTO
Yuchai
Zoomlion
Автокран
АЗСМ
Алтайлесмаш
Амкодор
АОМЗ
Атек
АТЗ
Балканкар Рекорд
БелАЗ
Беловеж
Борекс
Брянский Арсенал
Булат
ВЭКС
ГАЗ
Геомаш
Гидромаш
Донекс
Дормаш
Дормашина
Дорэлектромаш
ДЭЗ
ЕлАЗ
ЗЗГТ
Ижнефтемаш
Канаш-электрокар
КЗКТ
ККЗ
Клевер
Клинцовский автокрановый завод
КМЗ
КМЗ 1 Мая
Ковровец
Коммаш
Кранэкс
КЭЗ
КЭМЗ
ЛЗА
МАЗ
МЗИК
МЗКМ
МЗКТ
Михневский РМЗ
МоАЗ
Мозырский МЗ
МТЗ
ОЗП
Онежец
ПАО "ТЗА"
ППС Детва
Промтрактор
ПТЗ
Раскат
СпецАгрегат
ТВЭКС
ТТМ
УВЗ
Угличмаш
УЗТМ
ХТЗ
ЧЗКМ
ЧСДМ
ЧТЗ
ЭКСКО
ЭКСМАШ
ЮрМаш
Модель
Не выбрано
40481 (2003)
40484-21
4055-21
6014 (2002)
Схема
>
Не выбрано
Схема деления автопогрузчика МоАЗ-40484-21 на составные части
Подвеска двигателя
Устройство пусковое подогревательное ПЖД-44
Устройство пусковое подогревательное ПЖД-30
Система питания топливом
Привод управления двигателем
Система очистки воздуха
Система выпуска отработавших газов
Система охлаждения двигателя
Установка вентилятора
Привод вентилятора
Ролик натяжной
Рамка радиатора
Кожух вентилятора
Установка ГМП БелАЗ
Передача гидромеханическая
Картер коробки передач
Картер гидромеханической передачи
Вал ведущий гидромеханической передачи
Вал диапазонный
Вал реверсивный
Вал ведомый
Насос гидромеханической передачи
Маслозаборник и полнопоточный фильтр
Фильтр тонкой очистки масла
Картер гидротрансформатора
Гидротрансформатор
Фрикцион
Коробка золотниковая
Клапан корректирующий
Механизм управления
Привод насоса
Клапан подпорный
Редуктор согласующий
Установка трубопроводов
Передача карданная (до 01.06.03)
Передача карданная (с 01.06.03)
Опора промежуточная
Мост передний (до 01.01.02)
Мост передний (с 01.01.02)
Редуктор переднего моста
Дифференциал переднего моста
Водило
Мост задний (до 01.01.02)
Мост задний (с 01.01.02) без блокировки дифференциала
Мост задний (с 01.01.02) с блокировкой дифференциала
Редуктор заднего моста без блокировки дифференциала
Редуктор заднего моста с блокировкой дифференциала
Дифференциал заднего моста
Пневмопривод блокировки дифференциала заднего моста
Коробка отбора мощности
Установка коробки отбора мощности и муфты (до 01.12.01)
Установка коробки отбора мощности и муфты (с 01.12.01)
Муфта (до 01.12.01)
Муфта (с 01.12.01)
Рама (до 28.01.00)
Рама (с 28.01.00)
Подвеска заднего моста
Цилиндр подвески
Установка колес
Установка рулевого управления
Вал карданный
Клапан предохранительный
Клапан предохранительный
Гидроцилиндр с арматурой
Руль гидравлический с арматурой
Усилитель потока с арматурой
Клапан приоритетный с арматурой
Установка рулевой колонки
Пневмосистема привода тормозов
Тормоз колесный
Установка ручного тормоза
Цилиндр тормозной
Привод тормозного крана
Цилиндр с пружинным энергоаккумулятором
Установка компрессора и его привода
Установка электрооборудования
Установка электрооборудования по кабине
Щиток аварийной системы РУ
Щиток приборов основной
Установка реле
Щиток приборов дополнительный
Установка предохранителей
Установка навесного оборудования
Установка гидросистемы
Установка гидросистемы
Гидроцилиндр стрелы
Гидроцилиндр ковша
Гидробак
Фильтр
Блок управления
Пневмогидроаккумулятор с гидроклапанами
Гидрораспределитель
Клапан предохранительный
Сапун
Клапан
Кабина
Дверь
Сиденье водителя
Сиденье водителя с пневмоподвеской
Оперение
1
2
3
4
5
6
7
8
9
10
11
12
13
14
15
16
17
18
19
20
21
22
23
24
Позиция на иллюстрации
Заводской номер детали
Название детали
1
6908-3400010-30
Руль гидравлический с арматурой
2
6908-3403050-10
Пластина
3
201495
Болт
4
252136
Шайба
5
6908-3444230
Кожух нижний
6
7505-3401300
Вал карданный
7
64221-3403090
Ручка
8
6908-3403008
Кронштейн с колонкой
9
201456
Болт
10
252136
Шайба
11
252005
Шайба
12
6908-3444242
Серьга
13
220108
Винт М6х22
14
252134
Шайба
15
252004
Шайба
16
64221-3444244
Кожух верхний
17
80-3402015
Колесо рулевое
18
80-3401082
Крышка к рулевому колесу
19
250636
Гайка М16x1,5-6Н
20
6908-3444236
Кожух верхний
21
221604
Винт М6х14
22
6908-3444227
Окантовка
23
448432
Шпонка
24
220108
Винт М6х22
Содержащиеся в справочниках-каталогах запасные части и детали не предлагаются к продаже, а носят исключительно информационный характер
Дополнительная информация
×
Название:
Номер:
Примечание: