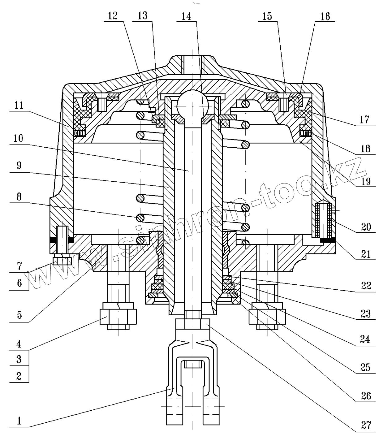
Каталог запасных частей к технике: МоАЗ 40484-21. Цилиндр тормозной
1
2
3
4
5
6
7
8
9
10
11
12
13
14
15
16
17
18
19
20
21
22
23
24
25
26
27
| Позиция на иллюстрации | Заводской номер детали | Название детали | |
|---|---|---|---|
| 1 | 6401-3519138 | Вилка штока | |
| 2 | 216318 | Шпилька М16х45 | |
| 3 | 250561 | Гайка | |
| 4 | 252139 | Шайба | |
| 5 | 6441-3519142 | Крышка | |
| 6 | 201460 | Болт | |
| 7 | 252135 | Шайба | |
| 8 | 6507-3519154 | Пружина | |
| 9 | 546-3519139-Б | Направляющая поршня | |
| 10 | 546-3519134 | Шток | |
| 11 | 6441-3519120-10 | Корпус | |
| 12 | 6507-3519127 | Шайба | |
| 13 | 546-3519133 | Контргайка | |
| 14 | 546-3519131-Б | Сухарь | |
| 15 | 221601 | Винт М6-6gх14 | |
| 16 | 546-3519140 | Прижим | |
| 17 | 540-3519137-Б | Манжета | |
| 18 | 546-3519136 | Набивка уплотняющая | |
| 19 | 6507-3519135 | Поршень | |
| 20 | 6441-3519192 | Фильтр | |
| 21 | 6441-3519145 | Прокладка | |
| 22 | 546-3519164 | Шайба дырчатая | |
| 23 | 546-3519165 | Набивка сальника | |
| 24 | 546-3519168 | Грязесъемник | |
| 25 | 546-3519166 | Шайба | |
| 26 | 449764 | Кольцо 1Б65 | |
| 27 | 250636 | Гайка М16x1,5-6Н |
Содержащиеся в справочниках-каталогах запасные части и детали не предлагаются к продаже, а носят исключительно информационный характер