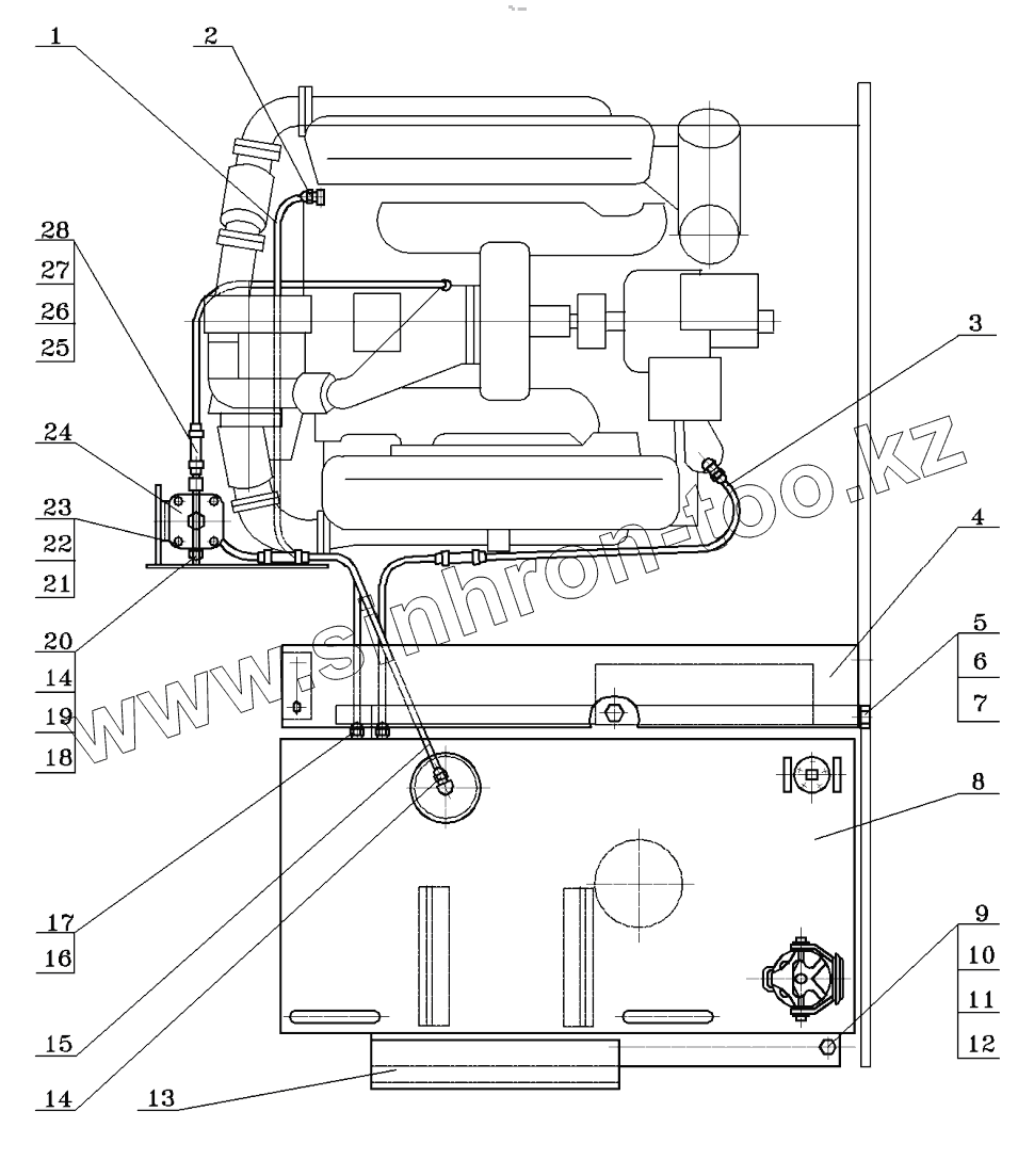
Каталог запасных частей к технике: МоАЗ 40484-21. Система питания топливом
1
2
3
4
5
6
7
8
9
10
11
12
13
14
14
15
16
17
18
19
20
21
22
23
24
25
26
27
28
| Позиция на иллюстрации | Заводской номер детали | Название детали | |
|---|---|---|---|
| 1 | 546П-1104048 | Трубка | |
| 2 | 445871 | Гайка | |
| 3 | 8004-1104046 | Трубка топливная | |
| 4 | 6908-1105100 | Панель | |
| 5 | 201499 | Болт | |
| 6 | 252136 | Шайба | |
| 7 | 252006 | Шайба | |
| 8 | 69084-1101010 | Бак топливный | |
| 9 | 201587 | Болт | |
| 10 | 250558 | Гайка | |
| 11 | 252138 | Шайба | |
| 12 | 252016 | Шайба | |
| 13 | 7914-8405078 | Подножка | |
| 14 | 445870 | Гайка | |
| 15 | 546П-1104042 | Трубка | |
| 16 | 314710 | Гайка | |
| 17 | 314803 | Муфта | |
| 18 | 69084-1104044 | Трубка топливная | |
| 19 | 314802 | Муфта | |
| 20 | 379053 | Угольник | |
| 21 | 201458 | Болт | |
| 22 | 250510 | Гайка | |
| 23 | 252135 | Шайба | |
| 24 | 204А-1105510-Б | Фильтр | |
| 25 | 546-3509283 | Рукав | |
| 26 | 297575 | Шплинт | |
| 27 | 297580 | Пряжка | |
| 28 | 297582 | Лента |
Содержащиеся в справочниках-каталогах запасные части и детали не предлагаются к продаже, а носят исключительно информационный характер