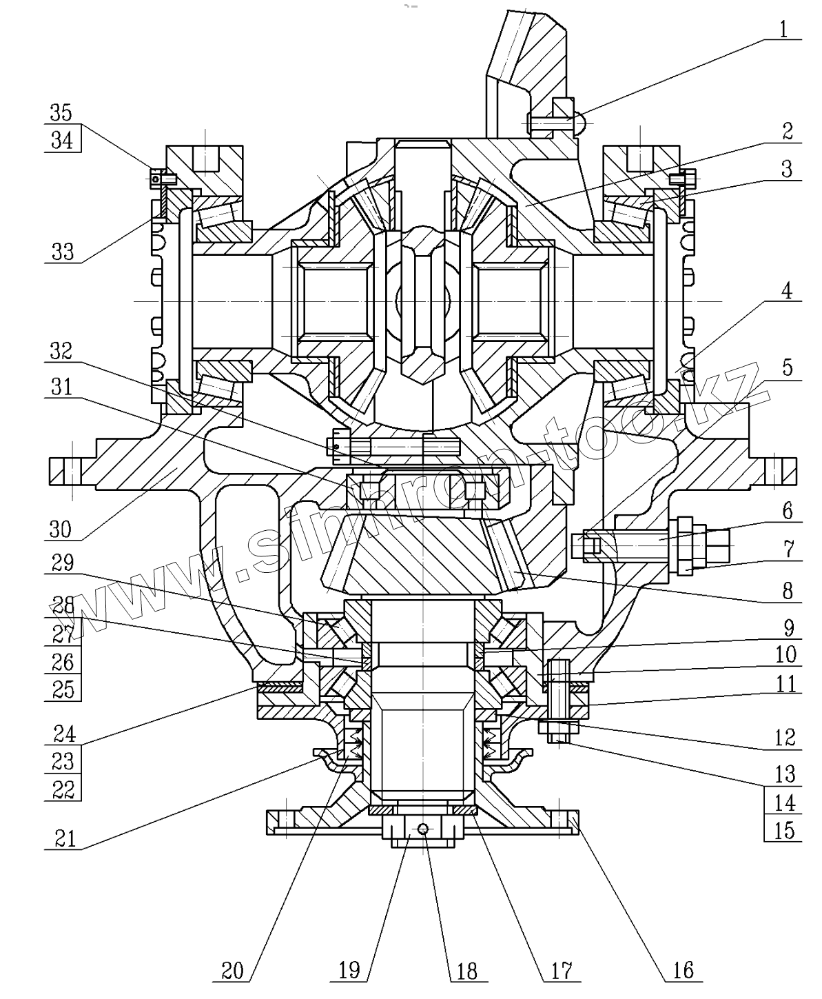
Каталог запасных частей к технике: МоАЗ 40484-21. Редуктор заднего моста без блокировки дифференциала
1
2
3
4
5
6
7
8
9
10
11
12
13
14
15
16
17
18
19
20
21
22
23
24
25
26
27
28
29
30
31
32
33
34
35
| Позиция на иллюстрации | Заводской номер детали | Название детали | |
|---|---|---|---|
| 1 | 447701 | Заклепка | |
| 2 | 6908-2403012 | Дифференциал | |
| 3 | 7519 | Подшипник ГОСТ 520-71 | |
| 4 | 529-2403040 | Гайка | |
| 5 | 546-2402194 | Сухарь ограничителя | |
| 6 | 546-2402192 | Ограничитель деформации | |
| 7 | 250665 | Гайка | |
| 8 | 546-2402020 | Шестерня главной передачи (комплект) | |
| 9 | 7405-2402029 | Кольцо распорное | |
| 10 | 6908-2402049 | Картер подшипников | |
| 11 | 546-2402084 | Прокладка | |
| 12 | 546-2402075 | Маслоотражатель | |
| 13 | 216320 | Шпилька М16х50 ОСТ 37.001.166-81 | |
| 14 | 252139 | Шайба | |
| 15 | 250561 | Гайка | |
| 16 | 522А-2302061 | Фланец | |
| 17 | 529А-2402066 | Шайба | |
| 18 | 6,3х63 | Шплинт | |
| 19 | 311701 | Гайка | |
| 20 | 2.2-92х120-3 | Манжета | |
| 21 | 7505-2302051 | Крышка | |
| 22 | 546-2402081 | Прокладка регулировочная | |
| 23 | 546-2402082 | Прокладка регулировочная | |
| 24 | 546-2402083 | Прокладка регулировочная | |
| 25 | 546-2402076 | Шайба | |
| 26 | 546-2402077 | Шайба | |
| 27 | 546-2402078 | Шайба | |
| 28 | 546-2402079 | Шайба | |
| 29 | 27315 | Подшипник ГОСТ 7260-81 | |
| 30 | 6908-2402015 | Картер | |
| 31 | 42409М | Подшипник ГОСТ 520-71 | |
| 32 | 449673 | Кольцо | |
| 33 | 529-2403041 | Пластина стопорная | |
| 34 | 206496 | Болт | |
| 35 | 258278 | Шплинт |
Содержащиеся в справочниках-каталогах запасные части и детали не предлагаются к продаже, а носят исключительно информационный характер