Каталог запасных частей к технике: МоАЗ 40484-21. Рама (с 28.01.00)
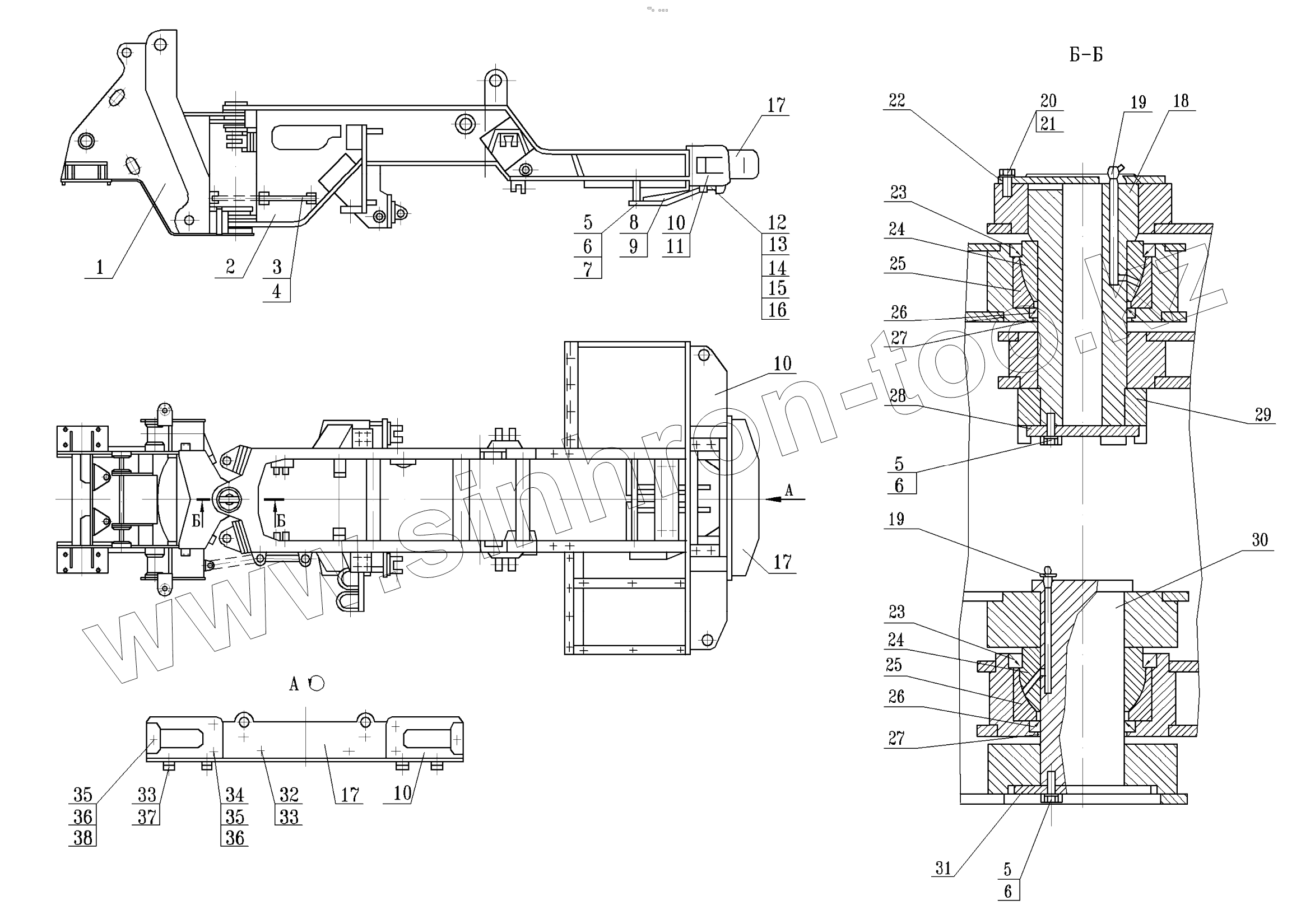
69084-2800010-10
1
2
3
4
5
5
5
6
6
6
7
8
9
10
10
10
11
12
13
14
15
16
17
17
17
18
19
19
20
21
22
23
23
24
24
24
24
25
25
26
26
27
27
28
29
30
31
32
33
33
34
35
35
36
36
37
38
| Позиция на иллюстрации | Заводской номер детали | Название детали | |
|---|---|---|---|
| 69084-2800010-10 | 69084-2800010-10 | Рама | |
| 1 | 6908-2801010-01 | Рама передняя | |
| 2 | 69084-2811010-40 | Рама задняя | |
| 3 | 6908-2816050-01 | Штанга распорная | |
| 4 | 7915-2920019 | Палец | |
| 5 | 201540 | Болт | |
| 6 | 252045 | Шайба | |
| 7 | 252137 | Шайба | |
| 8 | 69084-2815020 | Щит правый | |
| 9 | 69084-2815021 | Щит левый | |
| 10 | 6908-2812010 | Балласт правый | |
| 11 | 6908-2812011 | Балласт левый | |
| 12 | 529-2806025 | Замок | |
| 13 | 529-2806027 | Пробка | |
| 14 | 529-4202128 | Пружина | |
| 15 | 376038 | Шайба | |
| 16 | Б 9,525-3 | Шарик | |
| 17 | 6908-2812030 | Балласт дополнительный | |
| 18 | 7405-2702054-10 | Палец нижний | |
| 19 | 2.3.45 | Масленка | |
| 20 | 202119 | Болт | |
| 21 | 252139 | Шайба | |
| 22 | 7405-2702048 | Пластина стопорная | |
| 23 | 1.2-170х200-1 | Манжета | |
| 24 | 7405-2702051 | Кольцо внутреннее | |
| 24 | 7405-2702051-01 | Кольцо внутреннее | |
| 25 | 7405-2702050 | Кольцо наружное | |
| 26 | 1.2-120х150-1 | Манжета | |
| 27 | 449790 | Кольцо | |
| 28 | 7405-2702049 | Пластина стопорная | |
| 29 | 7405-2702056-10 | Гайка | |
| 30 | 6908-2816012-01 | Палец нижний | |
| 31 | 6908-2816036-20 | Пластина стопорная | |
| 32 | 6908-2812026 | Болт М30х2х265 | |
| 33 | 252165 | Шайба | |
| 34 | 6908-2812024-01 | Болт М30х2х455 | |
| 35 | 250590 | Гайка М30х2-6Н | |
| 36 | 250665 | Гайка | |
| 37 | 6908-2812018-01 | Болт М30х2х85 | |
| 38 | 6908-2812020-01 | Болт М30х2х160 |
Содержащиеся в справочниках-каталогах запасные части и детали не предлагаются к продаже, а носят исключительно информационный характер