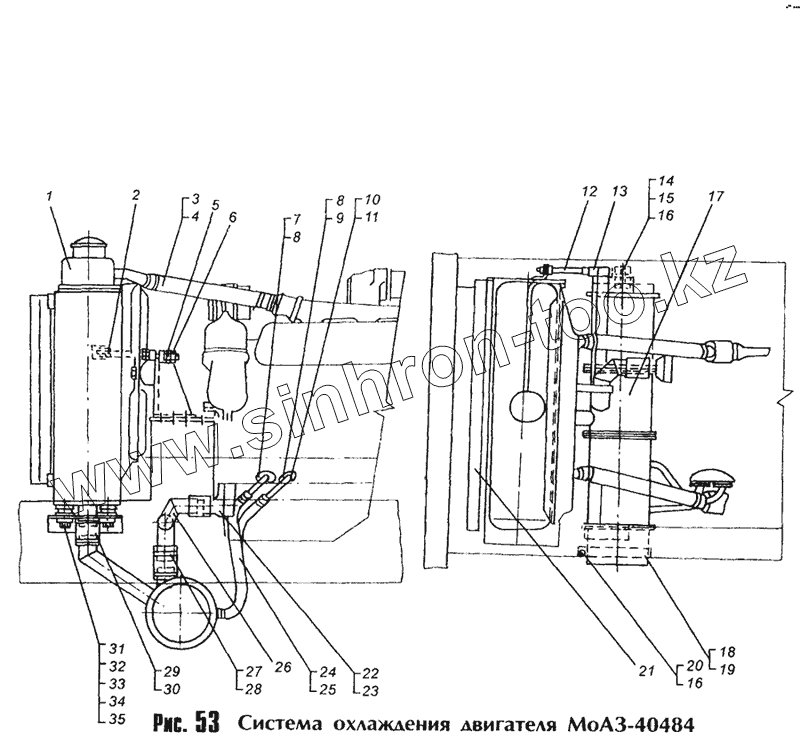
Каталог запасных частей к технике: МоАЗ 40481. Система охлаждения двигателя МоАЗ-40484
1
2
3
4
5
6
7
8
8
9
10
11
12
13
14
15
16
16
17
18
19
20
21
22
23
24
25
26
27
28
29
30
31
32
33
34
35
| Позиция на иллюстрации | Заводской номер детали | Название детали | |
|---|---|---|---|
| 1 | 8004-1301005 | Радиатор | |
| 2 | 252137 | Шайба | |
| 3 | 6401-1303032 | Рукав | |
| 4 | 64229-1303514 | Хомут | |
| 5 | 252007 | Шайба | |
| 6 | 311504-П29 | Гайка М12x1,25 | |
| 7 | 69084-1013110 | Патрубок сливной | |
| 8 | 546П-013117 | Прокладка | |
| 9 | 69084-1013112 | Патрубок сливной | |
| 10 | 201455 | Болт | |
| 11 | 252135 | Шайба | |
| 12 | 6401-1302035 | Тяга радиатора | |
| 13 | 546П-5205025 | Прокладка | |
| 14 | 260138 | Палец 16х55 | |
| 15 | 258052 | Шплинт | |
| 16 | 252017 | Шайба 16 | |
| 17 | 69084-1013310 | Маслоохладитель | |
| 18 | 8004-1013040 | Кронштейн маслоохладителя | |
| 19 | 7505-1714048 | Хомут | |
| 20 | 250560 | Гайка М16 | |
| 21 | 546П-310110 | Жалюзи | |
| 22 | 6401-1303050 | Патрубок впускной | |
| 23 | 546П-1303049 | Прокладка | |
| 24 | 8004-1013015 | Рукав | |
| 25 | 64229-1303160 | Хомут | |
| 26 | 69084-1013370 | Патрубок | |
| 27 | 6401-1303010 | Рукав | |
| 28 | 64229-1303530 | Хомут | |
| 29 | 529К-1303049 | Прокладка | |
| 30 | 6401-1301089 | Патрубок отводящий | |
| 31 | 206954 | Болт | |
| 32 | 258293 | Шплинт | |
| 33 | 204-1302060 | Подушка | |
| 34 | 204В-1302060 | Подушка | |
| 35 | 204-1302062 | Чашка |
Содержащиеся в справочниках-каталогах запасные части и детали не предлагаются к продаже, а носят исключительно информационный характер