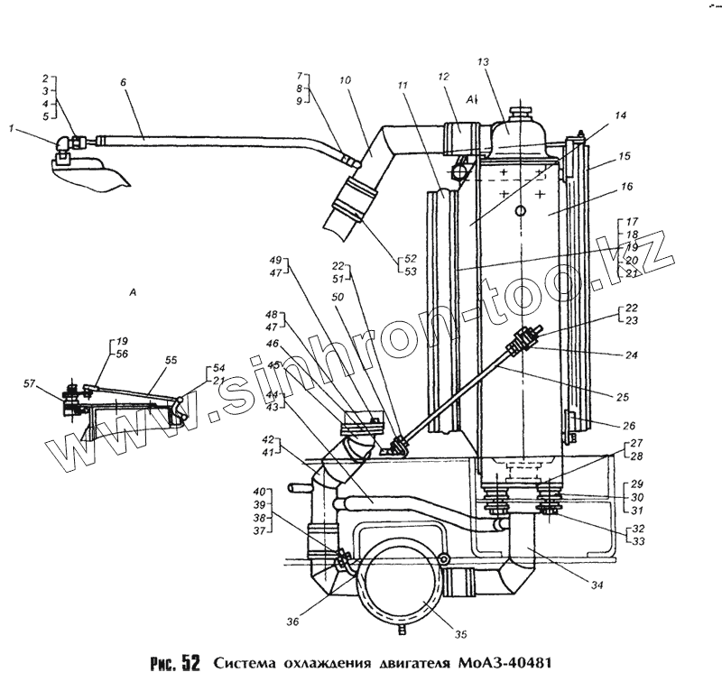
Каталог запасных частей к технике: МоАЗ 40481. Система охлаждения двигателя МоАЗ-40481
1
2
3
4
5
6
7
8
9
10
11
12
13
14
15
16
17
18
19
19
20
21
21
22
22
23
24
25
26
27
28
29
30
31
32
33
34
35
36
37
38
39
40
41
42
43
44
45
46
47
47
48
49
50
51
52
53
54
55
56
57
| Позиция на иллюстрации | Заводской номер детали | Название детали | |
|---|---|---|---|
| 1 | 379652-П29 | Угольник конечный 3/8 | |
| 2 | 379256-П29 | Муфта | |
| 3 | 7505-1303054 | Патрубок | |
| 4 | 379700-П29 | Гайка накидная | |
| 5 | 014-018-25-2-2 | Кольцо | |
| 6 | 7505-1303015 | Рукав соединительный | |
| 7 | 297575-П29 | Шплинт | |
| 8 | 297580-П29 | Пряжка | |
| 9 | 297582-П29 | Лента | |
| 10 | 6908-1303056 | Патрубок отводящий | |
| 11 | 7505-1309012 | Уплотнитель кожуха | |
| 12 | 7406-1303012-01 | Рукав | |
| 13 | 7406-1301010-20 | Радиатор | |
| 14 | 6908-1309010 | Кожух вентилятора | |
| 15 | 7406-1310110-10 | Жалюзи | |
| 16 | 6908-1302010 | Рамка радиатора | |
| 17 | 7505-1309013 | Хомут | |
| 18 | 201469 | Болт М8-6gх55 | |
| 19 | 250510 | Гайка | |
| 20 | 252135 | Шайба | |
| 21 | 252038 | Шайба 8 | |
| 22 | 250515 | Гайка | |
| 23 | 252007 | Шайба | |
| 24 | 546П-5205025 | Прокладка | |
| 25 | 7406-1302032 | Тяга радиатора | |
| 26 | 6908-1302045 | Пластина | |
| 27 | 7406-1301088 | Прокладка | |
| 28 | 7406-1301089 | Патрубок | |
| 29 | 204-1302060 | Подушка | |
| 30 | 204В-1302060 | Подушка | |
| 31 | 204-1502062 | Чашка подушки | |
| 32 | 206953 | Болт 3М16-6gх70 | |
| 33 | 258293 | Шплинт | |
| 34 | 6908-1303070 | Патрубок | |
| 35 | 7505-1714010 | Маслоохладитель | |
| 36 | 7505-1714048 | Хомут | |
| 37 | 258052 | Шплинт | |
| 38 | 252017 | Шайба 16 | |
| 39 | 260138 | Палец 16х55 | |
| 40 | 250560 | Гайка М16 | |
| 41 | 6908-1303060 | Патрубок подводящий | |
| 42 | 690804-1303060 | Патрубок подводящий | |
| 43 | 6908-1303015 | Рукав | |
| 44 | 64229-1303506 | Хомут | |
| 45 | 6908-1303050 | Патрубок | |
| 46 | 7406-1303049-10 | Прокладка | |
| 47 | 252136 | Шайба | |
| 48 | 201497 | Болт | |
| 49 | 250617 | Гайка | |
| 50 | 6908-1302038 | Уголок | |
| 51 | 252137 | Шайба | |
| 52 | 7406-1303015 | Втулка | |
| 53 | 64221-1303035-01 | Хомут | |
| 54 | 258039 | Шплинт | |
| 55 | 6908-1310214 | Тяга | |
| 56 | 500-1108138 | Наконечник тяги | |
| 57 | 6908-1310235 | Механизм управления жалюзи |
Содержащиеся в справочниках-каталогах запасные части и детали не предлагаются к продаже, а носят исключительно информационный характер