Вернуться на главную
Поиск
Каталоги запчастей к технике
Спецтехника
МоАЗ
40481
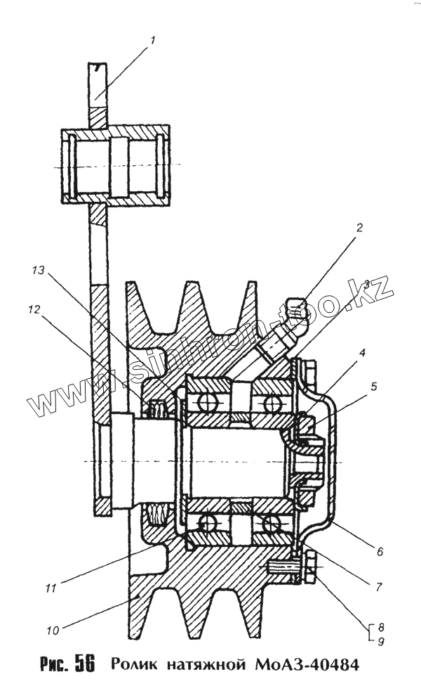
Ролик натяжной МоАЗ-40484
Каталог запасных частей к технике: МоАЗ 40481. Ролик натяжной МоАЗ-40484
zoom-in
zoom-out
enlarge
shrink
circle-right
circle-left
file-text2
info
cart
Тип техники
Не выбрано
Легковые автомобили
Грузовые автомобили и прицепы
Автобусы
Сельхозтехника
Спецтехника
Двигатели
Мототехника
Марка
Не выбрано
Ammann
BOMAG
CARMIX
CASE IH
Changlin
ChengGong
Dimex
Doosan
DYNAPAC
Foton
HAMM
Hidromek
Hitachi
Hyundai
JCB
JLG
John Deere
Komatsu
LIEBHERR
LiuGong
Lonking (LongGong)
Luneng
MANITOU
Mitsuber
New Holland
PENGPU
RM-Terex
SANY
SDLG
SEM
Shantui
Shehwa HBXG
Soosan
TIGARBO
VOGELE
Volvo
WAY
WIRTGEN
XCMG
XGMA
Xiamen
YTO
Yuchai
Zoomlion
Автокран
АЗСМ
Алтайлесмаш
Амкодор
АОМЗ
Атек
АТЗ
Балканкар Рекорд
БелАЗ
Беловеж
Борекс
Брянский Арсенал
Булат
ВЭКС
ГАЗ
Геомаш
Гидромаш
Донекс
Дормаш
Дормашина
Дорэлектромаш
ДЭЗ
ЕлАЗ
ЗЗГТ
Ижнефтемаш
Канаш-электрокар
КЗКТ
ККЗ
Клевер
Клинцовский автокрановый завод
КМЗ
КМЗ 1 Мая
Ковровец
Коммаш
Кранэкс
КЭЗ
КЭМЗ
ЛЗА
МАЗ
МЗИК
МЗКМ
МЗКТ
Михневский РМЗ
МоАЗ
Мозырский МЗ
МТЗ
ОЗП
Онежец
ПАО "ТЗА"
ППС Детва
Промтрактор
ПТЗ
Раскат
СпецАгрегат
ТВЭКС
ТТМ
УВЗ
Угличмаш
УЗТМ
ХТЗ
ЧЗКМ
ЧСДМ
ЧТЗ
ЭКСКО
ЭКСМАШ
ЮрМаш
Модель
Не выбрано
40481 (2003)
40484-21
4055-21
6014 (2002)
Схема
>
Не выбрано
Кабина 69083-5000010
Дверь 69083-6100030
Вентилятор
Система отопления
Оперение
Подвеска двигателя МоАЗ-40481
Подвеска двигателя МоАЗ-40484 69084-1000003
Устройство пусковое подогревательное для МоАЗ-40481
Устройство пусковое подогревательное ПДЖ-44 для МоАЗ-40484 69084-10000032
Устройство пусковое подогревательное ПДЖ-30 для МоАЗ-40484 69084-10000032-10
Управление подачей топлива МоАЗ-40481
Управление системой двигателя МоАЗ-40484
Питание двигателя топливом МоАЗ-40481
Система питания двигателя МоАЗ-40484
Системы питания двигателя воздухом и выпуска отработавших газов (при установке воздухоочистителя 2256010-1904000)
Системы питания двигателя воздухом и выпуска отработавших газов (при установке фильтра воздушного 8421-110910)
Система очистки воздуха МоАЗ-40484
Система выпуска отработавших газов МоАЗ-40484
Система охлаждения двигателя МоАЗ-40481
Ролик натяжной МоАЗ-40484
Установка вентилятора МоАЗ-40484
Привод вентилятора МоАЗ-40484
Система охлаждения двигателя МоАЗ-40484
Рамка радиатора. Кожух вентилятора МоАЗ-40484
Картер коробки передач
Картер гидромеханической передачи
Вал ведущий гидромеханической передачи
Вал диапазонный
Вал реверсный
Вал ведомый
Насос гидромеханической передачи 7548-1704010
Маслозаборник и полнопоточный фильтр
Фильтр тонкой очистки масла
Картер гидротрансформатора
Гидротрансформатор
Фрикцион 7548-1711500
Передача гидромеханическая с редуктором МоАЗ-40484 69084-1700504
Коробка золотниковая 7548-1712210-10
Клапан корректирующий 7548-1712380
Механизм управления 7548-1712410-20
Редуктор согласующий МоАЗ-40484 69084-1731010
Привод насосов
Привод насосов гидросистемы
Валы карданные
Опора промежуточная 6908-2203210-10
Муфта гибкая МоАЗ-40484 75051-2208017 СБ
Мост передний 6908-2300010-01
Мост задний 6908-2400010
Редуктор 6908-2302010-01 СБ
Дифференциал 6908-2403012
Водило 6908-2405018-10 СБ
Редуктор 6908-2402010 СБ
Рама (До 26.01.2000)
Рама (После 26.01.2000)
Подвеска заднего моста 6908-2900002
Установка колес
Схема установки рулевого управления V=2л
Гидроцилиндр с арматурой 6908-3405005-01 СБ, 6908-3405006-01 СБ
Руль гидравлический с арматурой V=2л
Вал карданный 7505-3401300
Клапан предохранительный 6908-3406005-10
Клапан предохранительный 6908-3406048-10
Электродвигатель с насосом
Клапан приоритетный 6908-3435005-40
Схема установки рулевого управления V=0,5 л (с 01.09.1998)
Гидроцилиндр с арматурой 6908-3405005-01
Руль гидравлический с арматурой 6908-3400010-30
Гидробак
Усилитель потока с арматурой 6908-3436005-20
Клапан приоритетный с арматурой 6908-3435005-50
Установка рулевой колонки
Тормоз колесный
Схема пневмопривода тормозов
Тормоз стояночный с редуктором переднего моста 7505-3507006
Цилиндр тормозной 6444-3519110 СБ
Установка компрессора и его привод 69084-3500003
Компрессор МоАЗ-40481 5356-3509012
Компрессор МоАЗ-40484 500-3509115-Б1
Привод тормозного крана
Пружинный энергоаккумулятор 7505-3519010-01 СБ
Клапан подпорный
Установка электрооборудования
Установка электрооборудования по кабине
Установка предохранителей
Установка реле
Щиток приборов основной
Щиток приборов дополнительный
Щиток аварийной системы РУ
Установка коробки отбора мощности и полужесткой муфты 7506-4202010, 7915-2208017
Коробка отбора мощности МоАЗ-40484 69084-4202010 СБ
Установка погрузочного оборудования
Схема установки гидросистемы
Гидроцилиндр стрелы 6908-46130ё0-01
Гидроцилиндр ковша 6908-4614010-02
Фильтр
Блок управления 101ВНМ-01 (60220А)
Пневмогидроаккумулятор с гидроклапанами 640.00
Гидрораспределитель 6908-4612050 СБ
Клапан предохранительный
Схема установки подшипников
Схема деления измененной части изделия на составные части
1
2
3
4
5
6
7
8
9
10
11
12
13
Позиция на иллюстрации
Заводской номер детали
Название детали
1
7405-1308241
Рычаг
2
23.45УХЛ1
Масленка
3
6401-1308164
Прокладка
4
6401-1308155
Шайба замковая
5
445811
Гайка
6
6401-1308162
Крышка
7
6401-1308150
Кольцо
8
201457
Болт
9
252135
Шайба
10
6401-1308112
Ролик
11
307
Шарикоподшипник ГОСТ 520-71
12
6401-1308232
Сальник
13
6401-1308157
Шайба
Содержащиеся в справочниках-каталогах запасные части и детали не предлагаются к продаже, а носят исключительно информационный характер
Дополнительная информация
×
Название:
Номер:
Примечание: