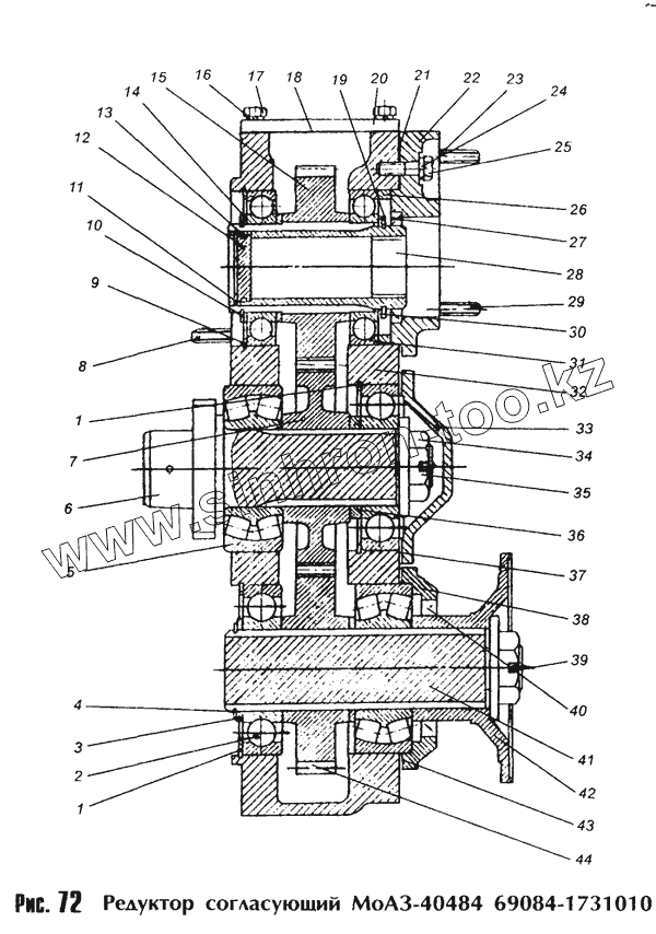
Каталог запасных частей к технике: МоАЗ 40481. Редуктор согласующий МоАЗ-40484 69084-1731010
1
1
2
3
4
5
6
7
8
9
10
11
12
13
14
15
16
17
18
19
20
21
22
23
24
25
26
27
28
29
30
31
32
33
34
35
36
37
38
39
40
41
42
43
44
| Позиция на иллюстрации | Заводской номер детали | Название детали | |
|---|---|---|---|
| 1 | 449790 | Кольцо | |
| 2 | 314 | Подшипник | |
| 3 | 69084-1731033 | Втулка | |
| 4 | 449686 | Кольцо В70 ГОСТ 13940-86 | |
| 5 | 53614 | Подшипник | |
| 6 | 69084-1731035 | Вал выходной | |
| 7 | 69084-1731055 | Шестерня ведомая | |
| 8 | 341069 | Шпилька М12х30 | |
| 9 | 449788 | Кольцо В140 ГОСТ 13941-86 | |
| 10 | 449690 | Кольцо В80 | |
| 11 | 449762 | Кольцо В60 | |
| 12 | 69084-1731071 | Заглушка | |
| 13 | 054-060-36-2-2 | Кольцо | |
| 14 | 69084-1731043 | Втулка | |
| 15 | 69084-1731060 | Шестерня привода насосов | |
| 16 | 252136 | Шайба | |
| 17 | 201497 | Болт | |
| 18 | 69084-1731102 | Прокладка | |
| 19 | 449688 | Кольцо В75 ГОСТ 13940-86 | |
| 20 | 69084-1731100 | Крышка | |
| 21 | 69084-1731021 | Прокладка | |
| 22 | 69084-1731019 | Опора | |
| 23 | 216282 | Шпилька М12х35 ОСТ 37.001.123-75 | |
| 24 | 252137 | Шайба | |
| 25 | 200367 | Болт | |
| 26 | 69084-1731044 | Втулка | |
| 27 | 2.2-75x100-2 | Манжета | |
| 28 | 69084-1731041 | Вал привода насосов | |
| 29 | 216364 | Шпилька М12х75 ОСТ 37.001.166-81 | |
| 30 | 69084-1731065 | Втулка | |
| 31 | 216 | Подшипник | |
| 32 | 69084-1731015 | Картер | |
| 33 | 69084-1731017 | Крышка | |
| 34 | 311701 | Гайка | |
| 35 | 529-2402066 | Шайба | |
| 36 | 69084-1731038 | Втулка | |
| 37 | 69084-1731018 | Прокладка | |
| 38 | 69084-1731022 | Крышка сальника | |
| 39 | 258086 | Шплинт | |
| 40 | 2.2-92x120-20 | Манжета | |
| 41 | 69084-1731030 | Вал входной | |
| 42 | 529А-2402063 | Фланец | |
| 43 | 69084-1731023 | Прокладка | |
| 44 | 69084-1731045 | Шестерня ведущая |
Содержащиеся в справочниках-каталогах запасные части и детали не предлагаются к продаже, а носят исключительно информационный характер