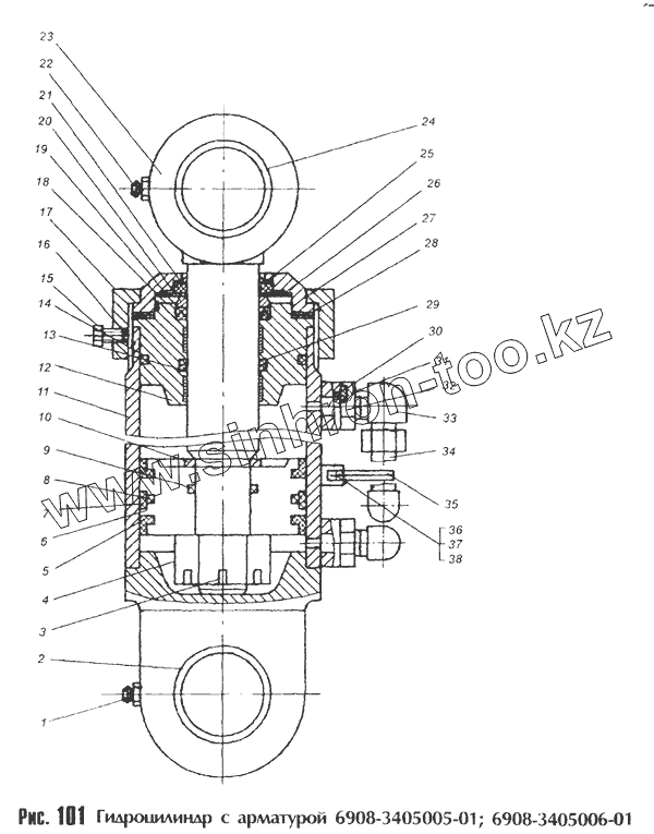
Каталог запасных частей к технике: МоАЗ 40481. Гидроцилиндр с арматурой 6908-3405005-01
1
2
3
4
5
6
7
8
9
10
11
11
12
13
14
15
16
17
18
19
20
21
22
23
24
25
26
27
28
29
30
31
32
33
34
35
36
37
38
| Позиция на иллюстрации | Заводской номер детали | Название детали | |
|---|---|---|---|
| 1 | 2.3.Ц5 | Масленка | |
| 2 | 546-3405030-А | Втулка | |
| 3 | 258101 | Шплинт | |
| 4 | 445844 | Гайка | |
| 5 | 99862-4614060 | Кольцо опорное | |
| 6 | 99862-4614042 | Поршень | |
| 7 | 99862-4614066 | Кольцо уплотнительное | |
| 8 | 108-120-75-2-2 | Кольцо | |
| 9 | 045-053-46-2-2 | Кольцо | |
| 10 | 7405-3405048 | Кольцо упорное | |
| 11 | 6908-3405019-10 | Труба цилиндра с крышкой левая | |
| 11 | 6908-3405018-10 | Водило | |
| 12 | 6442-3405058-10 | Крышка передняя с буксами | |
| 13 | 056-066-58-2-2 | Кольцо | |
| 14 | 115-125-58-2-2 | Кольцо | |
| 15 | 201452 | Болт | |
| 16 | Д357П-4613098 | Вкладыш | |
| 17 | Д357П-4614064 | Гайка | |
| 18 | 6442-3405094 | Крышка | |
| 19 | 6442-3405064 | Манжета | |
| 20 | 6442-3405060 | Кольцо нажимное | |
| 21 | Д357П-4614080 | Грязесъемник | |
| 22 | 1.3.Ц6 | Масленка | |
| 23 | 6908-3405046-10 | Шток | |
| 24 | 546-3405047-А | Втулка | |
| 25 | Д357П-4614085 | Скребок | |
| 26 | 6442-3405067 | Пружина | |
| 27 | 094-100-36-2-2 | Кольцо | |
| 28 | 6442-3405054 | Прокладка | |
| 29 | Д357П-4614055 | Кольцо защитное | |
| 30 | 021-025-25-2-2 | Кольцо ГОСТ 18829-73 | |
| 31 | 7505-3405086 | Кольцо защитное | |
| 32 | 7505-3405278 | Гайка стопорная | |
| 33 | 6908-3405270 | Угольник | |
| 34 | 6908-3405290-10 | Гидропровод гидроцилиндра | |
| 35 | 6507-3405284 | Хомут | |
| 36 | 201457 | Болт | |
| 37 | 250510 | Гайка | |
| 38 | 252135 | Шайба |
Содержащиеся в справочниках-каталогах запасные части и детали не предлагаются к продаже, а носят исключительно информационный характер