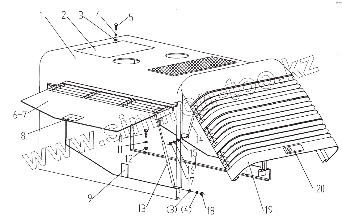
Каталог запасных частей к технике: Mitsuber ML-541R Munich. Кожух двигателя
1
2
3
3
4
4
5
6
7
8
9
10
11
12
13
14
15
16
17
18
19
20
| Позиция на иллюстрации | Заводской номер детали | Название детали | |
|---|---|---|---|
| 1 | LW560F.12.1 | КОЖУХ ДВИГАТЕЛЯ | |
| 2 | LW560F.12-1 | ПЛАСТИНА | |
| 3 | GB97.1-85 | ШАЙБА 12 | |
| 4 | GB93-87 | ШАЙБА 12 | |
| 5 | GB5783-86 | БОЛТ М10х30 | |
| 6 | LW560F.12.2 | ЛЕВАЯ БОКОВАЯ ДВЕРЬ | |
| 7 | LW560F.12.3 | ПРАВАЯ БОКОВАЯ ДВЕРЬ | |
| 8 | Z5G12.2.1 | ЗАМОК | |
| 9 | 330Е.18.1-1 | СТОПОРНАЯ ПЛАСТИНА | |
| 10 | GB5783-86 | БОЛТ М10х30 | |
| 11 | GB93-87 | ШАЙБА 12 | |
| 12 | GB97.1-85 | ШАЙБА 12 | |
| 13 | QD25-8 | ПНЕВМАТИЧЕСКАЯ ПРУЖИНА | |
| 14 | QD16-5 | ПНЕВМАТИЧЕСКАЯ ПРУЖИНА | |
| 15 | GB97.1-85 | ШАЙБА 12 | |
| 16 | GB93-87 | ШАЙБА 12 | |
| 17 | GB6170-86 | ГАЙКА | |
| 18 | GB6170-86 | ГАЙКА | |
| 19 | LW560F.12.4 | ЗАДНЯЯ КРЫШКА | |
| 20 | GJMB-2 | ЗАМОК |
Содержащиеся в справочниках-каталогах запасные части и детали не предлагаются к продаже, а носят исключительно информационный характер