Каталог запасных частей к технике: Mitsuber ML-541R Munich. 540F(III).9 Тормозная система
1
1
1
1
1
1
1
1
2
2
2
2
2
2
2
2
2
2
3
3
3
3
3
3
3
3
3
3
4
4
4
4
5
5
5
5
5
5
5
5
6
6
7
7
8
8
8
8
9
9
9
10
11
11
12
13
14
14
15
16
16
17
18
19
19
19
19
19
20
21
22
23
24
25
26
26
26
26
27
27
28
29
30
31
32
33
33
33
33
33
33
33
33
34
34
34
34
35
35
35
35
36
36
37
38
38
39
39
40
41
42
43
44
45
45
46
47
47
48
49
49
50
50
51
52
53
53
54
55
56
57
58
59
60
61
62
63
64
65
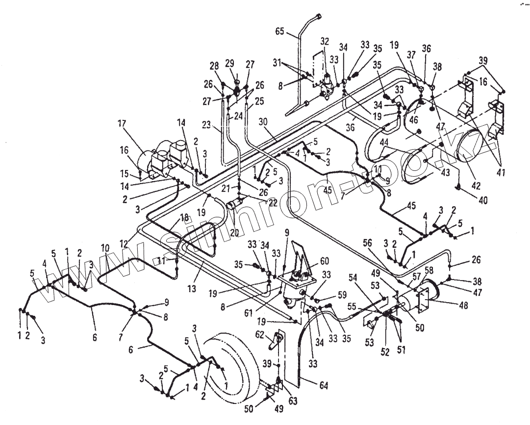
| Позиция на иллюстрации | Заводской номер детали | Название детали | |
|---|---|---|---|
| 1 | ZL40.12.4-17 | ШАЙБА | |
| 2 | ZL40.12.4-15 | ШАЙБА | |
| 3 | ZL40.12.4-14A | НИППЕЛЬ | |
| 4 | JB990-77 | СОЕДИНЕНИЕ 6 | |
| 5 | 510D.12.1 | ТРУБА | |
| 6 | ZL50.12.1 | ТРУБА | |
| 7 | ZL40.12.1 | ТРОЙНИК | |
| 8 | GB93-87 | ШАЙБА 12 | |
| 9 | GB5782-86 | БОЛТ М24x140 | |
| 10 | ZL50E.9.1 | ТРУБА | |
| 11 | NJ303503025A | ШЛАНГ | |
| 12 | ZL50E.9A-10 | ВОЗДУШНАЯ ТРУБА 013x023 | |
| 13 | ZL50E.9A.3-1 | ВОЗДУШНАЯ ТРУБА 013x023 | |
| 14 | JB982-77 | ШАЙБА 16 | |
| 15 | GB93-87 | ШАЙБА 12 | |
| 16 | GB5783-86 | БОЛТ М10х30 | |
| 17 | ZL50E.9A.3 | ПНЕВМОПРИВОД | |
| 18 | ZL50E.9A.8 | ТРУБА | |
| 19 | ZBJ15001-87 | ЗАЖИМ D25 | |
| 20 | ZL50E.9.6 | ТОРМОЗНОЙ ПНЕВМОЦИЛИНДР | |
| 21 | ZL50E.9A-2 | СОЕДИНЕНИЕ | |
| 22 | JB982-77 | ШАЙБА 16 | |
| 23 | ZL50E.9A-9 | ВОЗДУШНАЯ ТРУБА d.10xd.19 | |
| 24 | ZL50E.9A-4 | ВОЗДУШНАЯ ТРУБА d.10xd.19 | |
| 25 | ZL50E.9A-7 | ВОЗДУШНАЯ ТРУБА d.10xd.19 | |
| 26 | ZBJ15001-87 | ЗАЖИМ D25 | |
| 27 | ZL5QE.9A-6 | СОЕДИНЕНИЕ | |
| 28 | ZL50E.9A-5 | СОЕДИНЕНИЕ | |
| 29 | QZ50-3526001 | РЕГУЛЯТОР ТОРМОЗА | |
| 30 | ZL50E.9A.10 | ТРУБА | |
| 31 | GB6170-86 | ГАЙКА | |
| 32 | SH380 | ГРУППА КЛАПАНОВ | |
| 33 | JB982-77 | ШАЙБА 16 | |
| 34 | ZL40.12.9-4 | СОЕДИНЕНИЕ | |
| 35 | ZL40.12.5-1 | БОЛТ | |
| 36 | 540FIII.9-1 | ВОЗДУШНАЯ ТРУБА 013x023 | |
| 37 | ZL50E.9A.3-2 | СОЕДИНЕНИЕ | |
| 38 | ZL50E.9A-8 | СОЕДИНЕНИЕ | |
| 39 | GB6170-86 | ГАЙКА | |
| 40 | CA10 | СЛИВНОЙ КЛАПАН | |
| 41 | ZL50E.9.5 | СКОБА | |
| 42 | ZL50E.9.4.1 | ВОЗДУШНЫЙ РЕСИВЕР | |
| 43 | ZL50E.9A.4-1 | ЗАГЛУШКА | |
| 44 | ZL50E.9.11 | ЗАЖИМ | |
| 45 | ZL50.12.8 | ТРУБА | |
| 46 | JB982-77 | ШАЙБА 16 | |
| 47 | JB982-77 | ШАЙБА 16 | |
| 48 | ZL50E.9.7 | ПНЕВМОЦИЛИНДР ТОРМОЗА | |
| 49 | GB882-86 | ШПИЛЬКА В10х35 | |
| 50 | GB91-86 | ШТИФТ 1.6x16 | |
| 51 | ZL40.13.3-4A | U-ОБРАЗНЫЙ БОЛТ | |
| 52 | ZL40.13.3-3A | СКОЛЬЗЯЩИЙ БЛОК | |
| 53 | GB6170-86 | ГАЙКА | |
| 54 | GB6170-86 | ГАЙКА | |
| 55 | GB93-86 | СТОПОРНАЯ ШАЙБА 6 | |
| 56 | GB5783-86 | БОЛТ М10х30 | |
| 57 | GB93-87 | ШАЙБА 12 | |
| 58 | GB97.1-85 | ШАЙБА 12 | |
| 59 | ZL50E.9.2-2 | ЗАГЛУШКА | |
| 60 | XM-60C-3154010 | РЕГУЛЯТОР ТОРМОЗА | |
| 61 | GB6170-86 | ГАЙКА | |
| 62 | ZL40A.13.4 | КРЕПЛЕНИЕ | |
| 63 | ZL40.7.5-2 | СКОБА | |
| 64 | ZL50E.9.12 | КАБЕЛЬ | |
| 65 | 540FIII.9.1 | ВОЗДУШНАЯ ТРУБА |
Содержащиеся в справочниках-каталогах запасные части и детали не предлагаются к продаже, а носят исключительно информационный характер