Каталог запасных частей к технике: Mitsuber MG-165R Groningen. Трансмиссия
1
2
3
4
5
5
6
7
8
9
10
10
11
12
13
14
15
16
17
18
19
20
21
22
23
24
25
26
27
28
29
30
31
32
33
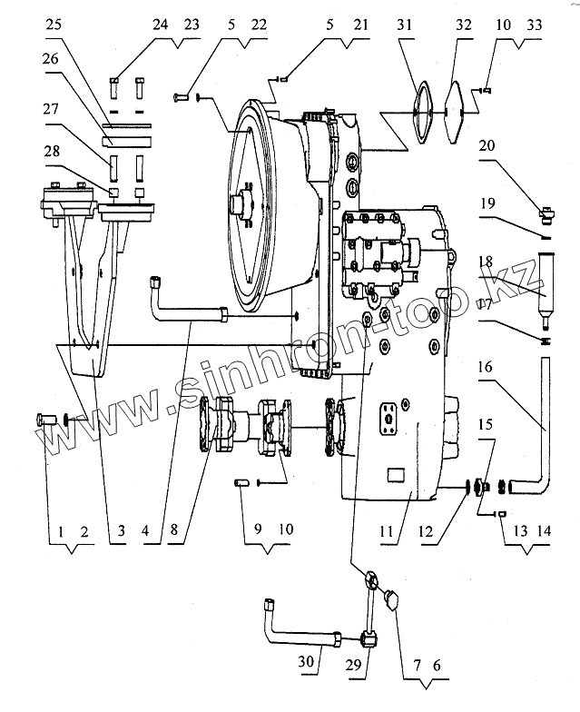
| Позиция на иллюстрации | Заводской номер детали | Название детали | |
|---|---|---|---|
| 1 | 104000059 | Болт М20x65 | |
| 2 | 104040006 | Шайба 20 | |
| 3 | 001340043 | Кронштейн | |
| 4 | 101020053 | Резиновая труба | |
| 5 | 104040008 | Шайба 10 | |
| 6 | 104040038 | Шайба 30 | |
| 7 | 001210182 | Болт | |
| 8 | 103040002 | Трансмиссионный Валь | |
| 9 | 104000016 | Болт | |
| 10 | 104040005 | Шайба 12 | |
| 11 | 103020007 | Гидравлическая коробка передач Власти | |
| 12 | 101030012 | Кольцо 30x3.55 | |
| 13 | 104000130 | Болт М8х25 | |
| 14 | 104040007 | Шайба 8 | |
| 15 | 001440048.10 | Фланец | |
| 16 | 101020175 | Шланг | |
| 17 | Скоба | Скоба | |
| 18 | 001440047 | Соединение | |
| 19 | 101030015 | Кольцо 42.5x3.55 | |
| 20 | 001440032 | Заглушка | |
| 21 | 104000082 | Болт M10x30 | |
| 22 | 104000053 | Болт M10x70 | |
| 23 | 104000047 | Болт М14х110 | |
| 24 | 104040004 | Шайба 16 | |
| 25 | 001340042 | Крышка | |
| 26 | 001340044 | Резиновая шайба | |
| 27 | 001340045 | Труба | |
| 28 | 001340047 | Резиновый чеxол | |
| 29 | 001210456 | Металлическая труба | |
| 30 | 101020090 | Резиновая труба | |
| 31 | 001440033 | Асбест | |
| 32 | 001440034 | Усиленная пластина | |
| 33 | 104000121 | Болт М12x30 |
Содержащиеся в справочниках-каталогах запасные части и детали не предлагаются к продаже, а носят исключительно информационный характер