Каталог запасных частей к технике: ЛЗА 40810. Управление рулевое 4045М-3106, 4014М-3401-10
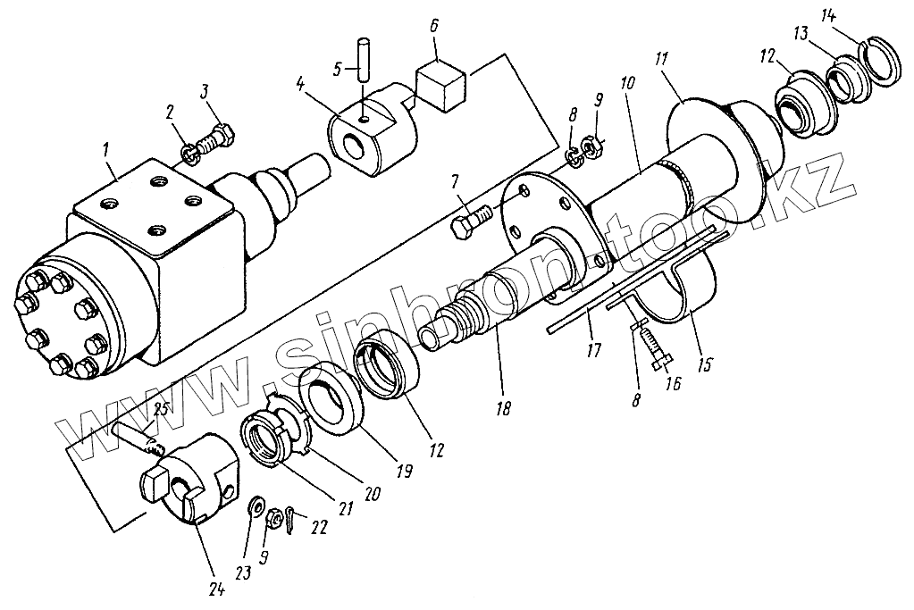
1
2
3
4
5
6
7
8
8
9
9
10
11
12
12
13
14
15
16
17
18
19
20
21
22
23
24
25
| Позиция на иллюстрации | Заводской номер детали | Название детали | |
|---|---|---|---|
| 4085-3401096 | 4085-3401096 | Колонка с колесом и рукояткой рулевого управления в сборе | |
| 130-3401095 | 130-3401095 | Колонка рулевая в сборе | |
| 130-3401036 | 130-3401036 | Вал с контактным устройством в сборе | |
| 1 | МРГ.01.160-2УХЛ1 | Управление рулевое гидростатическое | |
| 2 | 252136-П29 | Шайба 10 | |
| 3 | 201497-П29 | Болт М10х25 | |
| 4 | 4014М-3401024-10 | Полумуфта нижняя | |
| 5 | 258659-П29 | Штифт 8х30 | |
| 6 | 4014М-3401026-10 | Сухарик | |
| 7 | 201458-П29 | Болт М8х25 | |
| 8 | 252135-П29 | Шайба 8 | |
| 9 | 250510-П29 | Гайка М8 | |
| 10 | 130-3401103 | Труба колонки рулевого управления в сборе | |
| 11 | 4085-3401110 | Уплотнитель | |
| 12 | 836906 | Подшипник | |
| 13 | 130-3401128 | Кольцо разжимное подшипника | |
| 14 | 307787-П2 | Кольцо стопорное | |
| 15 | 4085-3401044 | Кронштейн | |
| 16 | 200263-П29 | Болт М8х35 | |
| 17 | 4085-3401046 | Прокладка | |
| 18 | 130-3401039 | Вал рулевого управления | |
| 19 | 130-3401044 | Обойма уплотнительного кольца | |
| 20 | 305810-П29 | Шайба стопорная | |
| 21 | 303105-П29 | Гайка М27х12 | |
| 22 | 258012-П29 | Шплинт 2х12 | |
| 23 | 252005-П29 | Шайба 8 | |
| 24 | 4014М-3401022-10 | Полумуфта верхняя | |
| 25 | 4014-3401227 | Клин |
Содержащиеся в справочниках-каталогах запасные части и детали не предлагаются к продаже, а носят исключительно информационный характер