Каталог запасных частей к технике: ЛЗА 40810. Щиток приборов 40810-3805
40810-3805001
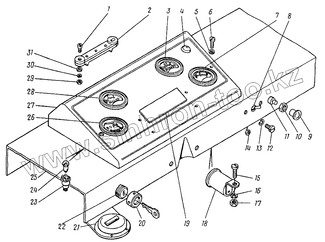
1
2
3
4
5
6
7
8
9
10
11
12
13
14
15
16
17
18
19
20
21
22
23
24
25
26
27
28
29
30
31
| Позиция на иллюстрации | Заводской номер детали | Название детали | |
|---|---|---|---|
| 40810-3805001 | 40810-3805001 | Щиток приборов | |
| 1 | 224600-П29 | Винт М5х16 | |
| 2 | 15.3723 | Панель соединительная | |
| 3 | 13.3806 | Указатель уровня топлива | |
| 4 | 121.3803 | Фонарь контрольной лампы | |
| 5 | 252004-П29 | Шайба 6 | |
| 6 | 220103-П29 | Винт М5х12 | |
| 7 | АП-171-А | Амперметр | |
| 8 | 4602.3710 | Выключатель | |
| 9 | 51-3709051-Б | Ручка в сборе | |
| 10 | 250615-П29 | Гайка М12х1,25 | |
| 11 | П305 | Переключатель | |
| 12 | 220051-П29 | Винт М4х10 | |
| 13 | 252132-П29 | Шайба 4 | |
| 14 | 250462-П29 | Гайка М4 | |
| 15 | 220103-П29 | Винт М5х12 | |
| 16 | 252134-П29 | Шайба 6 | |
| 17 | 250508-П29 | Гайка М6 | |
| 18 | РС57-Б | Реле-прерыватель | |
| 19 | ПК-120 | Блок | |
| 20 | 4081-3805025 | Крышка | |
| 21 | СВН2-01 | Счетчик моточасов | |
| 22 | ВК856 | Включатель стартера | |
| 23 | ЛВ211-329 | Патрон лампы | |
| 24 | АМН-12-3 | Лампа освещения щитка | |
| 25 | 40853-5325020 | Панель щитка приборов | |
| 26 | 14.3807 | Указатель температуры воды | |
| 27 | 40818-3805010 | Щиток | |
| 28 | 15.3810 | Указатель давления масла | |
| 29 | 250464-П29 | Гайка М5 | |
| 30 | 252133-П29 | Шайба 5 | |
| 31 | 252003-П29 | Шайба 5 |
Содержащиеся в справочниках-каталогах запасные части и детали не предлагаются к продаже, а носят исключительно информационный характер