Вернуться на главную
Поиск
Каталоги запчастей к технике
Спецтехника
ЛЗА
ЛЗА 40810
Мост ведущий и его установка 40814-2300
Каталог запасных частей к технике: ЛЗА 40810. Мост ведущий и его установка 40814-2300
zoom-in
zoom-out
enlarge
shrink
circle-right
circle-left
file-text2
info
cart
Тип техники
Не выбрано
Легковые автомобили
Грузовые автомобили и прицепы
Автобусы
Сельхозтехника
Спецтехника
Двигатели
Мототехника
Марка
Не выбрано
Ammann
BOMAG
CARMIX
CASE IH
Changlin
ChengGong
Dimex
Doosan
DYNAPAC
Foton
HAMM
Hidromek
Hitachi
Hyundai
JCB
JLG
John Deere
Komatsu
LIEBHERR
LiuGong
Lonking (LongGong)
Luneng
MANITOU
Mitsuber
New Holland
PENGPU
RM-Terex
SANY
SDLG
SEM
Shantui
Shehwa HBXG
Soosan
TIGARBO
VOGELE
Volvo
WAY
WIRTGEN
XCMG
XGMA
Xiamen
YTO
Yuchai
Zoomlion
Автокран
АЗСМ
Алтайлесмаш
Амкодор
АОМЗ
Атек
АТЗ
Балканкар Рекорд
БелАЗ
Беловеж
Борекс
Брянский Арсенал
Булат
ВЭКС
ГАЗ
Геомаш
Гидромаш
Донекс
Дормаш
Дормашина
Дорэлектромаш
ДЭЗ
ЕлАЗ
ЗЗГТ
Ижнефтемаш
Канаш-электрокар
КЗКТ
ККЗ
Клевер
Клинцовский автокрановый завод
КМЗ
КМЗ 1 Мая
Ковровец
Коммаш
Кранэкс
КЭЗ
КЭМЗ
ЛЗА
МАЗ
МЗИК
МЗКМ
МЗКТ
Михневский РМЗ
МоАЗ
Мозырский МЗ
МТЗ
ОЗП
Онежец
ПАО "ТЗА"
ППС Детва
Промтрактор
ПТЗ
Раскат
СпецАгрегат
ТВЭКС
ТТМ
УВЗ
Угличмаш
УЗТМ
ХТЗ
ЧЗКМ
ЧСДМ
ЧТЗ
ЭКСКО
ЭКСМАШ
ЮрМаш
Модель
Не выбрано
ЛЗА 4014 (2006)
ЛЗА 4043М (2006)
ЛЗА 40810 (2006)
Схема
>
Не выбрано
Кабина в сборе 40810-5000
Пол кабины 40811-5101
Стекла и уплотнители 4014-5206
Стеклоочистители и их привод 4014-5205
Обивка передка 40853-5302
Дверь 4014М-6100
Окно двери 4014М-6103
Сиденье водителя 4014М-6800
Отопитель 40310-8101
Вентилятор кабины 4014-8104
Зеркало заднего вида 4014-3201
Козырек противосолнечный 4081-6204
Капот 40810-6402
Оперение автопогрузчика 40810 (40810-6400)
Оперение автопогрузчика 41.015 (41.015-8400)
Облицовка радиатора 4014-8401-10
Бампер 4014М-8404
Подвеска двигателя 40810-1001
Маховик и шкив двигателя 40810-1005
Бак топливный 4014-1101-11
Трубопроводы топливные 40819-1104
Управление подачей топлива 40819-1108
Глушитель 40810-1200
Нейтрализатор автопогрузчика 41.015 (41.015-1200)
Радиатор масляный 40810-1013
Радиатор 40810-1300
Сцепление 40810-1601
Привод выключения сцепления 4014М-1602
Коробка передач 4014Д-1701
Механизм переключения передач 40811-1702
Механизм обратного хода 40810-1706
Управление механизмом обратного хода 4014-1707
Вал карданный 4014М-2201
Вал карданный 40811-2201
Мост ведущий и его установка 40814-2300
Рама 408Г0-2801
Ось задняя и кулаки поворотные 40814-3001
Тяги рулевые 4085-3414-10
Колеса 40814-3101, 4045М-3107
Ступицы передних колес 130-3104
Ступицы задних колес 4014 -3104
Покрышки и камеры 4045Р-3106
Управление рулевое 4045М-3106, 4014М-3401-10
Колесо рулевое и кнопка звукового сигнала 4000М-3402
Гидроцилиндр 4085-3429-10
Гидропроводы 40810-3408
Тормоза рабочие 4014М-3501-10
Цилиндр главный тормозной 51-3505
Падаль и привод тормоза 4014-3504-02
Трубопроводы гидротормозов 4014-3506
Тормоз центральный 40810-3507
Привод центрального тормоза 4081-3508-10
Схема электрооборудования 40810-3700
Фары 4081-3711
Подфарники 4014-3712-10
Плафон кабины 4014-3714
Фонари задние 4014-3716-10
Реле, розетка штепсельная, фонарь освещения под капотом 4081-3702
Батарея аккумуляторная 40811-3703
Переключатель 40810-3709
Сигнал звуковой и выключатели 4014М-3721
Щиток приборов 40810-3805
Щиток приборов 4081-3831
Насос гидравлический 4014Д-461Г
Установка гидравлического распределителя 40814-4612
Цилиндр подъема 40814-4613-10
Гидроцилиндр наклона 4081-4614
Бак масляный 4014-4615-11
Фильтр масляный 4085-4616
Гидропроводы 40810-4617
Регулятор потока 4088-4672
Клапан 4088-4690
Привод гидравлических насосов 40810-4618
Рамы грузоподъемника 40814-4601
Механизм подъема 40614-4602
Каретка 40914-4603
Вилы 4014-4620-30
Автопогрузчик 40810, 41.015
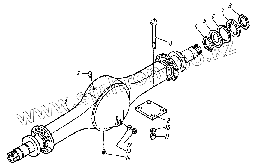
130Г-2300010
1
2
3
4
5
6
7
8
9
10
11
12
13
14
Позиция на иллюстрации
Заводской номер детали
Название детали
130Г-2300010
130Г-2300010
Мост ведущий в сборе
1
130Г-2401010
Картер ведущего моста
2
307913-П
Сапун в сборе
3
4014-2300022
Болт М24х2х215
4
130-2401054
Гайка внутренняя в сборе
5
120-2401043
Корпус сальника
6
120-2401044
Набивка сальника
7
120-2401050
Шайба замковая
8
120-2401052
Гайка внешняя
9
4014-2300015
Пластина нижняя
10
252143-П29
Шайба 24
11
250709-П29
Гайка М24х2
12
305000-П
Пробка
13
306308-П
Кольцо в сборе
14
262519-П
Пробка сливная
Содержащиеся в справочниках-каталогах запасные части и детали не предлагаются к продаже, а носят исключительно информационный характер
Дополнительная информация
×
Название:
Номер:
Примечание: