Каталог запасных частей к технике: ЛЗА 40810. Гидропроводы 40810-4617
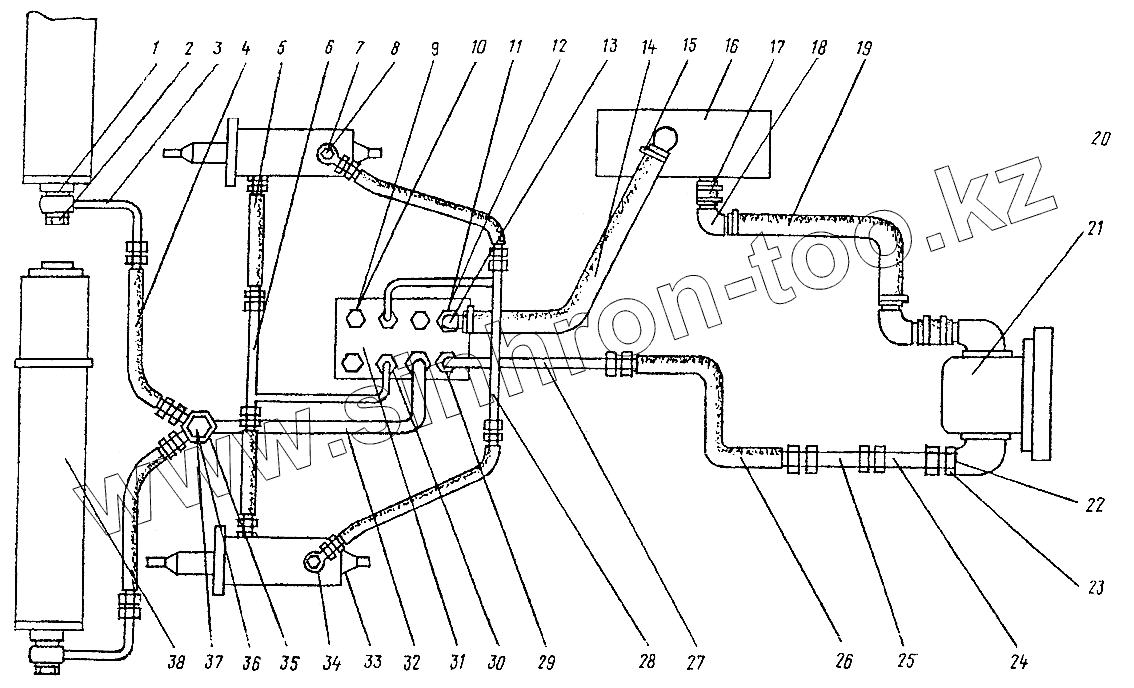
1
2
3
4
5
6
7
8
9
10
11
12
13
14
15
16
17
18
19
20
21
22
23
24
25
26
27
28
29
30
31
32
33
34
35
36
37
38
38
| Позиция на иллюстрации | Заводской номер детали | Название детали | |
|---|---|---|---|
| 1 | 4085-4617270 | Прокладка | |
| 2 | 4088-4690010 | Клапан в сборе | |
| 3 | 40814-4617070-40 | Переходник | |
| 4 | 4085-4617120 | Рукав | |
| 5 | 4085-4617115 | Рукав | |
| 6 | 40814-4617132 | Труба | |
| 7 | 4084-4617100 | Клапан обратнодросселирующий | |
| 8 | 4014М-4617180 | Прокладка | |
| 9 | 4085-4617310-20 | Заглушка | |
| 10 | 024-030-36-2-2 | Кольцо | |
| 11 | 4018-4617180 | Штуцер | |
| 12 | 030-035-30-2-2 | Кольцо уплотнительное | |
| 13 | 4085-4617330-20 | Угольник | |
| 14 | НА-315/15 | Рукав | |
| 15 | 4000-1303029 | Хомут в сборе | |
| 16 | 4014-4615010-11 | Бак масляный | |
| 17 | 120-1303029 | Шланг | |
| 18 | 4014-4617200 | Угольник | |
| 19 | НА-315/26 | Рукав | |
| 20 | 4045МЭ-4617028 | Хомут в сборе | |
| 21 | НШ71-3-2 | Насос гидравлический | |
| 22 | НШ46-0505040-В | Кольцо уплотнительное | |
| 23 | Штуцер | Штуцер | |
| 24 | 40810-4617135 | Труба | |
| 25 | 40810-4617145 | Труба | |
| 26 | 4085-4617210 | Рукав | |
| 27 | 40814-4617140 | Труба | |
| 28 | 4014М-4617137-20 | Труба | |
| 29 | 4085-4617207-20 | Штуцер | |
| 30 | 4085-4617204-20 | Штуцер | |
| 31 | РС-162-15 | Гидрораспределитель | |
| 32 | 40814-4617130-40 | Труба | |
| 33 | 4081-4614010 | Гидроцилиндр наклона в сборе | |
| 34 | 4085-3408080 | Переходник | |
| 35 | 40814-4617055-40 | Тройник | |
| 36 | 4085-4672360 | Прокладка | |
| 37 | 4088-4672010 | Регулятор потока | |
| 38 | 40814-4613010-10 | Гидроцилиндр в сборе | |
| 38 | 40814-4613011-10 | Гидроцилиндр в сборе |
Содержащиеся в справочниках-каталогах запасные части и детали не предлагаются к продаже, а носят исключительно информационный характер