Каталог запасных частей к технике: Luneng LN-918. Transmission
1
2
3
4
5
6
7
8
9
10
11
12
13
14
15
16
17
18
19
20
21
22
23
24
25
26
27
28
29
30
31
32
33
34
35
36
37
38
39
40
41
42
43
44
45
46
47
48
49
50
51
52
53
54
55
56
57
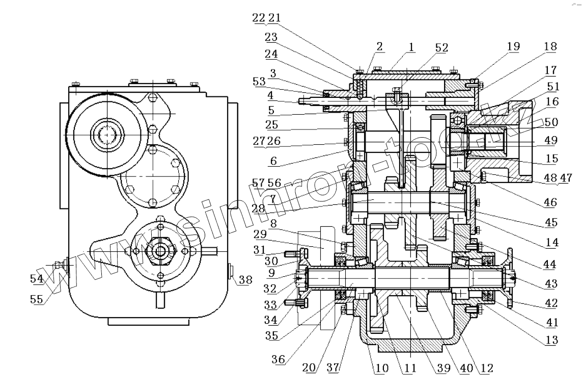
| Позиция на иллюстрации | Заводской номер детали | Название детали | |
|---|---|---|---|
| 1 | ZL12Y-016(A) | Cover | |
| 2 | ZL12Y-015(A) | Cover | |
| 3 | ZL12Y-013B | Shaft | |
| 4 | ZL12Y-012(A) | Space Bushing | |
| 5 | ZL09Y-009A | Yoke | |
| 6 | ZL12Y-024 | Cover | |
| 7 | ZL12Y-023 | Cover | |
| 8 | ZL12Y-014 | Space Bushing | |
| 9 | ZL08Y-013 | Flange Washer | |
| 10 | ZL12Y-016A | Converter Housing | |
| 11 | ZL12Y-028 | Washer | |
| 12 | ZL12Y-027 | Space Bushing | |
| 13 | ZL12Y-029 | Space Bushing | |
| 14 | ZL12Y-022 | Cover | |
| 15 | ZL12Y-019 | Washer | |
| 16 | ZL12Y-017A | Space Bushing | |
| 17 | ZL12Y-021 | Bushing | |
| 18 | ZL08Y-018 | Cover | |
| 19 | ZL12Y-011 | Bushing | |
| 20 | ZL12Y-030 | Space Bushing | |
| 21 | GB5783-86 | Bolt | |
| 22 | GB93-88 | Washer | |
| 23 | GB/T1358-93 | Spring | |
| 24 | JB/T5301-91 | Steel Ball | |
| 25 | GB276-94 | Bearing | |
| 26 | GB5783-86 | Bolt | |
| 27 | GB93-87 | Washer | |
| 28 | ZL12Y-003 | Shaft | |
| 29 | BJ130 | Brake | |
| 30 | ZL08Y-005 | Flange | |
| 31 | ZL08Y-020 | Bolt | |
| 32 | GB91-86 | Cotter Pin | |
| 33 | GB6178-86 | Nut | |
| 34 | GB3452.1-88 | O-Ring | |
| 35 | GB/T9874.1-88 | Oil Seal | |
| 36 | ZL12Y-002 | Shaft | |
| 37 | GB297-94 | Bearing | |
| 38 | JB1000-77 | Plug | |
| 39 | ZL12Y-004 | Gear | |
| 40 | ZL12Y-006 | Gear | |
| 41 | GB/T9874.1-88 | Oil Seal | |
| 42 | ZL08Y-003 | Flange | |
| 43 | ZL12Y-005 | Gear | |
| 44 | ZL12Y-007 | Gear | |
| 45 | GB894.2-86 | Circlip | |
| 46 | GB276-94 | Bearing | |
| 47 | GB899-88 | Double headed stud | |
| 48 | GB93-87 | Washer | |
| 49 | ZL12Y-001 | Shaft | |
| 50 | ZL12Y-008 | Bushing | |
| 51 | GB894.2-86 | Circlip | |
| 52 | GB5783-86 | Bolt | |
| 53 | GB/T9874.1-88 | Oil Seal | |
| 54 | JB3659.1-84 | Breather Plug | |
| 55 | JB982-77 | Washer | |
| 56 | JB1000-77 | Plug | |
| 57 | JB982-77 | Washer |
Содержащиеся в справочниках-каталогах запасные части и детали не предлагаются к продаже, а носят исключительно информационный характер