Каталог запасных частей к технике: Lonking (LongGong) CMD-835E. Implement Assembly System
1
2
3
4
5
6
7
8
9
9
10
11
12
13
14
15
16
17
18
19
20
21
22
23
24
25
25
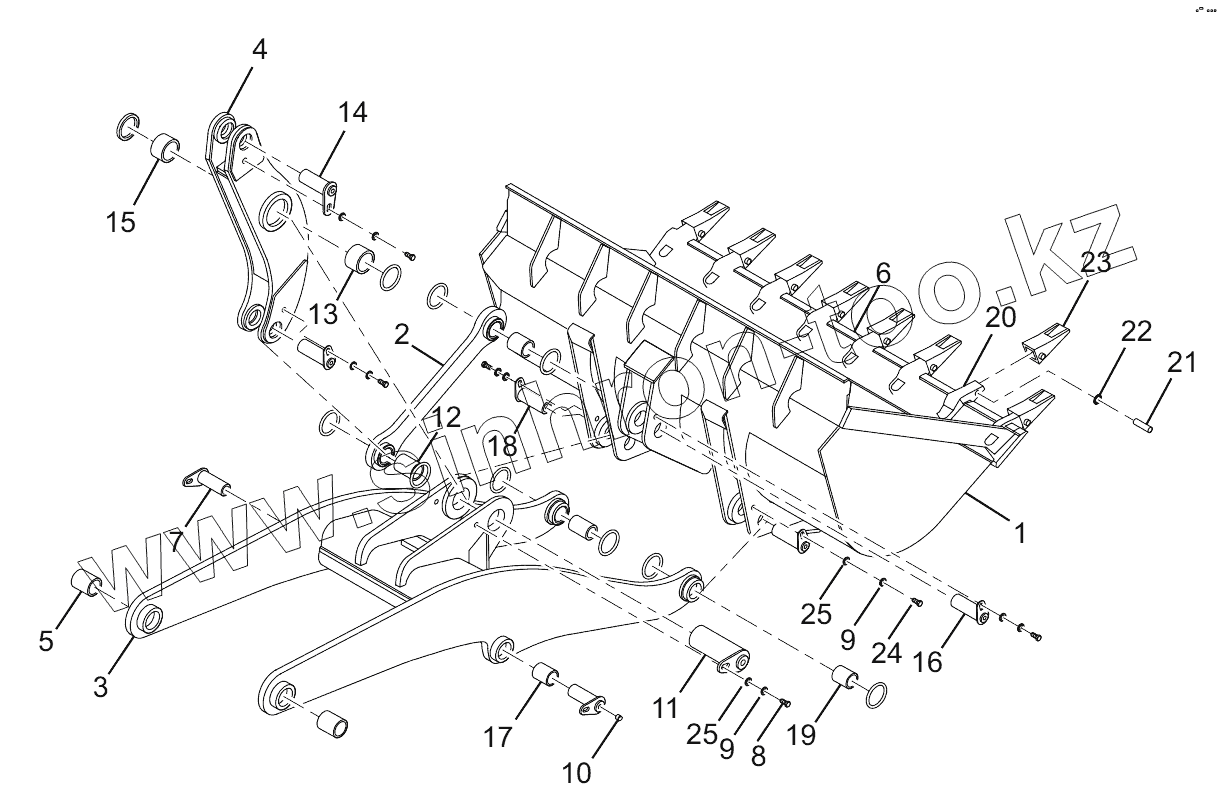
| Позиция на иллюстрации | Заводской номер детали | Название детали | |
|---|---|---|---|
| 1 | CDM835E.11I.01 | Bucket | |
| 2 | LG30F.11.02 | Poll rod | |
| 3 | CDM835E.11I.03 | Lift arm | |
| 4 | LG833.11.04 | Tilt arm | |
| 5 | LG843.11-007 | Lift arm lower bush | |
| 6 | CDM835.11.01-001 | Main cutting edge | |
| 7 | LG833.11.08 | Lift arm upper pin weldment | |
| 8 | GB/T5783 | Bolt | |
| 9 | GB/93 | Washer | |
| 10 | JB/T7940.1 | Straight pressure oil cup | |
| 11 | LG833.11.06 | Tilt arm support shaft | |
| 12 | LG843.11-002 | Pull rod bush | |
| 13 | LG843.11-005 | Tilt arm support bush | |
| 14 | LG833.11.07 | Tilt arm end pin | |
| 15 | LG843.11-004 | Tilt arm sleeve | |
| 16 | LG833.11.05 | Bucket upper pin weldment | |
| 17 | LG853.10-012 | Sleeve | |
| 18 | LG833.11.09 | Lower pin weldment of bucket | |
| 19 | LG843.11-007 | Lift arm lower bush | |
| 20 | CDM853.11.01-002 | Tooth adapter | |
| 21 | LG855.11III.01-024 | Pin | |
| 22 | LG855.11III.01-025 | Circlip | |
| 23 | LG855.11III.01-026 | Tooth | |
| 24 | GB/T5783 | Bolt | |
| 25 | GB/T97.1 | Washer |
Содержащиеся в справочниках-каталогах запасные части и детали не предлагаются к продаже, а носят исключительно информационный характер