Каталог запасных частей к технике: Lonking (LongGong) CMD-835E. Electrical System
1
2
3
3
4
4
5
6
7
8
9
10
11
12
13
14
15
16
17
18
19
20
21
22
23
24
25
26
27
28
29
30
31
32
33
34
35
36
37
38
39
40
41
42
43
44
45
46
47
48
49
50
51
52
53
54
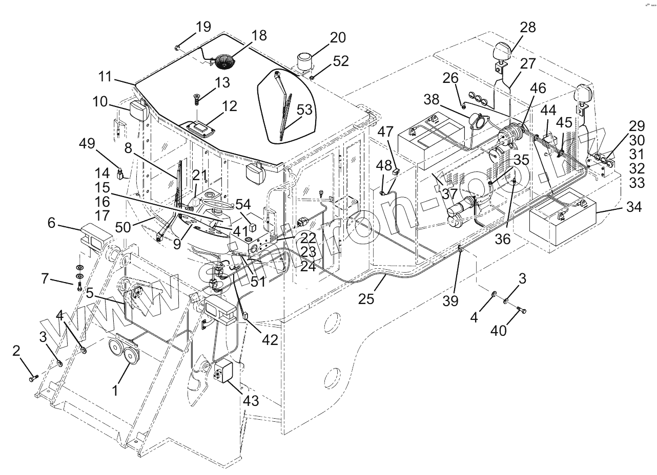
| Позиция на иллюстрации | Заводской номер детали | Название детали | |
|---|---|---|---|
| 1 | LG853.15.09 | Electrical horn assembly | |
| 2 | GB/T5783-2000 | Bolt | |
| 3 | GB/T93-1987 | Washer | |
| 4 | GB/T97.1-2002 | Washer | |
| 5 | CDM835E.15I.01 | Front frame harness | |
| 6 | CDM858A.15I.11 | Front combined lamp | |
| 7 | GB/T5783-2000 | Bolt | |
| 8 | CDM856E.15I.22 | Wiper assembly | |
| 9 | CDM835E.15I.17 | Meter assembly | |
| 10 | CDM835E.15.12 | Front lamp | |
| 11 | CDM835E.15I.02 | Cab harness | |
| 12 | LG856.15.25 | Rectangle ceiling lamp | |
| 13 | GB/T845-1985 | Taper screw | |
| 14 | LG853.15.42 | Combined switch | |
| 15 | GB/T818-2000 | Screw | |
| 16 | GB/T93-1987 | Washer | |
| 17 | CDM855EII.15.14 | Firing switch | |
| 18 | LG855.15.45 | Fan | |
| 19 | GB/T6170-2000 | Nut | |
| 20 | CDM858A.15II.48 | Warning lamp | |
| 21 | LG856.15I.32 | Center electric control box | |
| 22 | CDM835E.15I.38 | Air-conditioning | |
| 23 | GB/T5783-2000 | Bolt | |
| 24 | GB/T6170-2000 | Nut | |
| 25 | CDM835E.15I.03 | Rear frame harness | |
| 26 | CDM833I.15.16 | Water temperature sensor | |
| 27 | CDM856E.15I.04 | Engine hood lamp harness | |
| 28 | LG856.15.21 | Anti-flaring lamp | |
| 29 | LG50C.15I.28 | Taillights | |
| 30 | GB/T93-1987 | Washer | |
| 31 | GB/T97.1-2002 | Washer | |
| 32 | GB/T67-2000 | Screw | |
| 33 | GB/T6170-2000 | Nut | |
| 34 | LG30F.15.26 | Battery | |
| 35 | CDM856E.15I.29 | Engine oil pressure sensor | |
| 36 | LG853.15.27 | Low pressure warning switch | |
| 37 | CDM835E.15I.05 | Battery wire | |
| 38 | CDM858A.15II.50 | Main power switch | |
| 39 | LG853.01-005 | Wire clip | |
| 40 | GB/T5783-2000 | Bolt | |
| 41 | CDM835E.15I.07 | Instrument panel harness | |
| 42 | LG853.15.30 | Brake lamp switch | |
| 43 | LG856.15.34 | Centralized lubrication system | |
| 44 | CDM855E.15II.20 | Buzzer | |
| 45 | LG853.15-001 | Nylon strip | |
| 46 | LG835.15I.46 | Compressor support | |
| 47 | CDM858.15.31 | Transmission oil pressure alarm switch | |
| 48 | LG856.15.30 | Transmission oil temperature sensor | |
| 49 | CDM835E.15.32 | Fuel oil level sensor | |
| 50 | CDM835E.15I.34 | Panel switcher group | |
| 51 | LG856.15.18 | MP3 player | |
| 52 | GB/T923-88 | Cap nut | |
| 53 | CDM835E.15I.11 | Wiper assembly | |
| 54 | CDM835E.15I.35 | Replay |
Содержащиеся в справочниках-каталогах запасные части и детали не предлагаются к продаже, а носят исключительно информационный характер