Каталог запасных частей к технике: Lonking (LongGong) CMD-835E.01I. Electrical System (CDM835E.15IV)
1
2
3
3
4
4
5
6
7
8
9
10
11
12
12
13
14
15
16
17
18
19
20
21
22
23
24
25
26
27
28
29
30
31
32
33
34
35
36
37
38
39
40
41
42
43
43
44
45
46
47
48
49
50
51
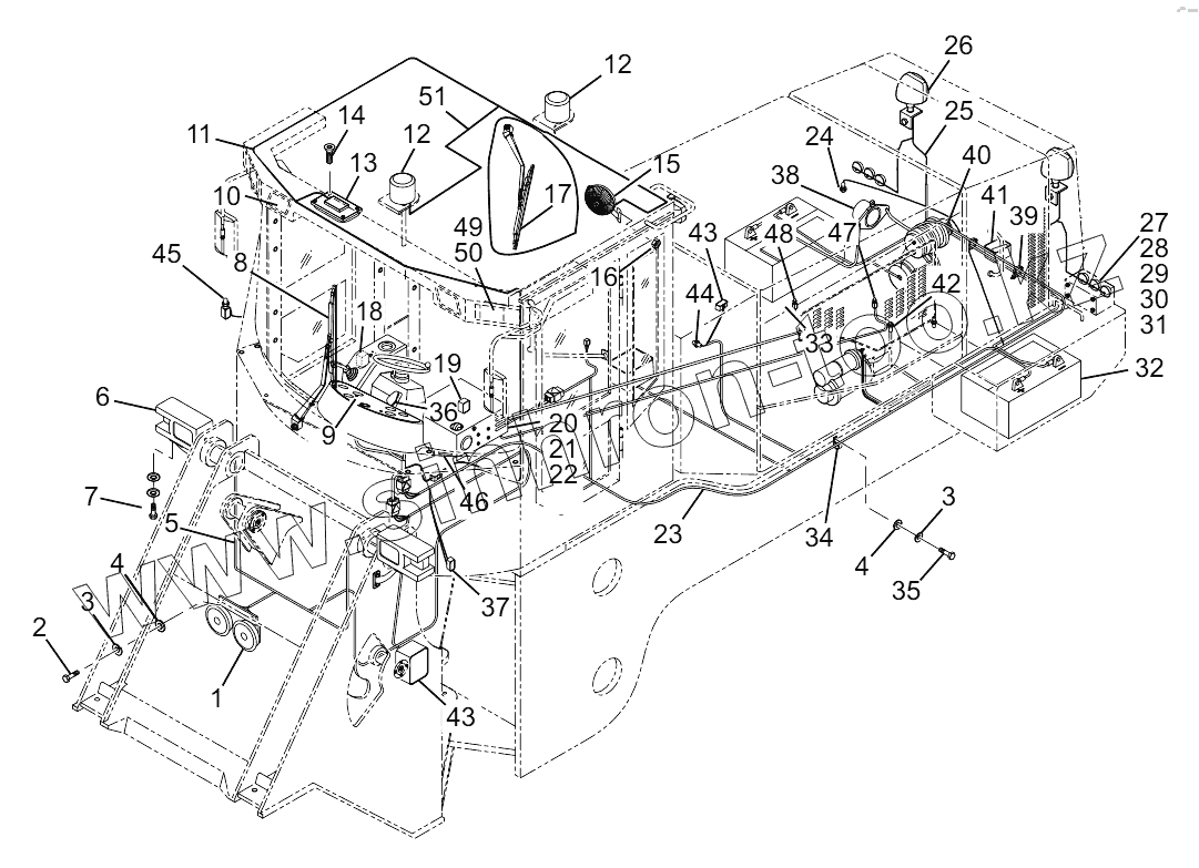
| Позиция на иллюстрации | Заводской номер детали | Название детали | |
|---|---|---|---|
| 1 | LG853.15.09 | Electrical horn assembly | |
| 2 | GB/T5783-2000 | Bolt | |
| 3 | GB/T93-1987 | Washer | |
| 4 | GB/T97.1-2002 | Washer | |
| 5 | CDM835E.15II.01 | Front frame harness | |
| 6 | LG853.15.10 | Front combined lamp | |
| 7 | GB/T5783-2000 | Bolt | |
| 8 | CDM856E.15I.22 | Wiper assembly | |
| 9 | CDM835E.15II.60 | Meter assembly | |
| 10 | CDM835E.15.12 | Front lamp | |
| 11 | CDM835E.15II.02 | Cab harness | |
| 12 | CDM835E.15IV.48 | Warning lamp | |
| 13 | LG856.15.25 | Rectangle ceiling lamp | |
| 14 | GB/T845-1985 | Taper screw | |
| 15 | LG855.15.45 | Fan | |
| 16 | GB/T6170-2000 | Nut | |
| 17 | CDM835E.15I.11 | Wiper assembly | |
| 18 | LG856.15I.32 | Center electric control box | |
| 19 | CDM835E.15I.35 | Replay | |
| 20 | CDM835E.15I.38 | Air-conditioning | |
| 21 | GB/T5783-2000 | Bolt | |
| 22 | GB/T6170-2000 | Nut | |
| 23 | CDM835E.15I.03 | Rear frame harness | |
| 24 | CDM833I.15.16 | Water temperature sensor | |
| 25 | CDM856E.15I.04 | Engine hood lamp harness | |
| 26 | LG856.15.21 | Anti-flaring lamp | |
| 27 | LG50C.15I.28 | Taillights | |
| 28 | GB/T93-1987 | Washer | |
| 29 | GB/T97.1-2002 | Washer | |
| 30 | GB/T67-2000 | Screw | |
| 31 | GB/T6170-2000 | Nut | |
| 32 | LG30F.15.26 | Battery | |
| 33 | CDM835E.15I.05 | Battery wire | |
| 34 | LG853.01-005 | Wire clip | |
| 35 | GB/T5783-2000 | Bolt | |
| 36 | CDM835E.15II.07 | Instrument panel harness | |
| 37 | LG853.15.30 | Brake lamp switch | |
| 38 | CDM855E.15II.20 | Buzzer | |
| 39 | LG853.15-001 | Nylon strip | |
| 40 | CDM835E.15I.46 | Compressor support | |
| 41 | CDM858A.15II.50 | Main power switch | |
| 42 | CDM856E.15I.29 | Engine oil pressure sensor | |
| 43 | CDM858.15.31 | Transmission oil pressure alarm switch | |
| 44 | LG856.15.30 | Transmission oil temperature sensor | |
| 45 | CDM835E.15.32 | Fuel oil level sensor | |
| 46 | LG856.15.18 | MP3 player | |
| 47 | CDM835E.15I-003 | Inlet joint return | |
| 48 | CDM835E.15I-002 | Inlet joint entry | |
| 49 | LG856.15.23 | Front working lamp | |
| 50 | LG856.15.24 | Front steering lamp | |
| 51 | CDM835E.15IV.09 | Warning lamp harness |
Содержащиеся в справочниках-каталогах запасные части и детали не предлагаются к продаже, а носят исключительно информационный характер