Каталог запасных частей к технике: Lonking (LongGong) CDM-860.00. Implement system
1
2
3
4
5
6
7
8
9
10
11
12
13
14
15
16
17
18
19
20
21
22
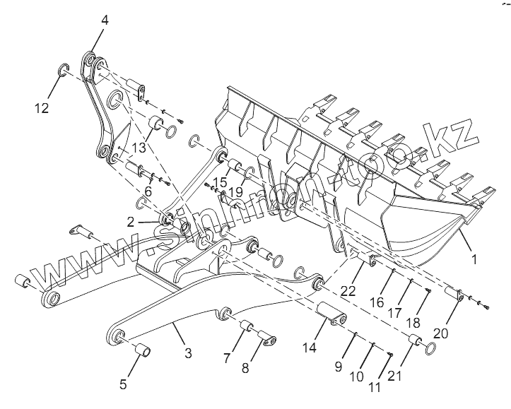
| Позиция на иллюстрации | Заводской номер детали | Название детали | |
|---|---|---|---|
| 1 | LG860.11.01 | Bucket | |
| 2 | LG860.11.02 | Pull rod | |
| 3 | CDM860.11.03 | Lift arm | |
| 4 | LG860.11.04 | Tilt arm | |
| 5 | CDM860.11-001 | Lift upper pin sleeve | |
| 6 | JB/T7940.1 | Straight pressure oil cup | |
| 7 | CDM860.11-002 | Lift cylinder upper pin sleeve | |
| 8 | LG860.11.05 | Lift cylinder upper pin weldment | |
| 9 | GB/T97.1 | Washer | |
| 10 | GB/T93 | Washer | |
| 11 | GB/T5783 | Bolt | |
| 12 | GB9877.1-1988 | Oil seal | |
| 13 | CDM860.11-003 | Tilt arm middle shaft sleeve | |
| 14 | LG860.11.06 | Tilt arm middle pin weldment | |
| 15 | CDM860.11-004 | Pull rod bush | |
| 16 | GB/T93 | Washer | |
| 17 | GB/T97.1 | Washer | |
| 18 | GB/T5783 | Bolt | |
| 19 | LG860.11-005 | O-ring | |
| 20 | LG860.11.07 | Bucket upper pin weldment | |
| 21 | CDM860.11-005 | Lift arm lower shaft sleeve | |
| 22 | LG860.11.08 | Bucket lower pin weldment |
Содержащиеся в справочниках-каталогах запасные части и детали не предлагаются к продаже, а носят исключительно информационный характер