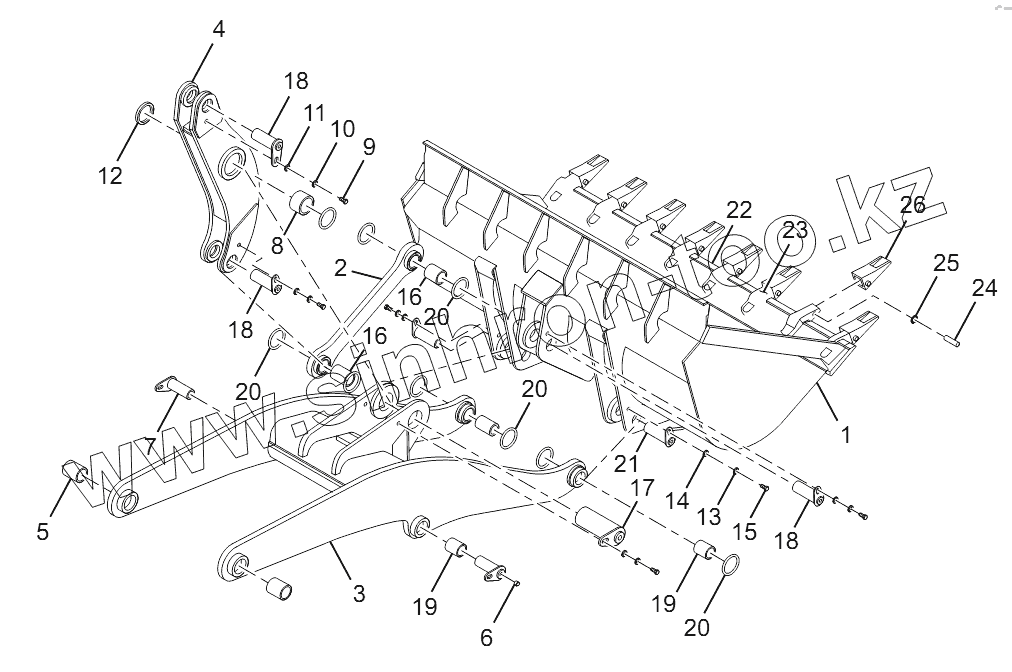
Каталог запасных частей к технике: Lonking (LongGong) CDM-853.00. Implement System (CDM853.11)
1
2
3
4
5
6
7
8
9
10
11
12
13
14
15
16
16
17
18
18
18
19
19
20
20
20
20
21
22
23
24
25
26
| Позиция на иллюстрации | Заводской номер детали | Название детали | |
|---|---|---|---|
| 1 | CDM853.11.01 | Bucket | |
| 2 | LG853.11.02 | Pull rod | |
| 3 | LG855.11.03 | Lift arm | |
| 4 | LG853.11.04 | Tilt arm | |
| 5 | LG853.11-001 | Lift arm upper shaft sleeve | |
| 6 | JB/T7940.1-1995 | Oil cup | |
| 7 | LG855.11.05 | Lift cylinder upper pin weldment | |
| 8 | LG853.11-002 | Tilt arm middle shaft sleeve | |
| 9 | GB/T5783 | Bolt | |
| 10 | GB/T93 | Washer | |
| 11 | GB/T97.1 | Washer | |
| 12 | GB9877.1-88 | Oil seal | |
| 13 | GB/T93 | Washer | |
| 14 | GB/T97.1 | Washer | |
| 15 | GB/T5783 | Bolt | |
| 16 | LG853.11-004 | Pull rod shaft sleeve | |
| 17 | LG853.11.06 | Tilt arm middle pin weldment | |
| 18 | LG853.11.07 | Bucket upper pin weldment | |
| 19 | LG853.11-003 | Lift arm lower shaft sleeve | |
| 20 | LG853.11-005 | O-ring | |
| 21 | LG853.11.08 | Bucket lower pin weldment | |
| 22 | CDM853.11.01-001 | Main cutting board | |
| 23 | CDM853.11.01-002 | Tooth adapter | |
| 24 | LG855.11III.01-024 | Pin | |
| 25 | LG855.11III.01-025 | Circlip | |
| 26 | LG855.11III.01-026 | Tooth |
Содержащиеся в справочниках-каталогах запасные части и детали не предлагаются к продаже, а носят исключительно информационный характер