Каталог запасных частей к технике: Lonking (LongGong) CDM-833. CABIN SYSTEM (30812900225)
1
2
3
4
5
6
7
8
9
10
11
12
13
14
15
16
17
18
19
20
21
22
23
24
25
26
27
28
29
30
31
32
33
34
35
36
37
38
39
40
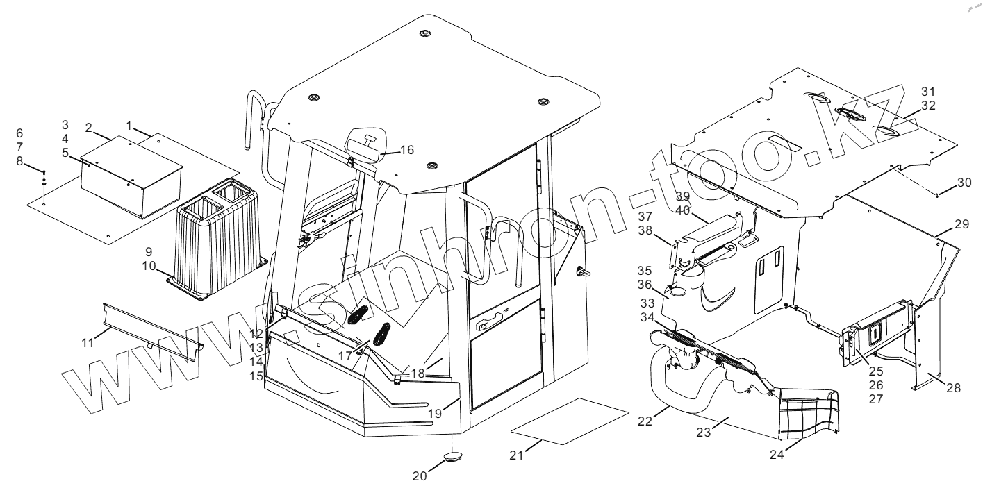
| Позиция на иллюстрации | Заводской номер детали | Название детали | |
|---|---|---|---|
| 1 | 30812000608 | Middle surface welding | |
| 2 | 30812000613 | Controller seat | |
| 3 | 51777000101 | Butterfly bolt | |
| 4 | 51401080107 | Spring lock washer | |
| 5 | 51420080121 | Plain washer | |
| 6 | 51204091014 | Bolt | |
| 7 | 51401090107 | Washer | |
| 8 | 51420090119 | Washer 8 | |
| 9 | 30881000607 | Pilot control housing | |
| 10 | 30881000612 | Pilot control housing | |
| 11 | 30881000365 | Shade | |
| 12 | 30812102020 | Glass press plate | |
| 13 | 51158170304 | Screw M5x10 | |
| 14 | 51421070115 | Washer | |
| 15 | 51401070107 | Washer | |
| 16 | 60900001625 | Inner mirror assembly | |
| 17 | 30881101819 | Paper gasket | |
| 18 | 60900002883 | Ground pad | |
| 19 | 30881000613 | Cab sound absorption spronge assembly | |
| 20 | 30812102022 | Sealed cover of base | |
| 21 | 30812102051 | Left movable faceplate | |
| 22 | 60900001600 | A/C air duct assembly | |
| 23 | 60900001596 | Front boarding | |
| 24 | 60900001597 | Left front boarding | |
| 25 | 60900001607 | Left door trim | |
| 26 | 60900001608 | Left door upper cover | |
| 27 | 60900001609 | Cover of left door lock | |
| 28 | 60900001604 | Left rear boarding | |
| 29 | 60900001603 | Rear boarding | |
| 30 | 60900001624 | Clamp assembly | |
| 31 | 60900001623 | Inner ceiling decoration | |
| 32 | 30881101705 | Inner ceiling decoration | |
| 33 | 60900001598 | Right front boarding | |
| 34 | 60900001599 | Air outlet cover | |
| 35 | 60900001605 | Right rear boarding | |
| 36 | 30881101708 | Right rear boarding | |
| 37 | 51166450211 | Tapping screw ST 4.8x13 | |
| 38 | 51166450411 | Tapping screw ST4.8x19 | |
| 39 | 60900001611 | Right door trim | |
| 40 | 60900001612 | Right door upper cover |
Содержащиеся в справочниках-каталогах запасные части и детали не предлагаются к продаже, а носят исключительно информационный характер