Вернуться на главную
Поиск
Каталоги запчастей к технике
Спецтехника
Lonking (LongGong)
CDM-816
Differential assembly
Каталог запасных частей к технике: Lonking (LongGong) CDM-816. Differential assembly
zoom-in
zoom-out
enlarge
shrink
circle-right
circle-left
file-text2
info
cart
Тип техники
Не выбрано
Легковые автомобили
Грузовые автомобили и прицепы
Автобусы
Сельхозтехника
Спецтехника
Двигатели
Мототехника
Марка
Не выбрано
Ammann
BOMAG
CARMIX
CASE IH
Changlin
ChengGong
Dimex
Doosan
DYNAPAC
Foton
HAMM
Hidromek
Hitachi
Hyundai
JCB
JLG
John Deere
Komatsu
LIEBHERR
LiuGong
Lonking (LongGong)
Luneng
MANITOU
Mitsuber
New Holland
PENGPU
RM-Terex
SANY
SDLG
SEM
Shantui
Shehwa HBXG
Soosan
TIGARBO
VOGELE
Volvo
WAY
WIRTGEN
XCMG
XGMA
Xiamen
YTO
Yuchai
Zoomlion
Автокран
АЗСМ
Алтайлесмаш
Амкодор
АОМЗ
Атек
АТЗ
Балканкар Рекорд
БелАЗ
Беловеж
Борекс
Брянский Арсенал
Булат
ВЭКС
ГАЗ
Геомаш
Гидромаш
Донекс
Дормаш
Дормашина
Дорэлектромаш
ДЭЗ
ЕлАЗ
ЗЗГТ
Ижнефтемаш
Канаш-электрокар
КЗКТ
ККЗ
Клевер
Клинцовский автокрановый завод
КМЗ
КМЗ 1 Мая
Ковровец
Коммаш
Кранэкс
КЭЗ
КЭМЗ
ЛЗА
МАЗ
МЗИК
МЗКМ
МЗКТ
Михневский РМЗ
МоАЗ
Мозырский МЗ
МТЗ
ОЗП
Онежец
ПАО "ТЗА"
ППС Детва
Промтрактор
ПТЗ
Раскат
СпецАгрегат
ТВЭКС
ТТМ
УВЗ
Угличмаш
УЗТМ
ХТЗ
ЧЗКМ
ЧСДМ
ЧТЗ
ЭКСКО
ЭКСМАШ
ЮрМаш
Модель
Не выбрано
CDM-1165 (2009)
CDM-1185 (2009)
CDM-1220 (2009)
CDM-307 (2013)
CDM-308 (2013)
CDM-312 (2013)
CDM-512D (2014)
CDM-514D (2014)
CDM-520A (K) (2010)
CDM-6065 (2013)
CDM-6150 (2012)
CDM-6240 (2015)
CDM-6365H (2012)
CDM-6485H (2013)
CDM-816
CDM-816 (2010)
CDM-816 (2011)
CDM-816-D (2018)
CDM-833
CDM-833
CDM-833.00 (2010)
CDM-833H
CDM-835E VI.00 (2015)
CDM-835E VII.00I (2015)
CDM-835E VIII.00I (2015)
CDM-843
CDM-853.00 (2010)
CDM-853N.00I (2017)
CDM-855E
CDM-855E (2009)
CDM-855EG
CDM-855EK
CDM-855EM
CDM-856
CDM-856D (2010)
CDM-860.00 (2010)
CMD-835E (2009)
CMD-835E.01I (2010)
LG-160DT (2012)
LG-833NIV.00I (2017)
LG20, LG25, LG30, LG35 (2013)
LG50-60-70 (2014)
LG50CVII.00I (2015)
LG833NG (2015)
ZL50NC (2015)
Схема
>
Не выбрано
Diesel Engine System (CDM816B.01)
Diesel Engine System (CDM816B.01)
Troque converter System (LG816B.02)
Troque converter assembly (LG816.02.01)
Transmission and torque converter hydraulic System (LG816.02.02)
Transmission System (LG816.03)
Transmission assembly (LG816.03.01)
Shaft I assembly (LG816.03.01.11)
Shaft II assembly (LG816.03.01.03)
Shaft III assembly (LG816.03.01.05)
Shaft IV assembly (LG816.03.01.06)
Shaft V assembly (LG816.03.01.08)
Axle system (LG816B.04)
Front and rear axle assembly (Front: LG816.04.01, Back: LG816.04.04)
Main reducer assembly
Differential assembly
Control system (LG816.05)
Speed control system (LG816.05.01)
Implement control assembly (LG816.05.02)
Steering hydraulic system (LG816.06)
Steering cylinder (LG816.06.03A)
Implement hydraulic system (LG816B.07)
Turn fights oil cylinder (LG816B.07.01)
Arm oil cylinder (LG816.07.02D)
Return oil body parts (ZL20D-4.00)
Type o reversing valves of (ZL20D-2.00)
Type o reversing valves of (ZL20D-3.00)
Service brake system (LG816B.08)
Air tank assembly (LG816.08.04)
Parking brake system (LG816.09)
Frame system (LG816B.10II)
Implement System (LG816B.11)
Cab system (CDM816B.12)
Out panel system (LG816B.13)
Hood assembly (LG816B.13.06III)
Fuel tank assembly (LG816B.13.08)
Hydraulic oil tank (LG816B.13.09)
Designation and Scutcheon system (LG816B.14)
Electrical system (CDM816B.15)
Electrical diagram
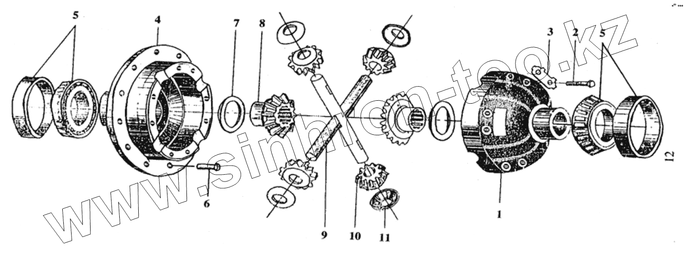
1
2
3
4
5
5
6
7
8
9
10
11
Позиция на иллюстрации
Заводской номер детали
Название детали
1
ZL15F-2403012
Right housing of differential
2
ZL15F-2403015
Differential housing bolt
3
ZL15F-2403014
Locking gasket
4
ZL15F-2403013
Left housing of differential
5
GB297-84
Bearing
6
ZL15F2.5-4
RIVET
7
ZL15F-2403051
Axle shaft gasket
8
ZL15F-2403050
Axle shaft
9
ZL15F-2403061
Differential planetary gear shaft
10
ZL15F-2403055
Planetary gear
11
ZL15F-2403058
Planetary gear gasket
Содержащиеся в справочниках-каталогах запасные части и детали не предлагаются к продаже, а носят исключительно информационный характер
Дополнительная информация
×
Название:
Номер:
Примечание: