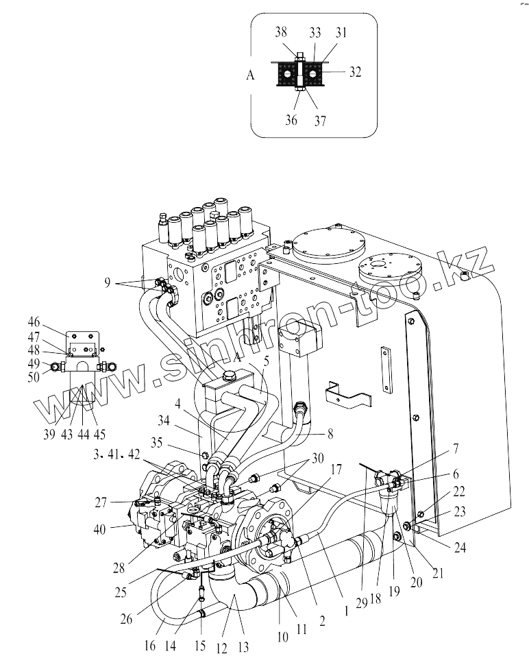
Каталог запасных частей к технике: Lonking (LongGong) CDM-6240. MAIN PUMP LINES
1
2
3
4
5
6
7
8
9
10
11
12
13
14
15
16
17
18
19
20
21
22
23
24
25
26
27
28
29
30
31
32
33
34
35
36
37
38
39
40
41
42
43
44
45
46
47
48
49
50
| Позиция на иллюстрации | Заводской номер детали | Название детали | |
|---|---|---|---|
| 1 | 17272000296 | HOSE ASS’Y | |
| 2 | 60911010018 | END STRAIGHT CONNECTOR | |
| 3 | 60911011152 | FLANGE CLIP | |
| 4 | 17272002713 | HOSE ASS’Y | |
| 5 | 17272002714 | HOSE ASS’Y | |
| 6 | 60911010024 | RIGHT-ANGLE CONNECTOR | |
| 7 | 60911010657 | END STRAIGHT CONNECTOR | |
| 8 | 17272006780 | HOSE ASS’Y | |
| 9 | 60911011234 | FLANGE CLIP | |
| 10 | 30605100149 | OIL SUCTION HOSE | |
| 11 | 56931004701 | CLAMP SLTB-95~103/19 | |
| 12 | 30605000100 | PUMP CONNECTING PIPE | |
| 13 | 56900000704 | O-RING 69.4x3.53 | |
| 14 | 51139230408 | SCREW M12x35 | |
| 15 | 51401110122 | WASHER 12 | |
| 16 | 17272000303 | HOSE ASS’Y | |
| 17 | 60911010019 | END STRAIGHT CONNECTOR | |
| 18 | 51421080121 | WASHER 6 | |
| 19 | 51203081821 | BOLT M6X60 | |
| 20 | 60308000153 | PRESSURE FILTER | |
| 21 | 30605000101 | MOUNTING PLATE | |
| 22 | 30605000102 | DAMPING WASHER | |
| 23 | 51204101222 | BOLTM10x30 | |
| 24 | 51420100122 | WASHER 10 | |
| 25 | 17272006781 | HOSE ASS’Y | |
| 26 | 60911010600 | THREE-WAY OIL PRESSURE CONNECTOR | |
| 27 | 60911010016 | END STRAIGHT CONNECTOR | |
| 28 | 17272006782 | HOSE ASS’Y | |
| 29 | 17272000055 | HOSE ASS’Y | |
| 30 | 60911011026 | TRANSITION CONNECTOR | |
| 31 | 30605100413 | RUBBER DOUBLE PIPE CLAMP | |
| 32 | 30605100151 | STEEL SLEEVE | |
| 33 | 30605100152 | PRESS PLATE | |
| 34 | 30605100046 | PIPE CLAMP SEAT | |
| 35 | 51204111322 | BOLT M12x35 | |
| 36 | 51203132621 | BOLT M16x100 | |
| 37 | 51421130121 | WASHER 16 | |
| 38 | 51307001322 | NUT M16 | |
| 39 | 60308000167 | OIL FILTER | |
| 40 | 60301000011 | MAIN PUMP | |
| 41 | 51139220508 | SCREW M10x35 | |
| 42 | 51401100122 | WASHER 12 | |
| 43 | 30605100695 | BRACKET, OIL FILTER | |
| 44 | 51204111022 | BOLT M12x20 | |
| 45 | 51421110121 | WASHER 12 | |
| 46 | 30605100824 | PLATE | |
| 47 | 51204091022 | BOLT M8x20 | |
| 48 | 51421090121 | WASHER 8 | |
| 49 | 60911010381 | STRAIGHT CONNECTOR | |
| 50 | 60911010025 | RIGHT-ANGLE CONNECTOR |
Содержащиеся в справочниках-каталогах запасные части и детали не предлагаются к продаже, а носят исключительно информационный характер