Каталог запасных частей к технике: Lonking (LongGong) CDM-6240. ARM ASSY
1
2
2
2
2
3
4
4
5
5
6
6
7
8
9
9
9
9
9
9
9
10
10
11
11
12
13
14
15
16
17
17
18
18
18
18
18
19
20
21
22
23
24
25
26
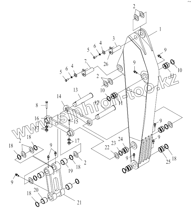
| Позиция на иллюстрации | Заводской номер детали | Название детали | |
|---|---|---|---|
| 1 | 30616000020 | ARM | |
| 2 | 30615100618 | ADJUST SHIM | |
| 3 | 30615000012 | CYLINDER PIN ASS'Y, ARM | |
| 4 | 30612101184 | SHIM PLATE | |
| 5 | 51204134222 | BOLT M16x30 | |
| 6 | 51401130122 | SPRING WASHER 16 | |
| 7 | 30616000046 | PIN ASS'Y | |
| 8 | 51203133121 | BOLT M16x150 | |
| 9 | 60980000683 | GREASE FITTING PT1/8 | |
| 10 | 60980000065 | DUST SEAL 90x105x6 | |
| 11 | 30616100164 | STEEL SLEEVE | |
| 12 | 30616000044 | PIN ASS'Y, LINK | |
| 13 | 30616000045 | PIN ASS'Y, LINK | |
| 14 | 30616100104 | LINK, R.H. | |
| 15 | 51203133021 | BOLT M16x140 | |
| 16 | 30616000026 | LINK, L.H. | |
| 17 | 51307001322 | NUT M16 | |
| 18 | 60980000064 | DUST SEAL Ф80x95x6 | |
| 19 | 30616100168 | STEEL SLEEVE | |
| 20 | 30616100169 | STEEL SLEEVE | |
| 21 | 30616100163 | LINK | |
| 22 | 30616100120 | ADJUST SHIM | |
| 23 | 60980000063 | DUST SEAL Ф70x85x6 | |
| 24 | 30616100159 | STEEL SLEEVE | |
| 25 | 30616100160 | STEEL SLEEVE | |
| 26 | 30616100318 | PLUG |
Содержащиеся в справочниках-каталогах запасные части и детали не предлагаются к продаже, а носят исключительно информационный характер