Каталог запасных частей к технике: Lonking (LongGong) CDM-6150. ENGINE II
1
2
3
4
5
6
6
6
7
7
8
9
10
11
12
13
14
15
16
16
17
18
19
20
21
22
23
24
24
25
26
27
28
29
30
31
32
33
34
35
36
37
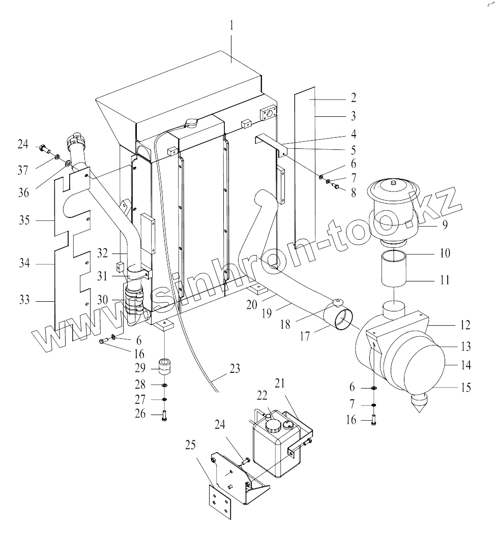
| Позиция на иллюстрации | Заводской номер детали | Название детали | |
|---|---|---|---|
| 1 | 60102000035 | RADIATOR ASS'Y | |
| 2 | 30601100253 | BAFFLE I | |
| 3 | 60919010048 | SEAL L1100 | |
| 4 | 30601100255 | SUPPORT | |
| 5 | 51307000922 | NUT M8 | |
| 6 | 51421090121 | WASHER 8 | |
| 7 | 51401090122 | WASHER 8 | |
| 8 | 51204091122 | BOLT M8x25 | |
| 9 | 60101100723 | AIR CLEANER | |
| 10 | 30601100329 | AIR INLET HOSE | |
| 11 | 56931000301 | T CLAMP 108-116 | |
| 12 | 60980000290 | BRACKET | |
| 13 | 30001014800 | AIR CLEANER ASS'Y | |
| 14 | 60308000134 | MAIN ELEMENT | |
| 15 | 60308000135 | SAFETY ELEMENT | |
| 16 | 51204091522 | BOLT M8Ч45 | |
| 17 | 60911010596 | CONNECTOR, AIR | |
| 18 | 60405020067 | PRESSURE DIFFERENCE | |
| 19 | 56931001601 | T CLAMP 102-110 | |
| 20 | 30601100328 | AIR INLET HOSE II | |
| 21 | 30601000086 | BRACKET, AUXILIARY | |
| 22 | 60102000002 | AUXILIARY WATER TANK ASS'Y | |
| 23 | 60911010116 | WATER PIPE d19Ч800 | |
| 24 | 51204101122 | BOLT M10x25 | |
| 25 | 30601000082 | MOUNTING PLATE, RADIATOR | |
| 26 | 51203112021 | BOLT M12Ч70 | |
| 27 | 51401110122 | WASHER 12 | |
| 28 | 51421110121 | WASHER 12 | |
| 29 | 60922010009 | SHOCK PAD ASS'Y | |
| 30 | 30601100331 | AIR INLET HOSE IV | |
| 31 | 60911010606 | CLAMP 62-65 | |
| 32 | 30601100326 | AIR INLET PIPE I | |
| 33 | 60919010047 | SEAL L1500 | |
| 34 | 30601100256 | BAFFLE | |
| 35 | 30601100254 | BAFFLE II | |
| 36 | 51421100121 | WASHER 10 | |
| 37 | 51401100122 | WASHER 12 | |
| 38 | 60911011016 | CLAMP 8-12 |
Содержащиеся в справочниках-каталогах запасные части и детали не предлагаются к продаже, а носят исключительно информационный характер