Каталог запасных частей к технике: Lonking (LongGong) CDM-6150. ARM ASSY
1
2
3
4
4
4
4
4
4
5
5
6
6
7
7
8
9
10
11
11
11
11
12
13
14
15
16
16
17
18
18
18
19
20
20
20
21
22
23
24
25
26
27
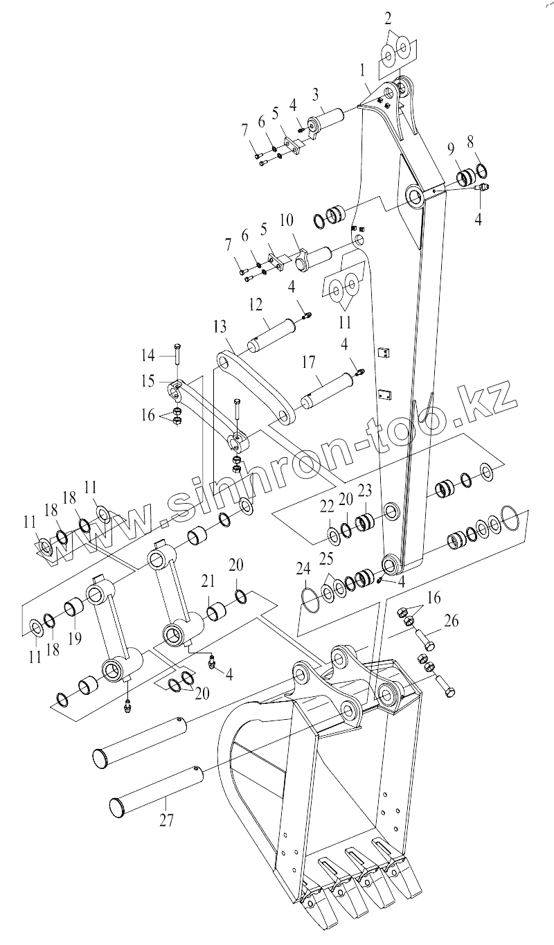
| Позиция на иллюстрации | Заводской номер детали | Название детали | |
|---|---|---|---|
| 1 | 30616000081 | ARM WELDING | |
| 2 | 30616100263 | ADJUST SHIMS d71Чd120 | |
| 3 | 30616000067 | PIN 3 | |
| 4 | 56201000501 | Oil cup | |
| 5 | 30615100306 | PLATE | |
| 6 | 51421110121 | WASHER 12 | |
| 7 | 51204111222 | BOLT M12x30 | |
| 8 | 60980000063 | DUST SEAL Ф70x85x6 | |
| 9 | 30616100264 | STEEL SLEEVE d70Чd85Ч74 | |
| 10 | 30616000066 | PIN 2 | |
| 11 | 30616100267 | ADJUST SHIMS d66Чd110 | |
| 12 | 30616100310 | PIN 1 | |
| 13 | 30616100199 | LINK, L.H. | |
| 14 | 51203132821 | BOLT M16Ч120 | |
| 15 | 30616000055 | LINK, R.H. | |
| 16 | 51307001322 | NUT M16 | |
| 17 | 30616100333 | PIN 4 | |
| 18 | 60980000299 | DUST SEAL d65Чd80Ч6 | |
| 19 | 30616100269 | STEEL SLEEVE 3 d65Чd80Ч58 | |
| 20 | 60980000300 | DUST SEAL d60Чd75Ч6 | |
| 21 | 30616100268 | STEEL SLEEVE 2 d60Чd75Ч94 | |
| 22 | 30615100391 | ADJUST SHIMS d61Чd110 | |
| 23 | 30616100265 | STEEL SLEEVE 1 d60Чd75Ч74 | |
| 24 | 56145047505 | O-RING d128Ч7 | |
| 25 | 30617100000 | ADJUST SHIMS d61Чd110 | |
| 26 | 51203133121 | BOLT M16x150 | |
| 27 | 30617100155 | PIN |
Содержащиеся в справочниках-каталогах запасные части и детали не предлагаются к продаже, а носят исключительно информационный характер