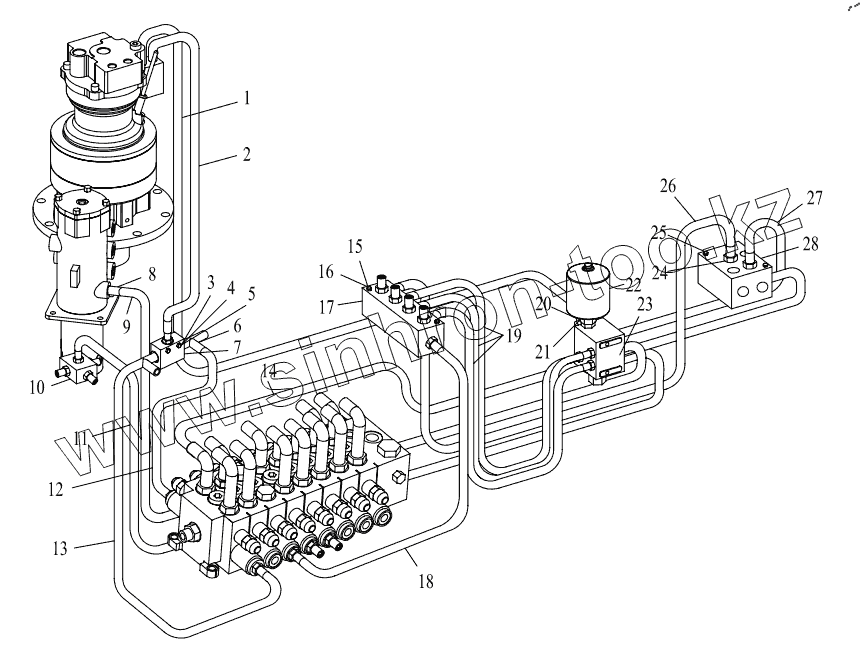
Каталог запасных частей к технике: Lonking (LongGong) CDM-6065. PILOT LINES
1
2
3
4
5
6
7
8
9
10
11
12
13
14
15
16
17
18
19
20
21
22
23
24
25
26
27
28
| Позиция на иллюстрации | Заводской номер детали | Название детали | |
|---|---|---|---|
| 1 | 17272000069 | HOSE ASS'Y | |
| 2 | 17272000056 | HOSE ASS'Y | |
| 3 | 51203081421 | BOLT M6x40 | |
| 4 | 51401080122 | WASHER 6 | |
| 5 | 51421080121 | WASHER 6 | |
| 6 | 60911010037 | THREE-WAY CONNECTOR | |
| 7 | 60304000010 | SHUTTLE VALVE | |
| 8 | 60911010015 | STRAIGHT CONNECTOR | |
| 9 | 17272000004 | HOSE ASS'Y | |
| 10 | 60911010041 | FIVE-WAY CONNECTOR | |
| 11 | 17272000070 | HOSE ASS'Y | |
| 12 | 17272004422 | HOSE ASS'Y | |
| 13 | 17272004423 | HOSE ASS'Y | |
| 14 | 51203091721 | BOLT M8x55 | |
| 15 | 51421090121 | WASHER 8 | |
| 16 | 60911010040 | TEN-WAY CONNECTOR | |
| 17 | 17272000068 | HOSE ASS'Y | |
| 18 | 17272000002 | HOSE ASS'Y | |
| 19 | 17272000076 | HOSE ASS'Y | |
| 20 | 51204091022 | BOLT M8x20 | |
| 21 | 51401090122 | WASHER 8 | |
| 22 | 17001006021 | OIL SOURCES VALVE ASS'Y | |
| 23 | 60911010002 | STRAIGHT CONNECTOR | |
| 24 | 60911010016 | END STRAIGHT CONNECTOR | |
| 25 | 51204091022 | BOLT M8x20 | |
| 26 | 17272000006 | HOSE ASS'Y | |
| 27 | 17272000071 | HOSE ASS'Y | |
| 28 | 60401020001 | SOLENOID VALVE |
Содержащиеся в справочниках-каталогах запасные части и детали не предлагаются к продаже, а носят исключительно информационный характер