Каталог запасных частей к технике: Lonking (LongGong) CDM-6065. ENGINE II
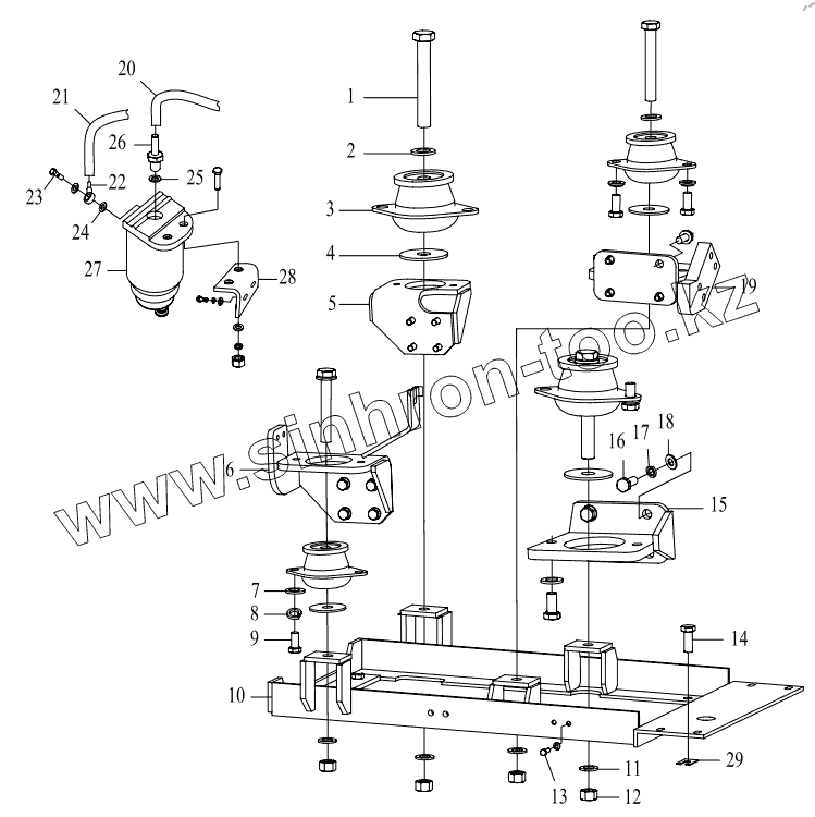
1
2
3
4
5
6
7
8
9
10
11
12
13
14
15
16
17
18
19
20
21
22
23
24
25
26
27
28
29
| Позиция на иллюстрации | Заводской номер детали | Название детали | |
|---|---|---|---|
| 1 | 51203132721 | BOLT M16x110 | |
| 2 | 51422130121 | WASHER 16 | |
| 3 | 60920010002 | DAMPER, ENGINE | |
| 4 | 30601100001 | WASHER | |
| 5 | 30601000012 | SUPPORT | |
| 6 | 30601000003 | SUPPORT | |
| 7 | 51421110121 | WASHER 12 | |
| 8 | 51401110122 | WASHER 12 | |
| 9 | 51204111122 | BOLT M12x25 | |
| 10 | 30601000002 | UNDERFRAME | |
| 11 | 51401130122 | SPRING WASHER 16 | |
| 12 | 51307001319 | Nut | |
| 13 | 51204101622 | BOLT M10x50 | |
| 14 | 51204133722 | BOLT M16x40 | |
| 15 | 30601000009 | SUPPORT | |
| 16 | 51204101222 | BOLTM10x30 | |
| 17 | 51401100122 | WASHER 12 | |
| 18 | 51421100121 | WASHER 10 | |
| 19 | 30601000011 | SUPPORT | |
| 20 | 60911010057 | HOSE 8x15.5x800 | |
| 21 | 60911010053 | HOSE 8x15.5x850 | |
| 22 | 30601000017 | HINGED CONNECTOR | |
| 23 | 30601100076 | LINK BOLT | |
| 24 | 60980000251 | WASHER | |
| 25 | 56145004305 | O-RING 15x1.8 | |
| 26 | 30601100077 | JOINTS | |
| 27 | 60101100002 | FUEL FILTER | |
| 28 | 30601000001 | BRACKET | |
| 29 | 30601100002 | WASHER |
Содержащиеся в справочниках-каталогах запасные части и детали не предлагаются к продаже, а носят исключительно информационный характер