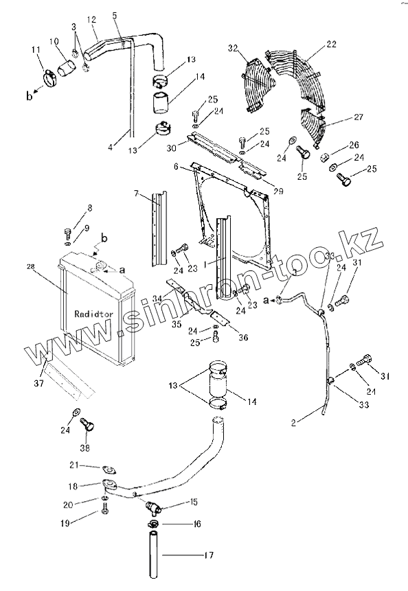
Каталог запасных частей к технике: LiuGong CLG-B160. 00E0574 RADIATOR PIPING AND WIND BREAK
1
2
3
3
4
5
6
7
8
9
10
11
12
13
13
13
14
14
15
16
17
18
19
20
21
22
23
23
24
24
24
24
24
24
24
24
24
24
25
25
25
25
25
26
27
28
29
30
31
31
32
33
33
34
35
36
37
38
| Позиция на иллюстрации | Заводской номер детали | Название детали | |
|---|---|---|---|
| 1 | 38C0260 | Shield-lh | |
| 2 | 04C0208 | Hose | |
| 3 | 15B0118 | Clamp | |
| 4 | 04C0210 | Hose | |
| 5 | 37B0010 | Соединения блокировочного кабеля | |
| 6 | 12A2945 | Bottom plate | |
| 7 | 38C0259 | Shield-rh | |
| 8 | 00B0103 | BOLT | |
| 9 | 06B0416 | Washer | |
| 10 | 04C0209 | Hose | |
| 11 | 15B0133 | Clamp | |
| 12 | 38A2057 | Tube | |
| 13 | 15B0132 | Clamp | |
| 14 | 04C0206 | Hose | |
| 15 | 78A0335 | Valve | |
| 16 | 83A1040 | Clamp | |
| 17 | 04C0207 | Hose | |
| 18 | 38A2056 | Pipe | |
| 19 | 00B0386 | BOLT | |
| 20 | 06B0397 | Washer | |
| 21 | 83A1041 | Rubber washer | |
| 22 | 00D4414 | Guard | |
| 23 | 00B0563 | Bolt | |
| 24 | 06B0396 | Washer | |
| 25 | 00B0331 | BOLT | |
| 26 | 03B0289 | Гайка | |
| 27 | 00D4413 | Guard | |
| 28 | 04D0840 | Radiator gp | |
| 29 | 38C0265 | Top cover | |
| 30 | 38C0264 | Top cover | |
| 31 | 00B0524 | Bolt | |
| 32 | 00D4415 | Guard | |
| 33 | 34C1530 | Clip | |
| 34 | 38C0263 | Protection shield | |
| 35 | 38C0262 | Protection shield | |
| 36 | 38C0261 | Protection shield | |
| 37 | 38C0335 | Baffle | |
| 38 | 00B0236 | BOLT |
Содержащиеся в справочниках-каталогах запасные части и детали не предлагаются к продаже, а носят исключительно информационный характер