Каталог запасных частей к технике: LiuGong CLG-922LC. SWING MOTOR
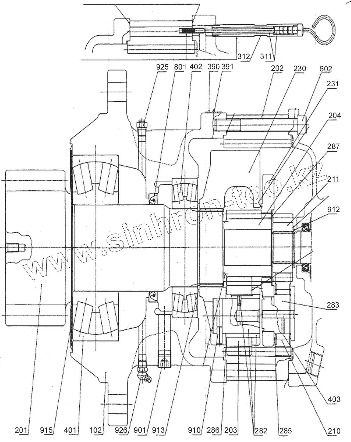
102
201
202
203
204
210
211
230
231
282
283
285
286
287
311
312
390
391
401
402
403
602
801
901
910
912
913
915
925
926
| Позиция на иллюстрации | Заводской номер детали | Название детали | |
|---|---|---|---|
| 30 | 6321120-0209 | SUB-ASS'Y.NO.1 CARRIER B | |
| 40 | 6202500-0205 | SUB-ASS'Y.LEVEL BAR SA | |
| 102 | 6323310-0438 | CASING B | |
| 104 | 6323310-0422 | CASING A,REAR | |
| 201 | 6324250-0949 | SHAFT A,DRIVE | |
| 202 | 6303190-0506 | GEAR A,RING | |
| 203 | 6303190-0505 | GEAR A,NO.2 PLANET | |
| 204 | 6303190-0504 | GEAR A,NO.2 SUN | |
| 210 | 6303190-0503 | GEAR A,NO.1 PLANET | |
| 211 | 6303190-0502 | GEAR B,NO.1 SUN | |
| 230 | 6324120-0203 | CARRIER A,NO.2 | |
| 231 | 6324120-0202 | CARRIER A,NO.1 | |
| 282 | 6303540-0539 | PIN A,NO.2 | |
| 283 | 6303540-0538 | PIN A,NO.1 | |
| 285 | 6333360-0949 | PLATE C,THRUST | |
| 286 | 6333360-0858 | PLATE ,THRUST | |
| 287 | 6333360-0859 | PLATE B,THRUST | |
| 311 | 6302500-0203 | BAR SA,LEVEL | |
| 312 | 6326390-0203 | PIPE SA | |
| 390 | PNPA-2550B | PLATE,NAME | |
| 391 | OSK2548 | PIN | |
| 401 | P22322H | BRG,SPHERICAL ROLLER | |
| 402 | P22220 | BRG,SPHERICAL ROLLER | |
| 403 | PKT506532X | CAGE,NEEDLE | |
| 601 | OBM1640M | HEX,HEAD BOLT | |
| 602 | OSBM16150 | SCREW,HEX.S.H.C | |
| 801 | PTC10513514 | SEAL,OIL | |
| 802 | PCPP106 | O-RING | |
| 901 | OBP12U | PLUG | |
| 903 | OBP34U | PLUG | |
| 910 | OSPV825 | PIN,SPRING | |
| 912 | OSR40 | RING,SNAP | |
| 913 | OSR100 | RING,SNAP | |
| 915 | 6326210-0207 | SEAL,BEARING | |
| 925 | 6303560-0786 | FITTING,RELIEF | |
| 926 | 6303560-0787 | NIPPLE,GREASE | |
| 930 | 0BP14U | PLUG |
Содержащиеся в справочниках-каталогах запасные части и детали не предлагаются к продаже, а носят исключительно информационный характер