Каталог запасных частей к технике: LiuGong CLG-922LC. MULTI CONTROL VALVE
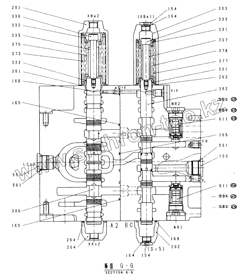
153
154
154
164
164
165
165
165
166
169
201
202
203
204
261
262
264
306
331
331
332
332
333
335
336
337
373
375
377
378
392
551
561
561
611
611
| Позиция на иллюстрации | Заводской номер детали | Название детали | |
|---|---|---|---|
| 101 | VZ33170-1616 | CASING A | |
| 102 | VZ33170-1613 | CASING B | |
| 103 | V0305152788 | BLOCK,STRAIGHT-TRAVEL VALVE | |
| 104 | V0303112509 | BLOCK,BOOM PRIORITY VALVE | |
| 153 | 0ROH34 | ROH PLUG | |
| 154 | 0ROH38 | ROH PLUG | |
| 155 | 0ROH12 | ROH PLUG | |
| 158 | PBP116-2403 | PLUG | |
| 159 | VZ50101400 | PLUG | |
| 162 | 00RBP26 | O-RING | |
| 163 | 00RBP7 | O-RING | |
| 164 | 00RBP14 | O-RING | |
| 165 | 00RBG30 | O-RING | |
| 166 | 00RBP10 | O-RING | |
| 167 | 00RBP18 | O-RING | |
| 168 | 00RBP22 | O-RING | |
| 169 | 00RBG35 | O-RING | |
| 201 | VZ40101148 | COVER SPRING | |
| 202 | VZ50103504 | COVER SPOOL | |
| 203 | VZ40103496 | COVER SPRING | |
| 204 | VZ33140-0091 | COVER SPOOL | |
| 205 | VZ33140-0093 | COVER SPOOL | |
| 206 | VZ40101152 | COVER ARM | |
| 207 | VZ33140-0768 | COVER SPRING | |
| 209 | VZ03580-0141 | FLANGE | |
| 252 | V9605208996 | ASSY LOCK VALVE | |
| 253 | VZ33140-1068 | COVER,SWING ROAD CHECK | |
| 261 | VZ50102761H50 | O-RING | |
| 262 | VZ50102761H39 | O-RING | |
| 264 | 00RBG40 | O-RING | |
| 272 | 0SBM840 | SCREW HEX S H C | |
| 273 | 0SBM825 | SCREW HEX S H C | |
| 301 | VZ03320-3747 | SPOOL TRAVEL | |
| 302 | VZ31200-0143 | ASSY ARM(1) SPOOL | |
| 303 | VZ03320-0875 | SPOOL BOOM(1) | |
| 304 | VZ31200-1023 | ASS‘Y BUCKET SPOOL | |
| 305 | VZ03320-0878 | SPOOL SWING | |
| 306 | VZ03320-0178 | SPOOL ARM(2) | |
| 307 | VZ03320-0876 | SPOOL BOOM(2) | |
| 309 | VZ03320-0180 | SPOOL OPTION | |
| 310 | VZ03320-0879 | SPOOL TRAVEL | |
| 328 | VZ50106424 | SPRING | |
| 329 | VZ50106695 | SPRING | |
| 331 | VZ50103529 | SEAT SPING | |
| 332 | VZ50103142 | SEAT SPING | |
| 333 | VZ50105183 | BOLT SPACER | |
| 334 | VZ50106102 | STOPPER | |
| 335 | VZ50101296 | STOPPER | |
| 336 | VZ50101297 | BOLT SPACER | |
| 337 | VZ50105182 | STOPPER | |
| 339 | VZ33260-0013 | STOPPER | |
| 355 | VZ33330-0028 | PISTON | |
| 371 | VZ50102138 | SPRING | |
| 372 | VZ50103812 | SPRING | |
| 373 | VZ03340-0119 | SPRING | |
| 374 | VZ03340-0073 | SPRING | |
| 375 | VZ03340-0074 | SPRING | |
| 376 | VZ03340-0168 | SPRING | |
| 377 | VZ50106424 | SPRING | |
| 378 | VZ50106695 | SPRING | |
| 392 | VZ03320-2469 | SPOOL BYPATH-CUT | |
| 395 | VZ03320-0880 | SPOOL SWING PRIORITY | |
| 511 | VZ03610-0026 | POPPET | |
| 515 | VZ03610-0015 | POPPET | |
| 516 | VZ03610-0028 | POPPET | |
| 517 | VZ03610-0619 | POPPET | |
| 521 | VZ50101290 | SPRING | |
| 523 | VZ03340-0294 | SPRING | |
| 551 | OROMH27 | ROMH PLUG | |
| 552 | VZ03560-0117 | PLUG | |
| 561 | 00RBP24 | O-RING | |
| 602 | V9606259181 | ASSY PORT RELIEF | |
| 603 | V9507247658 | ASSY PORT RELIEF | |
| 611 | VZ02360-8251 | ASSY NEGA-CON RELIEF | |
| 971 | 0SBM1020 | SCREW HEX S H C | |
| 974 | 0SBM14100 | SCREW HEX S H C | |
| 975 | 0SBM14140 | SCREW HEX S H C | |
| 976 | 0SBM1490 | SCREW HEX S H C | |
| 977 | PNPA-25508 | NAME PLATE | |
| 978 | 0SK2548 | PIN |
Содержащиеся в справочниках-каталогах запасные части и детали не предлагаются к продаже, а носят исключительно информационный характер