Каталог запасных частей к технике: LiuGong CLG-922LC. MULTI CONTROL VALVE
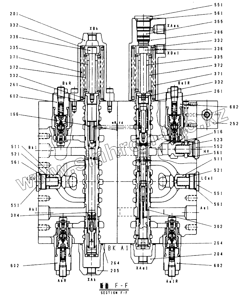
166
201
204
205
206
252
261
261
264
264
302
304
332
332
332
332
335
335
336
336
355
371
371
372
372
511
511
516
521
521
523
551
551
551
552
561
561
561
561
602
602
602
602
| Позиция на иллюстрации | Заводской номер детали | Название детали | |
|---|---|---|---|
| 101 | VZ33170-1616 | CASING A | |
| 102 | VZ33170-1613 | CASING B | |
| 103 | V0305152788 | BLOCK,STRAIGHT-TRAVEL VALVE | |
| 104 | V0303112509 | BLOCK,BOOM PRIORITY VALVE | |
| 153 | 0ROH34 | ROH PLUG | |
| 154 | 0ROH38 | ROH PLUG | |
| 155 | 0ROH12 | ROH PLUG | |
| 158 | PBP116-2403 | PLUG | |
| 159 | VZ50101400 | PLUG | |
| 162 | 00RBP26 | O-RING | |
| 163 | 00RBP7 | O-RING | |
| 164 | 00RBP14 | O-RING | |
| 165 | 00RBG30 | O-RING | |
| 166 | 00RBP10 | O-RING | |
| 167 | 00RBP18 | O-RING | |
| 168 | 00RBP22 | O-RING | |
| 169 | 00RBG35 | O-RING | |
| 201 | VZ40101148 | COVER SPRING | |
| 202 | VZ50103504 | COVER SPOOL | |
| 203 | VZ40103496 | COVER SPRING | |
| 204 | VZ33140-0091 | COVER SPOOL | |
| 205 | VZ33140-0093 | COVER SPOOL | |
| 206 | VZ40101152 | COVER ARM | |
| 207 | VZ33140-0768 | COVER SPRING | |
| 209 | VZ03580-0141 | FLANGE | |
| 252 | V9605208996 | ASSY LOCK VALVE | |
| 253 | VZ33140-1068 | COVER,SWING ROAD CHECK | |
| 261 | VZ50102761H50 | O-RING | |
| 262 | VZ50102761H39 | O-RING | |
| 264 | 00RBG40 | O-RING | |
| 272 | 0SBM840 | SCREW HEX S H C | |
| 273 | 0SBM825 | SCREW HEX S H C | |
| 301 | VZ03320-3747 | SPOOL TRAVEL | |
| 302 | VZ31200-0143 | ASSY ARM(1) SPOOL | |
| 303 | VZ03320-0875 | SPOOL BOOM(1) | |
| 304 | VZ31200-1023 | ASS‘Y BUCKET SPOOL | |
| 305 | VZ03320-0878 | SPOOL SWING | |
| 306 | VZ03320-0178 | SPOOL ARM(2) | |
| 307 | VZ03320-0876 | SPOOL BOOM(2) | |
| 309 | VZ03320-0180 | SPOOL OPTION | |
| 310 | VZ03320-0879 | SPOOL TRAVEL | |
| 328 | VZ50106424 | SPRING | |
| 329 | VZ50106695 | SPRING | |
| 331 | VZ50103529 | SEAT SPING | |
| 332 | VZ50103142 | SEAT SPING | |
| 333 | VZ50105183 | BOLT SPACER | |
| 334 | VZ50106102 | STOPPER | |
| 335 | VZ50101296 | STOPPER | |
| 336 | VZ50101297 | BOLT SPACER | |
| 337 | VZ50105182 | STOPPER | |
| 339 | VZ33260-0013 | STOPPER | |
| 355 | VZ33330-0028 | PISTON | |
| 371 | VZ50102138 | SPRING | |
| 372 | VZ50103812 | SPRING | |
| 373 | VZ03340-0119 | SPRING | |
| 374 | VZ03340-0073 | SPRING | |
| 375 | VZ03340-0074 | SPRING | |
| 376 | VZ03340-0168 | SPRING | |
| 377 | VZ50106424 | SPRING | |
| 378 | VZ50106695 | SPRING | |
| 392 | VZ03320-2469 | SPOOL BYPATH-CUT | |
| 395 | VZ03320-0880 | SPOOL SWING PRIORITY | |
| 511 | VZ03610-0026 | POPPET | |
| 515 | VZ03610-0015 | POPPET | |
| 516 | VZ03610-0028 | POPPET | |
| 517 | VZ03610-0619 | POPPET | |
| 521 | VZ50101290 | SPRING | |
| 523 | VZ03340-0294 | SPRING | |
| 551 | OROMH27 | ROMH PLUG | |
| 552 | VZ03560-0117 | PLUG | |
| 561 | 00RBP24 | O-RING | |
| 602 | V9606259181 | ASSY PORT RELIEF | |
| 603 | V9507247658 | ASSY PORT RELIEF | |
| 611 | VZ02360-8251 | ASSY NEGA-CON RELIEF | |
| 971 | 0SBM1020 | SCREW HEX S H C | |
| 974 | 0SBM14100 | SCREW HEX S H C | |
| 975 | 0SBM14140 | SCREW HEX S H C | |
| 976 | 0SBM1490 | SCREW HEX S H C | |
| 977 | PNPA-25508 | NAME PLATE | |
| 978 | 0SK2548 | PIN |
Содержащиеся в справочниках-каталогах запасные части и детали не предлагаются к продаже, а носят исключительно информационный характер