Вернуться на главную
Поиск
Каталоги запчастей к технике
Спецтехника
LiuGong
CLG-922LC
32E0783(B) ARM ASS`Y
Каталог запасных частей к технике: LiuGong CLG-922LC. 32E0783(B) ARM ASS`Y
zoom-in
zoom-out
enlarge
shrink
circle-right
circle-left
file-text2
info
cart
Тип техники
Не выбрано
Легковые автомобили
Грузовые автомобили и прицепы
Автобусы
Сельхозтехника
Спецтехника
Двигатели
Мототехника
Марка
Не выбрано
Ammann
BOMAG
CARMIX
CASE IH
Changlin
ChengGong
Dimex
Doosan
DYNAPAC
Foton
HAMM
Hidromek
Hitachi
Hyundai
JCB
JLG
John Deere
Komatsu
LIEBHERR
LiuGong
Lonking (LongGong)
Luneng
MANITOU
Mitsuber
New Holland
PENGPU
RM-Terex
SANY
SDLG
SEM
Shantui
Shehwa HBXG
Soosan
TIGARBO
VOGELE
Volvo
WAY
WIRTGEN
XCMG
XGMA
Xiamen
YTO
Yuchai
Zoomlion
Автокран
АЗСМ
Алтайлесмаш
Амкодор
АОМЗ
Атек
АТЗ
Балканкар Рекорд
БелАЗ
Беловеж
Борекс
Брянский Арсенал
Булат
ВЭКС
ГАЗ
Геомаш
Гидромаш
Донекс
Дормаш
Дормашина
Дорэлектромаш
ДЭЗ
ЕлАЗ
ЗЗГТ
Ижнефтемаш
Канаш-электрокар
КЗКТ
ККЗ
Клевер
Клинцовский автокрановый завод
КМЗ
КМЗ 1 Мая
Ковровец
Коммаш
Кранэкс
КЭЗ
КЭМЗ
ЛЗА
МАЗ
МЗИК
МЗКМ
МЗКТ
Михневский РМЗ
МоАЗ
Мозырский МЗ
МТЗ
ОЗП
Онежец
ПАО "ТЗА"
ППС Детва
Промтрактор
ПТЗ
Раскат
СпецАгрегат
ТВЭКС
ТТМ
УВЗ
Угличмаш
УЗТМ
ХТЗ
ЧЗКМ
ЧСДМ
ЧТЗ
ЭКСКО
ЭКСМАШ
ЮрМаш
Модель
Не выбрано
CLG 425 (2010)
CLG 777A-S (2010)
CLG-2040H (2045H, 2050HL, 2040H, 2045H, 2050HL) (2016)
CLG-220 (2008)
CLG-225 (2008)
CLG-365A (2012)
CLG-375 (2008)
CLG-375A (2008)
CLG-385A (2008)
CLG-4165 (2015)
CLG-418 (2008)
CLG-4215 (2010)
CLG-612 (2008)
CLG-614 (2010)
CLG-618 (2010)
CLG-626R
CLG-766 (2015)
CLG-766A (2012)
CLG-816G (2012)
CLG-835
CLG-835 (2015)
CLG-835H (2015)
CLG-836 (2015)
CLG-842
CLG-842
CLG-842 (2015)
CLG-855N (2015)
CLG-856 (2015)
CLG-856H (2015)
CLG-856I
CLG-862 (2015)
CLG-877 (2015)
CLG-888 (2015)
CLG-904С (2007)
CLG-915D
CLG-915D
CLG-920D
CLG-920E (2015)
CLG-922D
CLG-922LC
CLG-922LC (2008)
CLG-925 (2015)
CLG-925D (2015)
CLG-933E (2010)
CLG-B160 (2010)
Схема
>
Не выбрано
45E0906 002 DECAL GROUP
45E0906 002 DECAL GROUP
34E0078 003 REVOLVING FRAME AS
34E0078(A) REVOLVING FRAME
34E0078(B) HANDRAIL
00E0537 013 ENGINE SYSTEM
00E0537(A) ENGINE
00E0537(B) SHOCK ABSORBER MOUNTING
00E0537(C) FAN MOUNTING
00E0537(D) COUPLNG MOUNTING
00E0537(E) AIR FILTER MOUNTING
00E0537(F) MUFFLER MOUNTING
00E0537(G) OIL FILTER PIPE
00E0537(H) FUEL TANK AND SUPPORT
00E0537(I) FUEL PIPE 1
00E0537(J) FUEL PIPE 2
00E0537(K) COOLER SYSTEM PIPE
00E0537(L) RESERVE TANK SUPPORT
21C0431 000 FUEL TANK
20C0576 007 RADIATOR GP
40C0999 000 AIR FILTER
15E0493 000 HYDRAULIC SYSTEM
15E0585 000 HYDRAULIC SYSTEM
15E0494 009 MAIN HYDRAULIC SYSTEM
15E0494(A) OIL INPUT PIPING
15E0494(B) OIL OUTPUT PIPING
15E0494(C) MAIN HYDRAULIC PIPING (1)
15E0494(D) MAIN HYDRAULIC PIPING (2)
15E0494(E) MAIN HYDRAULIC PIPING (3)
15E0494(F) MAIN HYDRAULIC PIPING (4)
15E0494(G) MAIN HYDRAULIC PIPING (5)
15E0494(H) MAIN HYDRAULIC PIPING (6)
15E0494(I) MAIN HYDRAULIC PIPING (7)
15E0494(J) SWING PIPINGS
21C0341 000 HYDRAULIC OIL TANK
11C0841 001 PUMP
11C0590 001 PILOT PUMP
11C0591 001 MAIN PUMP AS
12C1366 001 PRESSURE REDUCING VALVE
12C0778 PRESSURE REDUCING VALVE
15C0203 001 ADJUSTER
12C2158 000 MAIN CONTROL VALVE
12C2158 000 MAIN CONTROL VALVE
12C2158 000 MAIN CONTROL VALVE
12C2466 000 MAIN CONTROL VALVE
12C2466 000 MAIN CONTROL VALVE
12C2466 000 MAIN CONTROL VALVE
11C0587 002 SWING MOTOR & REDUCER
11C0587 002 SWING MOTOR & REDUCER
12C0756 000 CHECK VALVE AS
12C2289 000 CHECK VALVE AS
12C1903 000 CHECK VALVE AS
13E0061 002 TRAVEL HYDRAULIC SYSTEM
13E0061(A) TRAVEL HYDRAULIC SYSTEM (A)
13E0061(B) TRAVEL HYDRAULIC SYSTEM (B)
11C0264 003 TRAVEL MOTOR&REDUCTION GEAR
11C0264 003 TRAVEL MOTOR&REDUCTION GEAR
12C0240 001 ROTARY CONNECTION
12E0115 007 PILOT HYDRAULIC SYSTEM
12E0115(A) PILOT HYDRAULIC SYSTEM (A)
12E0115(B) PILOT HYDRAULIC SYSTEM (B)
12E0115(C) PILOT HYDRAULIC SYSTEM (C)
12E0115(D) PILOT HYDRAULIC SYSTEM (D)
12E0115(E) PILOT HYDRAULIC SYSTEM (E)
12E0115(F) PILOT HYDRAULIC SYSTEM (F)
12E0115(G) PILOT HYDRAULIC SYSTEM (G)
12E0115(H) PILOT HYDRAULIC SYSTEM (H)
12E0115(I) PILOT HYDRAULIC SYSTEM (I)
12E0115(J) PILOT HYDRAULIC SYSTEM (J)
12E0115(K) PILOT HYDRAULIC SYSTEM (K)
12C0914 002 PILOT VALVE GP
12C0925 002 HAND PILOT VALVE
12C0926 002 PILOT VALVE AS
11E0486 001 WORK IMPLEMENT LINES AS
11E0486(A) BUCKET CYLINDER LINES AS
11E0486(B) ARM CYLINDER LINES AS
11E0486(C) BOOM CYLINDER LINES AS
11E0486(D) WORK IMPLEMENT LINES AS
10C0248 000 BUCKET CYLINDER AS
10C0826 000 ARM CYLINDER
10C0260 001 BOOM CYLINDER AS-LH
10C0261 001 BOOM CYLINDER AS-RH
12E0116 002 ATTACHMENT PILOT LINES
12C0256 001 FOOT PILOT VALVE
15E0491 006 ATTACHMENT PLATFORM LINES
11E0487 003 ATTACHMENT WORK LINES
11E0487(A) ATTACHMENT WORK LINES
11E0487(B) ATTACHMENT WORK LINES
11E0487(C) ATTACHMENT WORK LINES
12E0133 002 QUICK CONNECTOR CONTROL LINES
12E0133(A) QUICK CONNECTOR CONTROL LINES
12E0133(B) QUICK CONNECTOR CONTROL LINES
22E0967 000 ELECTRICAL SYSTEM
22E1041 000 ELECTRICAL SYSTEM
22E1042 000 ELECTRICAL SYSTEM
46C3917 001 CAB WIRING AS
46C3917(A) CAB WIRING AS
46C3917(B) CAB WIRING AS
46C3917(C) CAB WIRING AS
46C3917(D) CAB WIRING AS
46C3917(E) CAB WIRING AS
46C3314 001 FLOOR PLATE WIRING AS
46C3918 004 FRAME WIRING AS
46C3918(A) FRAME WIRING AS
46C3918(B) FRAME WIRING AS
46C3918(C) FRAME WIRING AS
46C3918(D) FRAME WIRING AS
46C3918(E) FRAME WIRING AS
46C3918(F) FRAME WIRING AS
46C3918(G) FRAME WIRING AS
46C3918(H) FRAME WIRING AS
46C3918(I) FRAME WIRING AS
46C3924 000 CONTROL CASE AS
46C3922 001 ENGINE WIRING AS
46C3922(A) ENGINE WIRING AS
46C3922(B) ENGINE WIRING AS
46C3922(C) ENGINE WIRING AS
46C4252 000 QUICK COUPLER WIRING AS
46C3649 001 ROTATING BEACON WIRING AS
23E0246 005 AIR CONDITIONING SYSTEM
23E0246(A) AIR CONDITIONING SYSTEM
23E0246(B) AIR CONDITIONING SYSTEM
23E0246(C) AIR CONDITIONING SYSTEM
23E0246(D) AIR CONDITIONING SYSTEM
23E0246(E) AIR CONDITIONING SYSTEM
23E0246(F) AIR CONDITIONING SYSTEM
46C3629 001 CONDENSER
46C3351 002 COMPRESSOR BRACKET AS
32E0783 000 WORK IMPLEMENT SYSTEM
32E0783(A) BOOM ASS`Y
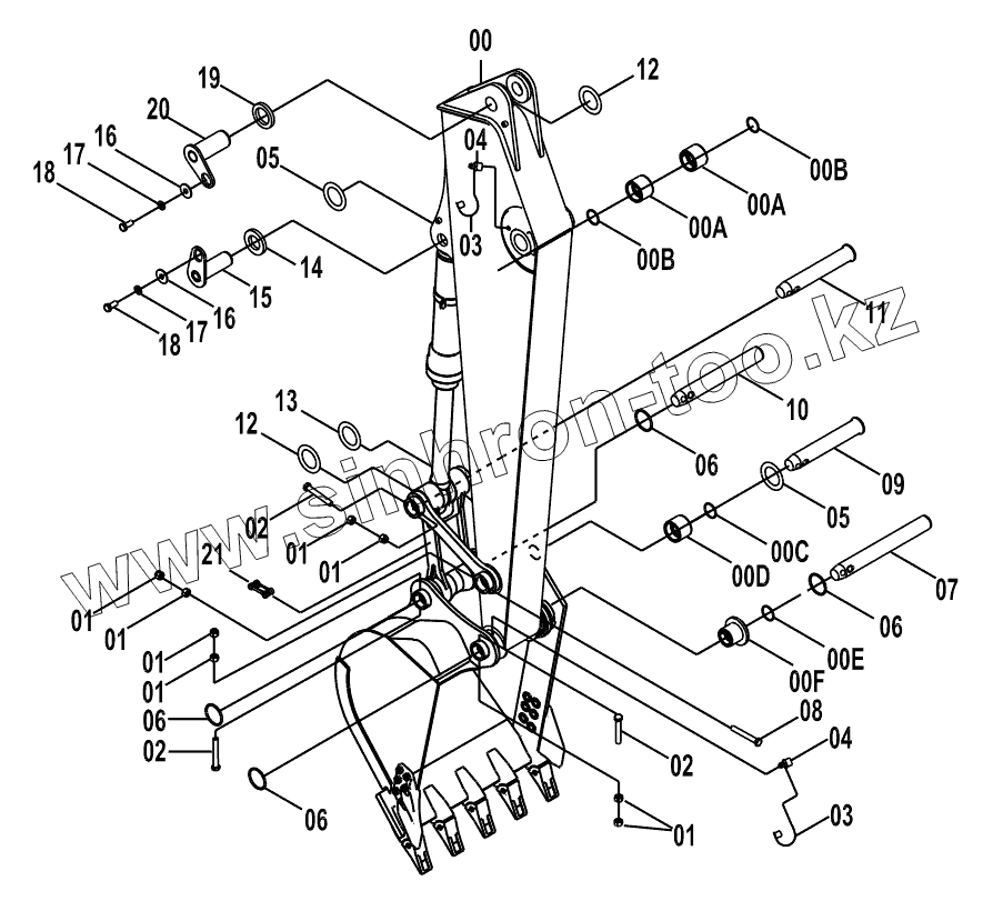
32E0783(B) ARM ASS`Y
32E0783(C) LINKAGE
32E0866 000 IMPLEMENT SYSTEM
32E0866(A) BOOM ASS`Y
32E0866(B) ARM ASS`Y
32E0866(C) LINKAGE ASS`Y
43C0270 002 LINK
00C0392 000 GREASE LINES
43C1707 000 BUCKET AS
43C0343 001 BUCKET
43C0855 000 BUCKET AS
33E0082 001 UNDERCARRIAGE SYSTEM
33E0082(A) TRACK FRAME
33E0082(B) SWING BEARING
33E0082(C) LOWER ROLLER
33E0082(D) TENSION DEVICE
33E0082(E) SPROCKET
33E0091 001 UNDERCARRIAGE SYSTEM
33E0091(A) TRACK FRAME
33E0091(B) SWING BEARING
33E0091(C) LOWER ROLLER
33E0091(D) TENSION DEVICE
33E0091(E) SPROCKET
25C0063 000 TRACK AS
44C0640 001 TENSIONER
41E0376 001 CAB AS
47C1052 001 CAB (WITH DECORATION)
47C1153 000 CABIN ASSY
47C1153(A) CABIN ASSY
47C1153(B) CABIN ASSY
47C1153(C) CABIN ASSY
47C1153(D) CABIN ASSY
47C1153(E) CABIN ASSY
47C1154 001 DECORATION AS
47C1075 002 FLOOR PLATE AS
47C1074 001 SEAT AS
34C1389 001 CONSOLE AS-RH
34C1388 001 CONSOLE AS-LH
47C1048 001 SEAT
44E0299 012 ENGINE HOOD AS
44E0299(A) ENGINE HOOD AS
44E0299(B) ENGINE HOOD AS
44E0299(C) ENGINE HOOD AS
44E0299(D) ENGINE HOOD AS
44E0299(E) ENGINE HOOD AS
44E0299(F) ENGINE HOOD AS
44E0299(G) ENGINE HOOD AS
44E0299(H) COUNTERWEIGHT SUPPORT
27C0312 001 TOOL KIT
48C0848 002 ENGINE HOOD
48C0854 001 DOOR-LH
48C1209 000 DOOR-LH
48C0853 001 DOOR-LH
48C0855 000 DOOR-RH
47E0432 002 ATTACHMENT AND OIL SPECIFICATION
00
00A
00A
00B
00B
00C
00D
00E
00F
02
02
02
03
03
04
04
05
05
06
06
06
06
07
08
09
10
11
12
12
13
14
15
16
16
17
17
18
18
19
20
21
Позиция на иллюстрации
Заводской номер детали
Название детали
00
43C0272
ARM ASS`Y
00A
55A0642
Гильза
00B
13B0260
Кольцо пылезащитное
00C
13B0258
Кольцо
00D
55A0643
Гильза
00E
13B0259
Кольцо пылезащитное
00F
55A0646
Гильза
02
01B0497
BOLT
03
86A0258
Защита
04
10B0014
Ниппель
05
28C0057
Shim
06
12B0513
Кольцо круглого сечения
07
60A0384
Палец
08
01B0496
BOLT
09
60A0510
Палец
10
60A0796
Палец
11
60A0398
Палец
12
28C0042
Шайба регулировочная
13
28C0024
Шайба регулировочная
14
15A0697
Пластина
15
11D0637
PIN
16
12A0487
Пластина
17
06B0016
WASHER
18
00B0231
Болт
19
15A0695
Пластина
20
11D0635
PIN
21
43C0270
LINK
Содержащиеся в справочниках-каталогах запасные части и детали не предлагаются к продаже, а носят исключительно информационный характер
Дополнительная информация
×
Название:
Номер:
Примечание: