Каталог запасных частей к технике: LiuGong CLG-920E. 47C1898 CABIN ASSY (B)
1
2
2
2
2
2
3
3
3
3
3
4
4
4
4
4
5
6
7
8
9
10
11
12
12
13
14
15
15
15
16
16
16
17
17
17
17
18
19
20
21
22
23
24
25
26
27
28
29
30
31
32
33
34
35
36
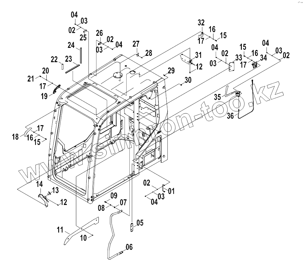
| Позиция на иллюстрации | Заводской номер детали | Название детали | |
|---|---|---|---|
| 1 | 26A3815 | Clamp | |
| 2 | 06B0024 | WASHER | |
| 3 | 06B0003 | Шайба | |
| 4 | 00B0021 | BOLT | |
| 5 | 86A1118 | Cover | |
| 6 | 35A1875 | HANDRAIL | |
| 7 | 06B0001 | WASHER | |
| 8 | 06B0002 | Шайба | |
| 9 | 00B0012 | BOLT | |
| 10 | 04B0106 | Винт | |
| 11 | 86A1190 | Cover | |
| 12 | 04B0056 | Винт | |
| 13 | 23D2030 | MOUNTING BRACKET | |
| 14 | 21A7537 | Plate | |
| 15 | 00B0075 | BOLT | |
| 16 | 06B0219 | Шайба | |
| 17 | 06B0005 | WASHER | |
| 18 | 27A1263 | BRACKET-RH | |
| 19 | 22C0670 | BRACKET-LH | |
| 20 | 00B0006 | Washer | |
| 21 | 04B0263 | SCREW | |
| 22 | 84A1755 | PAD | |
| 23 | 19A0567 | Plate | |
| 24 | 19A0566 | Plate | |
| 25 | 35C1003 | BLOCK | |
| 26 | 35C1004 | BLOCK | |
| 27 | 86A1847 | HOOK | |
| 28 | 04B0182 | Винт | |
| 29 | 60A2091 | PIN | |
| 30 | 03B0053 | NUT | |
| 31 | 47C1888 | ASSISTOR | |
| 32 | 21A7536 | Plate | |
| 33 | 19A3399 | Plate | |
| 34 | 47C1879 | LOCK | |
| 35 | 47C1880 | HANDLE | |
| 36 | 47C1881 | ROPE |
Содержащиеся в справочниках-каталогах запасные части и детали не предлагаются к продаже, а носят исключительно информационный характер