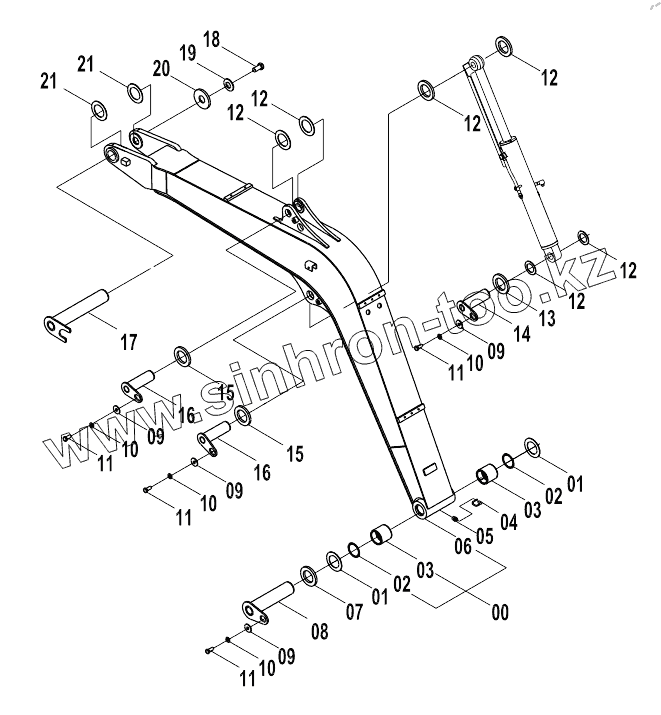
Каталог запасных частей к технике: LiuGong CLG-904С. BOOM
43С0278
1
1
2
2
3
3
4
5
6
7
8
9
9
9
9
10
10
10
10
11
11
11
11
12
12
12
12
12
12
13
14
15
15
16
16
17
18
19
20
21
21
| Позиция на иллюстрации | Заводской номер детали | Название детали | |
|---|---|---|---|
| 43С0278 | 43С0278 | BOOM | |
| 1 | 28С0035 | WASHER | |
| 2 | 13В0292 | DUST RING | |
| 3 | 55А0722 | STEER SLEEVE | |
| 4 | 86А0258 | BOOT | |
| 5 | 10В0014 | Ниппель | |
| 6 | 21D0206 | BOOM | |
| 7 | 14А1500 | PLATE | |
| 8 | 11D0382 | PIN | |
| 9 | 06В0059 | Washer | |
| 10 | 06В0007 | Шайба | |
| 11 | 00В0031 | Болт | |
| 12 | 28С0033 | WASHER | |
| 13 | 14А3632 | PLATE | |
| 14 | 11D0396 | PIN | |
| 15 | 14А1672 | PLATE | |
| 16 | 11D0241 | PIN | |
| 17 | 11D0240 | PIN | |
| 18 | 00В0439 | BOLT | |
| 19 | 06В0220 | WASHER | |
| 20 | 56А0240 | WASHER | |
| 21 | 28С0034 | WASHER |
Содержащиеся в справочниках-каталогах запасные части и детали не предлагаются к продаже, а носят исключительно информационный характер