Каталог запасных частей к технике: LiuGong CLG-904С. AIR CONDITONER (2)
1
2
2
3
4
5
5
5
5
5
5
5
6
6
6
6
6
6
6
7
7
7
7
7
8
9
10
11
12
13
13
14
14
15
15
16
17
18
18
19
19
20
21
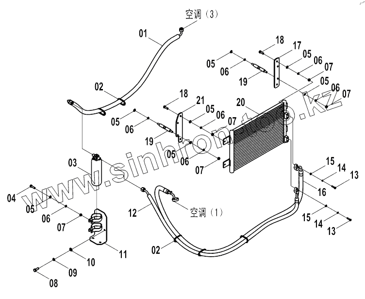
| Позиция на иллюстрации | Заводской номер детали | Название детали | |
|---|---|---|---|
| 1 | 46С0810 | HOSE | |
| 2 | 37В0004 | Соединения блокировочного кабеля | |
| 3 | 46С0573 | RECEIVER | |
| 4 | 00В0020 | Болт | |
| 5 | 06В0005 | Шайба | |
| 6 | 06В0006 | Шайба | |
| 7 | 03В0021 | Гайка | |
| 8 | 00В0012 | Болт | |
| 9 | 06В0002 | Шайба стопорная | |
| 10 | 06В0001 | Шайба | |
| 11 | 00D0840 | RECEIVER | |
| 12 | 46С1322 | HOSE | |
| 13 | 00В0023 | Болт | |
| 14 | 06В0003 | Шайба | |
| 15 | 06В0024 | Сальник | |
| 16 | 46С1318 | DISCHARGE | |
| 17 | 11А1969 | PLATE | |
| 18 | 00В0085 | Болт | |
| 19 | 88А0441 | SCREW | |
| 20 | 46С1431 | CONDENSER | |
| 21 | 11А1852 | PLATE |
Содержащиеся в справочниках-каталогах запасные части и детали не предлагаются к продаже, а носят исключительно информационный характер